HT121 (Mechanical20111025) - 第51页
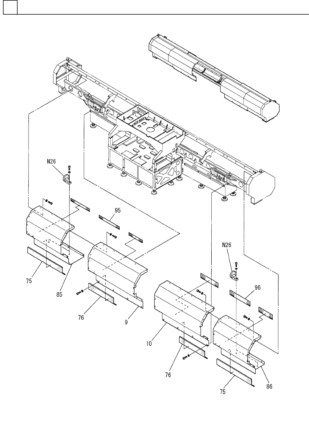
PART No. イラスト No. REF No. PART NAME REMARKS Q'TY 2 カバー部(Z 軸安全BOX3) COVER SECT. (Z-AXIS SAFETY BOX-3) 部 品 名 品 番 個数 備 考 R 1 R 2 1 9 108115207507 FRONT COVER カハ ゙ー(FRONT) 1 10 108115207607 FRONT COVER カバー(FRONT) 2 75…

カバー部(Z軸安全BOX3)
COVER SECT.(Z-AXIS SAFETY BOX-3)
2
F10811-51-000-AL-3
M29

PART No.
イラスト
No.
REF
No.
PART NAME
REMARKS
Q'TY
2
カバー部(Z軸安全BOX3)
COVER SECT.(Z-AXIS SAFETY BOX-3)
部 品 名 品 番 個数
備 考
R
1
R
2
19 108115207507
FRONT COVER カハ
゙ー(FRONT)
1
10 108115207607
FRONT COVER カバー(FRONT)
2
75 108115107501
SHEET シート
276 108115107601
SHEET シート
185 108115108504
FRONT COVER カバー(
FRONT)
1
86 108115108604
FRONT COVER カバー(FRONT)
1
95 1081107080
LABEL ラベル
196 1081107081
LABEL ラヘ
゙ル
CTAM1
4N26 N348CTAM1T
CLAMP クランフ
゚
M30
F10811-51-000-AL-3

カバー部(Z軸安全BOX4)
COVER SECT.(Z-AXIS SAFETY BOX-4)
2
F10811-51-000-AL-4
M31