HT121 (Mechanical20111025) - 第55页
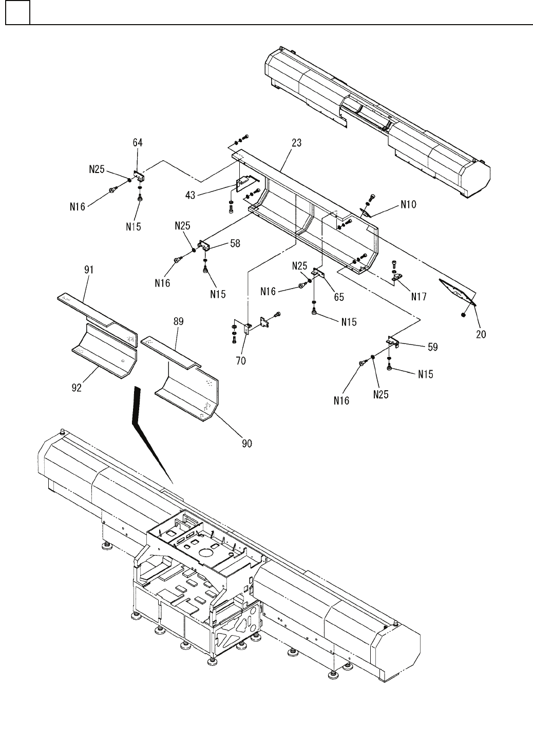
PART No. イラスト No. REF No. PART NAME REMARKS Q'TY 2 カバー部(Z 軸安全BOX5) COVER SECT. (Z-AXIS SAFETY BOX-5) 部 品 名 品 番 個数 備 考 R 1 R 2 1 20 108115102002 PANEL ハ ゚ネル 1 23 108115102302 REAR COVER カバー(REAR) 1 43 108115104303 …

カバー部(Z軸安全BOX5)
COVER SECT.(Z-AXIS SAFETY BOX-5)
2
F10811-51-000-AL-5
M33

PART No.
イラスト
No.
REF
No.
PART NAME
REMARKS
Q'TY
2
カバー部(Z軸安全BOX5)
COVER SECT.(Z-AXIS SAFETY BOX-5)
部 品 名 品 番 個数
備 考
R
1
R
2
120 108115102002
PANEL ハ
゚ネル
1
23 108115102302
REAR COVER カバー(REAR)
1
43 108115104303
COVER(LEFT) カバー(LEFT)
158 108115105801
BRACKET(L) フ
゙ラケット(L)
159 108115105901
BRACKET(R) ブラケット
(R)
1
64 108115106401
BRACKET(L) ブラケット(L)
1
65 108115106501
BRACKET(R) ブラケット(R)
170 1081151070
STAY ステー
189 1081151089
SHEET シート
1
90 1081151090
SHEET シート
191 1081151091
SHEET シート
192 1081151092
SHEET シート
A-174-1
1
N10 N980A1741
DRAWER PULL トッテ
22RF602C-1
4
N15 N50022RF-016
BEARING ベアリング
22RF603C-1
4N16 N50022RF-017
BEARING ベアリング
C-158-3
1N17 N980C1583
MAGNETIC CATCH マク
゙ネットキャッチ
CBW6
4
N25 N560CBW6
WASHER ザガネ
M34
F10811-51-000-AL-5

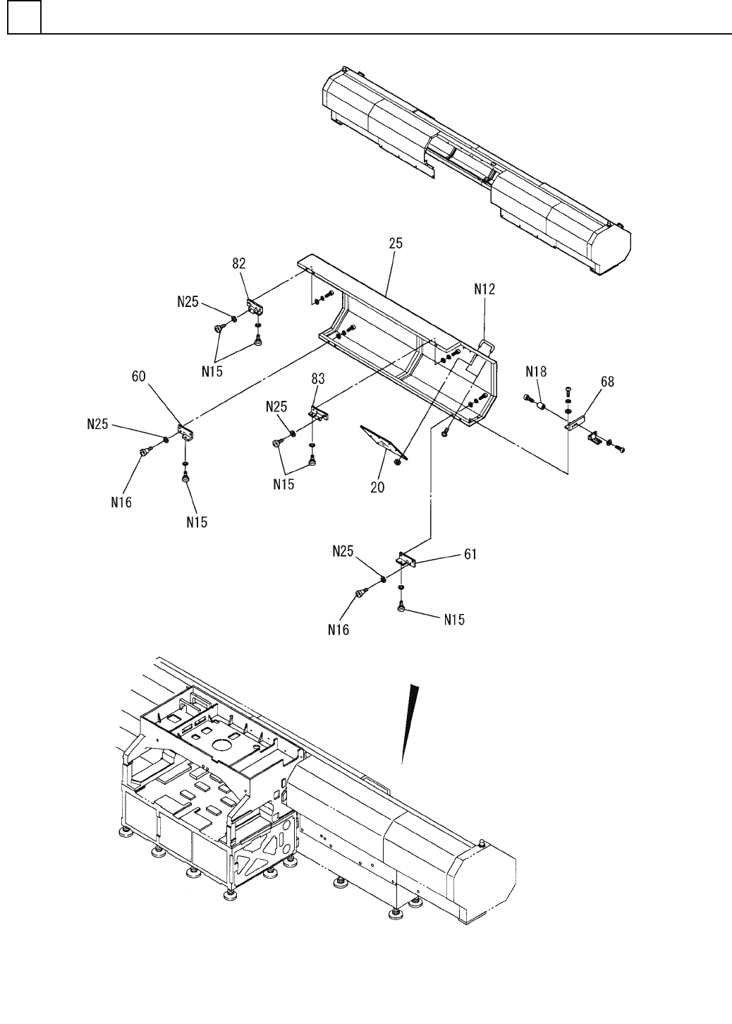
カバー部(Z軸安全BOX6)
COVER SECT.(Z-AXIS SAFETY BOX-6)
2
F10811-51-000-AL-6
M35