HT121 (Mechanical20111025) - 第62页
X-Yテ ーブル 部(基板搬送 部1) X-Y TABLE S ECT.(P.C.B.TRA NSFER SECT.- 1) 3 F10811-04-100-AK-1 M41

PART No.
イラスト
No.
REF
No.
PART NAME
REMARKS
Q'TY
2
カバー部(Z軸安全BOX8)
COVER SECT.(Z-AXIS SAFETY BOX-8)
部 品 名 品 番 個数
備 考
R
1
R
2
127 108115200803
COVER カハ
゙ー
2
28 1081152009
PLATE プレート
1
29 108115201001
COVER カバー
184 108115207003
COVER カハ
゙ー
M5X8,+,STEEL,Z.C.T
24N 1 XST5+8FY
TRUSS HEAD SCREW トラスコネシ
゙
5,B-TYPE,STEEL,Z.C.T
24
N 2 XWC5BFY
TOOTHED LOCK WASHER ハツキザガネ
4715KL-05W-B20-P00 S
2
N 7 N2384715-093
FAN WITH MOTOR ファンモータ
PG-47-02(8130)
4N 8 N238PG47-091
COVER(FAN) カハ
゙ー(ファン)
M4X50,+,STEEL,Z.C.T
4N 9 XST4+50FY
TRUSS HEAD SCREW トラスコネシ
゙
C-30-SG-30A
1
N24 N980C30SG30A
GROMMET グロメット
M40
F10811-51-000-AL-8

X-Yテーブル部(基板搬送部1)
X-Y TABLE SECT.(P.C.B.TRANSFER SECT.-1)
3
F10811-04-100-AK-1
M41

PART No.
イラスト
No.
REF
No.
PART NAME
REMARKS
Q'TY
3
X-Yテーブル部(基板搬送部1)
X-Y TABLE SECT.(P.C.B.TRANSFER SECT.-1)
部 品 名 品 番 個数
備 考
R
1
R
2
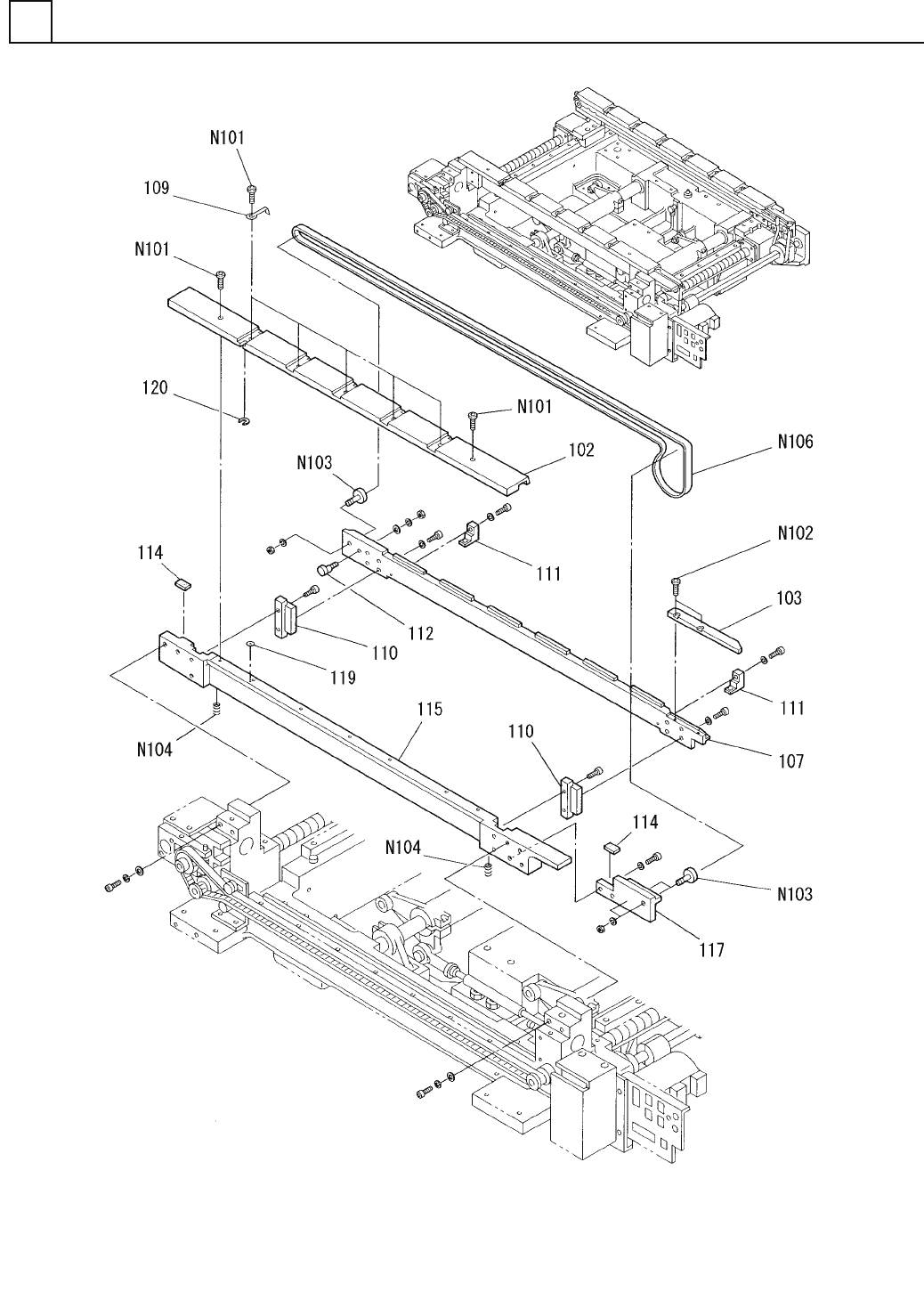
1 1081104100
P.C BOARD TRANSFER UNIT キバ
ンハンソウユニット
1
102 108110410204
RAIL(UPPER) レール(アッパー)
1
103 108110410301
GUIDE ガイド
1107 108110410704
RAIL レール
5109 104674816001
SPRING ハ
゙ネ
2
110 1081104110
LINEAR MOTION UNIT リニアモーションユニット
2
111 108110411101
BLOCK ブロック
1112 108110411201
PIN ヒ
゚ン
2114 108110411401
CUSHION クッション
1
115 108110411504
RAIL(MAIN) レール(メイン)
1117 1081104117
BLOCK ブロック
1119 1081104119
TARGET ターケ
゙ット
1
120 108110412001
COLLAR カラー
SP4X8,BN1206-1.0
7
N101
N986YYYY-764
BOLT ボルト(ゴクテイトウロッカクアナツキ)
M3X6
2
N102
N986YYYY-779
BOLT ボルト
MB022000
3
N103
N648MB022000
PULLEY フ
゚ーリー
WL4-15
2
N104
N986WL415
SPRING バネ
TA-4NBR/F4.5WX1100
1
N106
N641TA4N1100
BELT ベルト
M42
F10811-04-100-AK-1