HT121 (Mechanical20111025) - 第64页
X-Yテ ーブル 部(基板搬送 部2) X-Y TABLE S ECT.(P.C.B.TRA NSFER SECT.- 2) 3 F10811-04-100-AK-2 M43

PART No.
イラスト
No.
REF
No.
PART NAME
REMARKS
Q'TY
3
X-Yテーブル部(基板搬送部1)
X-Y TABLE SECT.(P.C.B.TRANSFER SECT.-1)
部 品 名 品 番 個数
備 考
R
1
R
2
1 1081104100
P.C BOARD TRANSFER UNIT キバ
ンハンソウユニット
1
102 108110410204
RAIL(UPPER) レール(アッパー)
1
103 108110410301
GUIDE ガイド
1107 108110410704
RAIL レール
5109 104674816001
SPRING ハ
゙ネ
2
110 1081104110
LINEAR MOTION UNIT リニアモーションユニット
2
111 108110411101
BLOCK ブロック
1112 108110411201
PIN ヒ
゚ン
2114 108110411401
CUSHION クッション
1
115 108110411504
RAIL(MAIN) レール(メイン)
1117 1081104117
BLOCK ブロック
1119 1081104119
TARGET ターケ
゙ット
1
120 108110412001
COLLAR カラー
SP4X8,BN1206-1.0
7
N101
N986YYYY-764
BOLT ボルト(ゴクテイトウロッカクアナツキ)
M3X6
2
N102
N986YYYY-779
BOLT ボルト
MB022000
3
N103
N648MB022000
PULLEY フ
゚ーリー
WL4-15
2
N104
N986WL415
SPRING バネ
TA-4NBR/F4.5WX1100
1
N106
N641TA4N1100
BELT ベルト
M42
F10811-04-100-AK-1

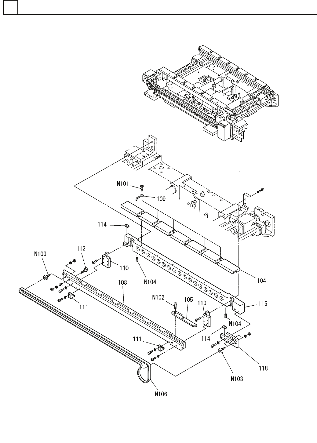
X-Yテーブル部(基板搬送部2)
X-Y TABLE SECT.(P.C.B.TRANSFER SECT.-2)
3
F10811-04-100-AK-2
M43

PART No.
イラスト
No.
REF
No.
PART NAME
REMARKS
Q'TY
3
X-Yテーブル部(基板搬送部2)
X-Y TABLE SECT.(P.C.B.TRANSFER SECT.-2)
部 品 名 品 番 個数
備 考
R
1
R
2
1104 108110410401
RAIL(UPPER) レール
(アッパー)
1
105 108110410501
GUIDE ガイド
1
108 108110410804
RAIL レール
6109 104674816001
SPRING ハ
゙ネ
2110 1081104110
LINEAR MOTION UNIT リニアモーションユニット
2
111 108110411101
BLOCK ブロック
1
112 108110411201
PIN ピン
2114 108110411401
CUSHION クッション
1116 1081104116
RAIL(MAIN) レール(
メイン)
1
118 1081104118
BLOCK ブロック
SP4X8,BN1206-1.0
6
N101
N986YYYY-764
BOLT ボルト(ゴクテイトウロッカクアナツキ)
M3X6
2
N102
N986YYYY-779
BOLT ホ
゙ルト
MB022000
3
N103
N648MB022000
PULLEY プーリー
WL4-15
2
N104
N986WL415
SPRING バネ
TA-4NBR/F4.5WX1100
1
N106
N641TA4N1100
BELT ベルト
M44
F10811-04-100-AK-2