HT121 (Mechanical20111025) - 第65页
PART No. イラスト No. REF No. PART NAME REMARKS Q'TY 3 X-Yテーブル 部(基板搬送部 2) X-Y TABLE S ECT.(P.C.B.TRA NSFER SECT.- 2) 部 品 名 品 番 個数 備 考 R 1 R 2 1 104 108110410401 RAIL(UPPER) レール (アッパー) 1 105 108110410501 GUIDE ガイド 1 …

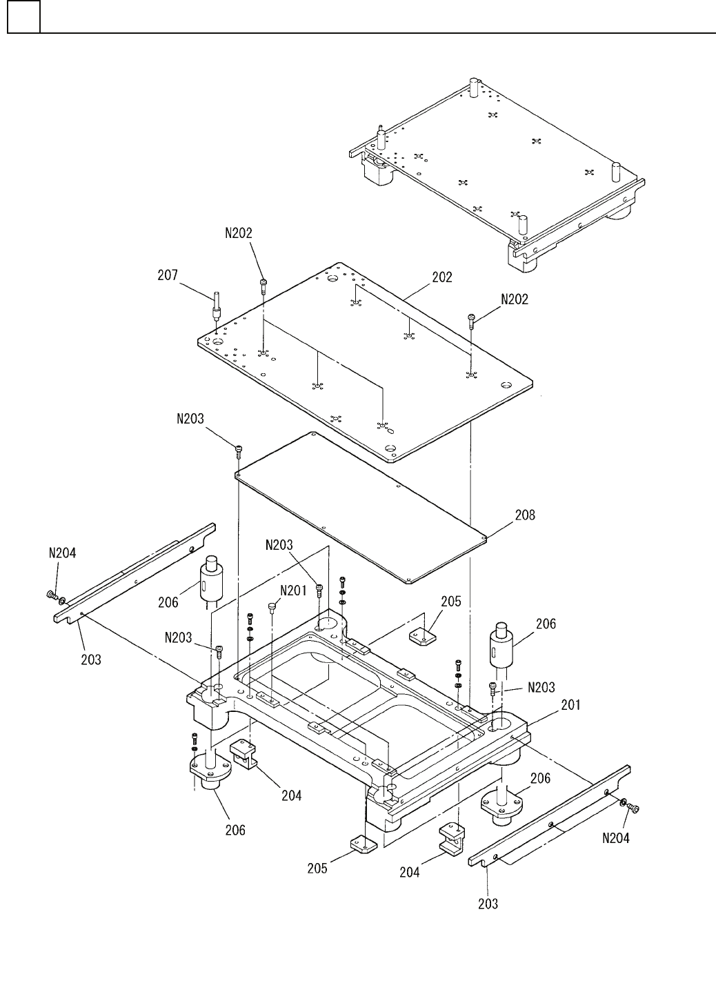
X-Yテーブル部(基板搬送部2)
X-Y TABLE SECT.(P.C.B.TRANSFER SECT.-2)
3
F10811-04-100-AK-2
M43

PART No.
イラスト
No.
REF
No.
PART NAME
REMARKS
Q'TY
3
X-Yテーブル部(基板搬送部2)
X-Y TABLE SECT.(P.C.B.TRANSFER SECT.-2)
部 品 名 品 番 個数
備 考
R
1
R
2
1104 108110410401
RAIL(UPPER) レール
(アッパー)
1
105 108110410501
GUIDE ガイド
1
108 108110410804
RAIL レール
6109 104674816001
SPRING ハ
゙ネ
2110 1081104110
LINEAR MOTION UNIT リニアモーションユニット
2
111 108110411101
BLOCK ブロック
1
112 108110411201
PIN ピン
2114 108110411401
CUSHION クッション
1116 1081104116
RAIL(MAIN) レール(
メイン)
1
118 1081104118
BLOCK ブロック
SP4X8,BN1206-1.0
6
N101
N986YYYY-764
BOLT ボルト(ゴクテイトウロッカクアナツキ)
M3X6
2
N102
N986YYYY-779
BOLT ホ
゙ルト
MB022000
3
N103
N648MB022000
PULLEY プーリー
WL4-15
2
N104
N986WL415
SPRING バネ
TA-4NBR/F4.5WX1100
1
N106
N641TA4N1100
BELT ベルト
M44
F10811-04-100-AK-2

X-Yテーブル部(基板サポートプレート部)
X-Y TABLE SECT.(P.C.B.SUPPORT PLATE SECT.)
3
F10811-04-200-AD
M45