HT121 (Mechanical20111025) - 第75页
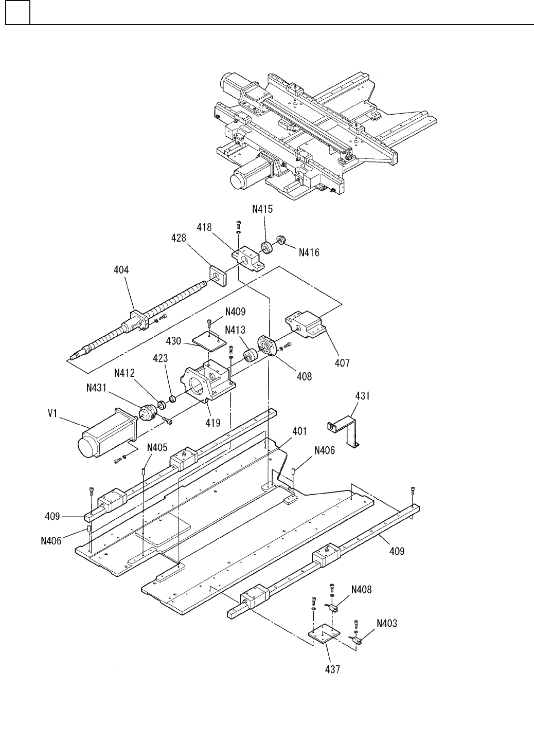
PART No. イラスト No. REF No. PART NAME REMARKS Q'TY 3 X-Yテ ーブル 部(X-Y軸 駆動部1 ) X-Y TABLE S ECT,(X-Y AXIS DRIVING SECT .-1) 部 品 名 品 番 個数 備 考 R 1 R 2 1 1081104400 X-Y-AXIS UNIT X-Y ジクユニット 1 401 108110440107 BASE(TABLE) ヘ…

X-Yテーブル部(X-Y軸駆動部1)
X-Y TABLE SECT,(X-Y AXIS DRIVING SECT.-1)
3
F10811-04-400-AL_A-1
M53

PART No.
イラスト
No.
REF
No.
PART NAME
REMARKS
Q'TY
3
X-Yテーブル部(X-Y軸駆動部1)
X-Y TABLE SECT,(X-Y AXIS DRIVING SECT.-1)
部 品 名 品 番 個数
備 考
R
1
R
2
1 1081104400
X-Y-AXIS UNIT X-Y
ジクユニット
1
401 108110440107
BASE(TABLE) ベース(テーブル)
1
404 108110440403
BALL SCREW ボールネジ
1407 108110440703
HOUSING ハウシ
゙ング
1408 108110440804
PLATE プレート
1
409 108110440902
GUIDE ガイド
1
418 108110441806
HOUSING ハウジング
1419 108110441907
BRACKET(MOTOR) ブ
ラケット(モータ)
1423 108110442302
COLLAR カラー
1
428 1081104428
CUSHION クッション
1430 108110443002
COVER カバー
1431 108110443103
BRACKET フ
゙ラケット
1
437 108110443701
BRACKET ブラケット
P914SA1
1
N403
N310P914SA1
SENSOR センサ
MSY6-10
1
N405
N986MSY610
PARALLEL PIN ヘイコウピン
MST6-10
4
N406
N986MST610
PARALLEL PIN ヘイコウヒ
゚ン
P914S1
1
N408
N310P914S1
SENSOR センサ
M4X6,+,STEEL,Z.C.T
2
N409
XSS4+6FY
FLUSH HEAD SCREW サラコネジ
WBK15L-01
1
N412
N560WBK15L01
LOCK-NUT ロックナット
7302BTDFCP5P5
1
N413
XLLN7302-093
BEARING ベ
アリング
6202ZZCMP5
1
N415
XLCN6202-119
BALL BEARING ボールベアリング
FU02SC
1
N416
XNRNFU02SC
LOCK-NUT ロックナット
SFC-050SA-19B-12B
1
N431
N644SFC0-179
COUPLING カッフ
゚リング
S
1V 1 N610117422AA
MOTOR モータ
M54
F10811-04-400-AL_A-1

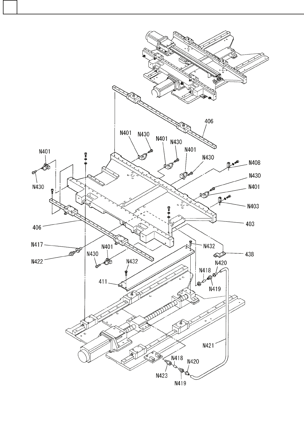
X-Yテーブル部(X-Y軸駆動部2)
X-Y TABLE SECT.(X-Y AXIS DRIVING SECT.-2)
3
F10811-04-400-AL_A-2
M55