HT121 (Mechanical20111025) - 第79页
PART No. イラスト No. REF No. PART NAME REMARKS Q'TY 3 X-Yテ ーブル 部(X-Y軸 駆動部3 ) X-Y TABLE S ECT.(X-Y AXIS DRIVING SECT .-3) 部 品 名 品 番 個数 備 考 R 1 R 2 1 404 108110440403 BALL SCREW ボ ールネジ 1 405 108110440507 BRACKET(MOTOR…

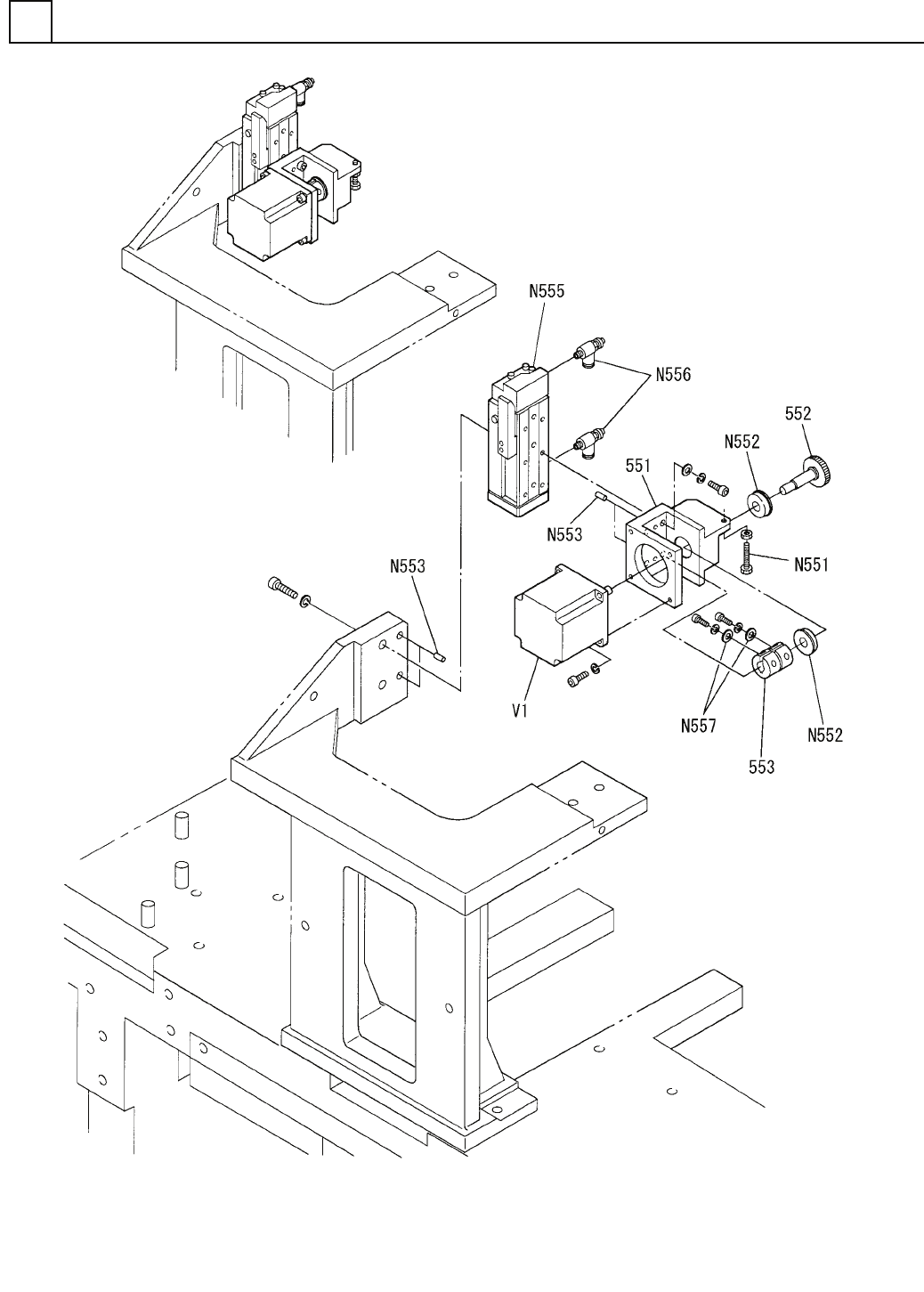
X-Yテーブル部(X-Y軸駆動部3)
X-Y TABLE SECT.(X-Y AXIS DRIVING SECT.-3)
3
F10811-04-400-AL_A-3
M57

PART No.
イラスト
No.
REF
No.
PART NAME
REMARKS
Q'TY
3
X-Yテーブル部(X-Y軸駆動部3)
X-Y TABLE SECT.(X-Y AXIS DRIVING SECT.-3)
部 品 名 品 番 個数
備 考
R
1
R
2
1404 108110440403
BALL SCREW ボ
ールネジ
1
405 108110440507
BRACKET(MOTOR) ブラケット(モータ)
1
408 108110440804
PLATE プレート
1412 108110441203
HOUSING ハウシ
゙ング
1415 108110441502
COVER カハ
゙ー
1
416 108110441604
HOUSING ハウジング
1
423 108110442302
COLLAR カラー
1427 1081104427
CUSHION クッション
2428 1081104428
CUSHION クッション
1
430 108110443002
COVER カバー
MSY6-10
1
N405
N986MSY610
PARALLEL PIN ヘイコウピン
MST6-10
4
N406
N986MST610
PARALLEL PIN ヘイコウヒ
゚ン
M4X6,+,STEEL,Z.C.T
2
N409
XSS4+6FY
FLUSH HEAD SCREW サラコネジ
SFC-040SA-12B-19B
1
N411
N644SFC0-159
COUPLING カップリング
WBK15L-01
1
N412
N560WBK15L01
LOCK-NUT ロックナット
7302BTDFCP5P5
1
N413
XLLN7302-093
BEARING ベ
アリング
6202ZZCMP5
1
N415
XLCN6202-119
BALL BEARING ボールベアリング
FU02SC
1
N416
XNRNFU02SC
LOCK-NUT ロックナット
PB4
1
N418
N431PB4
FITTING ツギテ
PA4
1
N419
N433PA4
FITTING ツキ
゙テ
AL4
1
N420
N434AL4
INSERT RING インサートリング
PD4 M6X1.0
1
N423
N431PD4M-109
FITTING ニップル
NYLON4
1
N424
N434SH0W-048
TUBE チューフ
゙
M6X16,STEEL,Z.C.T
2
N425
XVEN6M16FYZ
HEX. SOCKET BUTTON HEAD BOL ロッカクアナツキホ
゙タンボルト
M4X6
4
N432
N986YYYY-468
SCREW ネジ(ゴクテイトウロッカクアナツキ)
MUMS082A1A0S S
1V 2 308114293101
MOTOR モータ
M58
F10811-04-400-AL_A-3

X-Yテーブル部(自幅駆動部)
X-Y TABLE SECT.(AUTO RAIL DRIVING SECT.)
3
F10811-04-550-AD
M59