HT121 (Mechanical20111025) - 第82页
X-Yテーブル 部(配線配管部 ) X-Y TABLE S ECT.(WIRING AN D PIPING SEC T.) 3 F10811-04-600-AL M61

PART No.
イラスト
No.
REF
No.
PART NAME
REMARKS
Q'TY
3
X-Yテーブル部(自幅駆動部)
X-Y TABLE SECT.(AUTO RAIL DRIVING SECT.)
部 品 名 品 番 個数
備 考
R
1
R
2
1 1081104550
DRIVING UNIT クト
゙ウユニット
1
551 1081104551
HOUSING ハウジング
1
552 108110450201
GEAR ギヤ
1553 108110450301
COUPLING カッフ
゚リング
STBB4-25
1
N551
N986STBB425
BOLT ボ
ルト
F698ZZ
2
N552
XLCNF698ZZ
BALL BEARING ボールベアリング
MSY4-10
4
N553
N986MSY410
PARALLEL PIN ヘイコウピン
MXQ12L-40CSR-A93V
1
N555
N401MXQ1-F59
TABLE テーフ
゙ル
AS1201FG-M5-04
2
N556
N406AS12-094
SPEED CONTROLLER スピード
コントローラ
3,STEEL,Z.C.T
2
N557
XWE3FY
ROUND PLAIN WASHER コガタマルヒラザガネ
PK266-02A S
1V 1 3081104990
MOTOR モータ
M60
F10811-04-550-AD

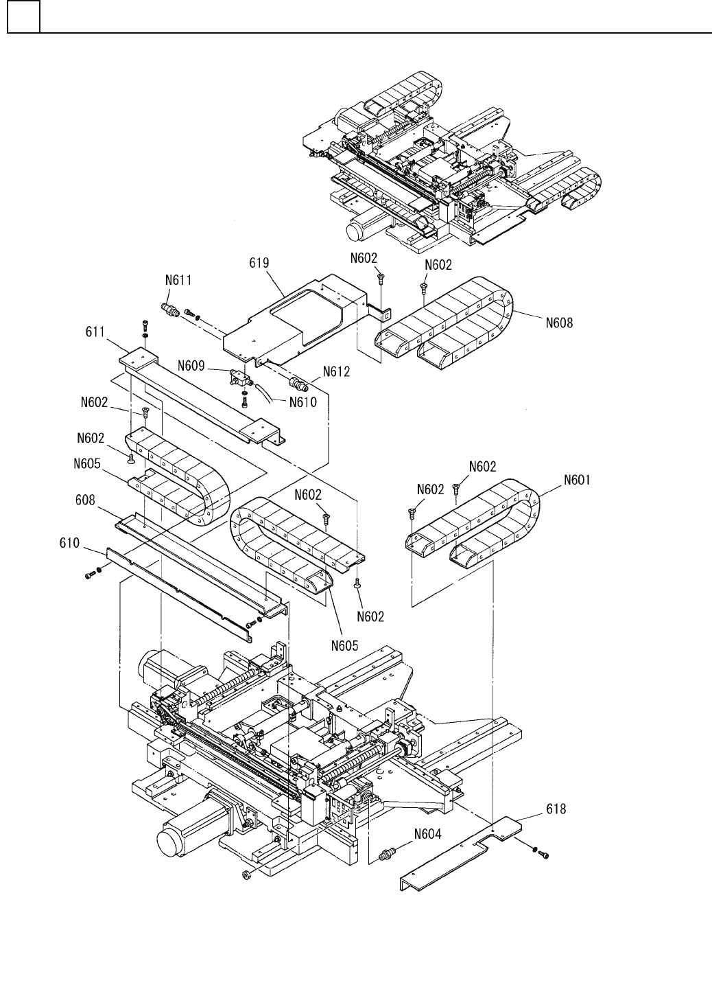
X-Yテーブル部(配線配管部)
X-Y TABLE SECT.(WIRING AND PIPING SECT.)
3
F10811-04-600-AL
M61

PART No.
イラスト
No.
REF
No.
PART NAME
REMARKS
Q'TY
3
X-Yテーブル部(配線配管部)
X-Y TABLE SECT.(WIRING AND PIPING SECT.)
部 品 名 品 番 個数
備 考
R
1
R
2
1 1081104600
WIRING & PIPING UNIT ハイセン
・ハイカンユニット
1
608 108110460803
GUIDE ガイド
1
610 108110461002
DUCT ダクト
1611 108110461103
GUIDE カ
゙イド
1618 108110461802
BRACKET ブラケット
1
619 108110461901
BRACKET ブラケット
07.40.038-21-060.40.1
1
N601
N98607.4-N57
FLEXIBLE DUCT フレキシブルダクト
M3X6,+,STEEL,Z.C.T
16
N602
XSS3+6FY
FLUSH HEAD SCREW サラコネシ
゙
KJE04-00
2
N604
N431KJE0400
FITTING ツキ
゙テ
07.40.038-19-060.40.1
2
N605
N98607.4-N56
FLEXIBLE DUCT フレキシブルダクト
07-64-038-0-21-060.64
1
N608
N9860764-T43
FLEXIBLE DUCT フレキシブルダクト
JSU4
1
N609
N406JSU4
SPEED CONTROLLER スピ
ードコントローラ
J30B0297
1
N610
N434J30B0297
TUBE チューブ
JKC4-01A1.0
1
N611
N406JKC4-136
SPEED CONTROLLER スピードコントローラ
PMF4-01
1
N612
N431PMF401
FITTING ツギテ
M62
F10811-04-600-AL