HT121 (Mechanical20111025) - 第84页
X-Yテーブル部 (基準ピン部 ) X-Y TABLE S ECT.(PIN POSIT IONING SECT. ) 3 F10811-04-700-AG_A M63

PART No.
イラスト
No.
REF
No.
PART NAME
REMARKS
Q'TY
3
X-Yテーブル部(配線配管部)
X-Y TABLE SECT.(WIRING AND PIPING SECT.)
部 品 名 品 番 個数
備 考
R
1
R
2
1 1081104600
WIRING & PIPING UNIT ハイセン
・ハイカンユニット
1
608 108110460803
GUIDE ガイド
1
610 108110461002
DUCT ダクト
1611 108110461103
GUIDE カ
゙イド
1618 108110461802
BRACKET ブラケット
1
619 108110461901
BRACKET ブラケット
07.40.038-21-060.40.1
1
N601
N98607.4-N57
FLEXIBLE DUCT フレキシブルダクト
M3X6,+,STEEL,Z.C.T
16
N602
XSS3+6FY
FLUSH HEAD SCREW サラコネシ
゙
KJE04-00
2
N604
N431KJE0400
FITTING ツキ
゙テ
07.40.038-19-060.40.1
2
N605
N98607.4-N56
FLEXIBLE DUCT フレキシブルダクト
07-64-038-0-21-060.64
1
N608
N9860764-T43
FLEXIBLE DUCT フレキシブルダクト
JSU4
1
N609
N406JSU4
SPEED CONTROLLER スピ
ードコントローラ
J30B0297
1
N610
N434J30B0297
TUBE チューブ
JKC4-01A1.0
1
N611
N406JKC4-136
SPEED CONTROLLER スピードコントローラ
PMF4-01
1
N612
N431PMF401
FITTING ツギテ
M62
F10811-04-600-AL

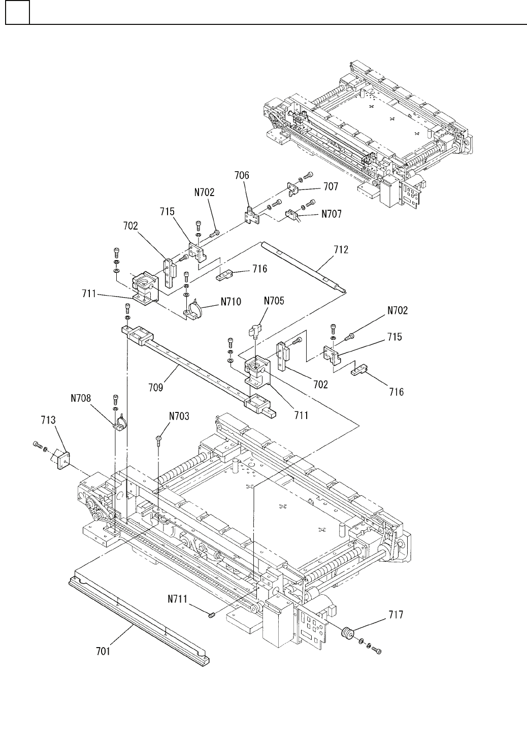
X-Yテーブル部(基準ピン部)
X-Y TABLE SECT.(PIN POSITIONING SECT.)
3
F10811-04-700-AG_A
M63

PART No.
イラスト
No.
REF
No.
PART NAME
REMARKS
Q'TY
3
X-Yテーブル部(基準ピン部)
X-Y TABLE SECT.(PIN POSITIONING SECT.)
部 品 名 品 番 個数
備 考
R
1
R
2
1 1081104700
PIN POSITION UNIT ピンホ
゚ジションユニット
1
701 108110470101
PLATE(GUIDE) プレート(ガイド)
2
702 1081104702
LINEAR MOTION UNIT リニアモーションユニット
1706 1081104706
BRACKET フ
゙ラケット
1707 1081104707
BRACKET ブラケット
1
709 108110470901
LINEAR MOTION UNIT リニアモーションユニット
2
711 108110471103
BLOCK ブロック
1712 108110471201
SHAFT シャフト
1713 108110471302
WASHER ザ
ガネ
2
715 108110471501
BRACKET ブラケット
2716 108110471601
BRACKET ブラケット
1717 1081104717
COLLAR カラー
M3X4,STEEL,Z.C.T
8
N702
XVEN3M4FYZ
HEX. SOCKET BUTTON HEAD BOL ロッカクアナツキボタンボルト
M4X8,STEEL,Z.C.T
4
N703
XVEN4M8FYZ
HEX. SOCKET BUTTON HEAD BOL ロッカクアナツキボタンボルト
NWGM5-30
1
N705
N986NWGM530
KNOB ノブ
P914SA1
1
N707
N310P914SA1
SENSOR センサ
CTAM1
1
N708
N348CTAM1T
CLAMP クランプ
SKM-1
1
N710
N348SKM1
BAND バンド
M4X5,STEEL,Z.C.T
1
N711
XXE4D5FY
HEX. SOCKET SET SCREW ロッカクアナツキトメネジ
M64
F10811-04-700-AG_A