HT121 (Mechanical20111025) - 第86页
基板搬送部( ローダ・アンローダ部 1) P.C.B.TRANS FER SECT.(LOAD ER & UNLOADE R SECT.-1) 4 F10811-05-200-AK-1 M65

PART No.
イラスト
No.
REF
No.
PART NAME
REMARKS
Q'TY
3
X-Yテーブル部(基準ピン部)
X-Y TABLE SECT.(PIN POSITIONING SECT.)
部 品 名 品 番 個数
備 考
R
1
R
2
1 1081104700
PIN POSITION UNIT ピンホ
゚ジションユニット
1
701 108110470101
PLATE(GUIDE) プレート(ガイド)
2
702 1081104702
LINEAR MOTION UNIT リニアモーションユニット
1706 1081104706
BRACKET フ
゙ラケット
1707 1081104707
BRACKET ブラケット
1
709 108110470901
LINEAR MOTION UNIT リニアモーションユニット
2
711 108110471103
BLOCK ブロック
1712 108110471201
SHAFT シャフト
1713 108110471302
WASHER ザ
ガネ
2
715 108110471501
BRACKET ブラケット
2716 108110471601
BRACKET ブラケット
1717 1081104717
COLLAR カラー
M3X4,STEEL,Z.C.T
8
N702
XVEN3M4FYZ
HEX. SOCKET BUTTON HEAD BOL ロッカクアナツキボタンボルト
M4X8,STEEL,Z.C.T
4
N703
XVEN4M8FYZ
HEX. SOCKET BUTTON HEAD BOL ロッカクアナツキボタンボルト
NWGM5-30
1
N705
N986NWGM530
KNOB ノブ
P914SA1
1
N707
N310P914SA1
SENSOR センサ
CTAM1
1
N708
N348CTAM1T
CLAMP クランプ
SKM-1
1
N710
N348SKM1
BAND バンド
M4X5,STEEL,Z.C.T
1
N711
XXE4D5FY
HEX. SOCKET SET SCREW ロッカクアナツキトメネジ
M64
F10811-04-700-AG_A

基板搬送部(ローダ・アンローダ部1)
P.C.B.TRANSFER SECT.(LOADER & UNLOADER SECT.-1)
4
F10811-05-200-AK-1
M65

PART No.
イラスト
No.
REF
No.
PART NAME
REMARKS
Q'TY
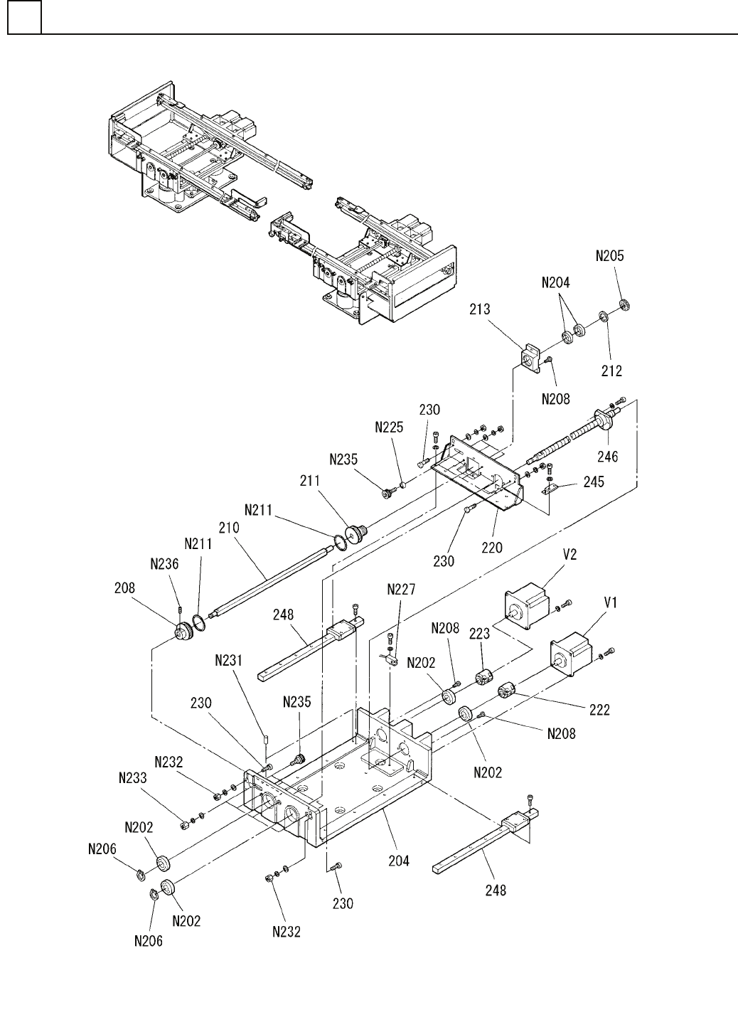
4
基板搬送部(ローダ・アンローダ部1)
P.C.B.TRANSFER SECT.(LOADER & UNLOADER SECT.-1)
部 品 名 品 番 個数
備 考
R
1
R
2
1 1081105200
LOADER & UNLOADER UNIT ロータ
゙アンローダユニット
1
204 108110520408
RIGHT FRAME フレーム(RIGHT)
1
208 108117888301
PULLEY プーリー
1210 108110521001
SHAFT シャフト
1211 108117888401
PULLEY プーリー
1
212 1081104334
COLLAR カラー
1
213 1081105213
HOUSING ハウジング
1220 108110522005
BRACKET フ
゙ラケット
1222 108110522201
COUPLING カップ
リング
1
223 108110522301
COUPLING カップリング
4230 1081105230
PIN ピン
1245 1081105245
DOG FOR SENSOR ト
゙グ
1
246 1081105246
SCREW ネジ
1
248 108110524801
LINEAR MOTION UNIT リニアモーションユニット
6200ZZ
4
N202
XLCN6200ZZ
BALL BEARING ボールベアリング
6803ZZ
2
N204
XLCN6803ZZ
BALL BEARING ボールヘ
゙アリング
FU03SS
1
N205
XNRNFU03SS
LOCK-NUT ロックナット
STW-10
2
N206
XUBNSTW10
SNAP RING トメワ
M3X8,+,STEEL,Z.C.T
8
N208
XST3+8FY
TRUSS HEAD SCREW トラスコネジ
CO0019B
2
N211
N5541BP22AN
O-RING O
リング
WSSM8-5-3
4
N225
N560WSSM853
WASHER ザガネ
P914S1
1
N227
N310P914S1
SENSOR センサ
MS4-10
2
N231
N986MS410
PARALLEL PIN ヘイコウヒ
゚ン
SB-O3-7
2
N232
N986SB037
SPACER スヘ
゚ーサ
SB-O4-8
4
N233
N986SB048
SPACER スペーサ
MB023600
8
N235
N510005368AA
PULLEY プーリー
M4X4,STEEL,Z.C.T
1
N236
XXE4D4FY
HEX. SOCKET SET SCREW ロッカクアナツキトメネシ
゙
PK266-02A S
1
V 1 3081143931
MOTOR モータ
PK566H-NA S
1
V 2 3081143434
MOTOR モータ
M66
F10811-05-200-AK-1