00195170-01 SA trailing cable - 第29页
Replacing the Trailing Cable Unit (IGU S) on X-Series Machines from B-079 [03021065-xx] onwards Service Manual Exchange of the trailing cable SIPLACE HF and X-Series 29 4.5 Inst allation CAUTION: Handle the new tra iling…

Replacing the Trailing Cable Unit (IGUS) on X-Series Machines from B-079 [03021065-xx] onwards
Disassembly
28 Service Manual Exchange of the trailing cable SIPLACE HF and X-Series
X Disconnect the flat ribbon cable (1) from the
head board (2).
X Disconnect the camera cable (3) from the
head board (2).
X Loosen the screws fastening the X-axis trailing
cable clamp (4) and the two clamps (5) on the
back of the gantry.
NOTE: The clamp will remain in pla-
ce
X Only the fastening screws will be
loosened. The clamps for the flat
ribbon cable will remain in place.
X Take care not to lose the contact di-
scs and the spacer bolts and also
mark where they were fitted. These
will need to be correctly replaced
later.
X Disconnect the hoses from the pneumatic dis-
tributor (7).
WARNING: Risk of injury to the
hands
X Use the hose unlocking device to
remove the hose [03047090-xx].
X Loosen the 4 screws (6) fastening the trailing
cable console and carefully remove the com-
plete trailing cable unit from the machine. The
fastening screws are secured with Loctite.

Replacing the Trailing Cable Unit (IGUS) on X-Series Machines from B-079
[03021065-xx] onwards
Service Manual Exchange of the trailing cable SIPLACE HF and X-Series
29
4.5 Installation
CAUTION:
Handle the new trailing cable unit ca-
refully and enlist the help of a second
person if necessary. Make sure that
the flat ribbon cable and the compres-
sed air hoses are not rubbed against
any parts or kinked. Look out for sharp
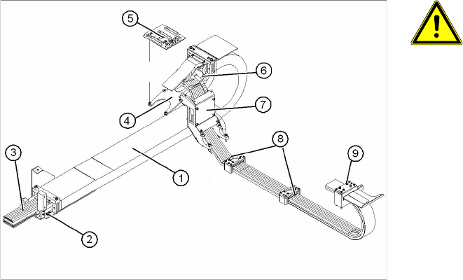
edges.
1. Complete trailing cable unit
2. Mounting block
3. Compressed air hoses (shortened to optimum
length with gauge)
4. Bracket for gantry interface
5. Gantry interface
6. Connection piece for cooling tubes to Y-axis
motor
7. Trailing cable console
8. Clamp on back of gantry
9. X trailing cable clamp
X Carefully bring the new trailing cable (1) into
the correct position. Make sure you do not
twist it.
X Temporarily fasten the ends to the machine
frame (by tying them etc.).
X Fit the gantry interface board (5) onto the hol-
der (4) of the new trailing cable.

Replacing the Trailing Cable Unit (IGUS) on X-Series Machines from B-079 [03021065-xx] onwards
Installation
30 Service Manual Exchange of the trailing cable SIPLACE HF and X-Series
X Fasten the trailing cable console (7) loosely
with a screw.
X Clean the trailing cable contact surface on the
machine base with a dry cloth.
X Starting from the trailing cable console (7), run
all cables and hoses to the relevant connec-
tions:
X Reconnect the head board to the electrical sy-
stem . Observe the correct connector assign-
ment.
X Reconnect the pneumatic distributor to the
compressed air supply. Observe the correct
connector assignment.
X The compressed air hoses need to be shor-
tened to the correct length with the help of the
gauge. See also Section 4.2 Preparing the
Trailing Cable Unit [J 22]They must engage
firmly but should not buckle.
X Screw the clamps (8) and (9) loosely into pla-
ce.
X Check that the power track chain can run alo-
ng the top of the machine base without ob-
struction. Move the Y-axis back and forth to
check this.
X Correct, if necessary, at the trailing cable con-
sole (7) and at the clamps (8) and (9).
X Fix the two clamps (8) and (9) and the trailing
cable console into place (7). Use Loctite 241
locking paint.
X Tighten the trailing cable console (7) fastening
screws crosswise.
X Install the trailing cable mounting block (2) to
the machine base.
Connect the compressed air hoses to the
pneumatic distributor in the machine base
The compressed air hoses are run to the pneuma-
tic distributor in the machine base. The compres-
sed air hoses which are run inside the machine,
need to be cut and then connected with the cable
ties (03049770-01) to the trailing cable unit, at the
correct position (1).
X Place the gauge against the edge of the moun-
ting block and mark the trailing cable compres-
sed air hoses. See also: Section 4.2 Preparing
the Trailing Cable Unit [J 22].