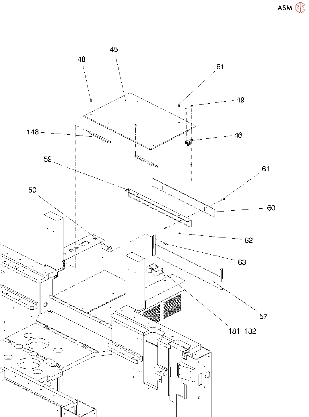
Machine frame SIPLACE 80S20_20211119_095910 - 第11页
Machine frame SIPLACE 80S20 Page 11 / 33 19.11.2021

Machine frame SIPLACE 80S20
Page 10 / 33 19.11.2021

Machine frame SIPLACE 80S20
Page 11 / 33 19.11.2021

Machine frame SIPLACE 80S20
Page 12 / 33 19.11.2021