hdf.pdf - 第69页
HDF 服务手册 4.4 Robot 头:喷嘴 D45SCC-W 1-D00-A0 4.4-4 12. 再次确认平行度。 13. 如再次在规格值以外, 则拧 松螺栓、锁紧螺母,缓解张力。 14. 卸下 A 处的皮带,错开皮带轮和皮带 的位置。 15. 将皮带安装到 A 位置处。 16. 再次确认平行度。 17. 在 NC 轴移动中,旋转喷嘴 90° 。 18. 使百分表与治具侧面相接触。 19. 确认喷嘴 Y 方向的平行度。 = 规格值…

HDF
服务手册
4.4 Robot 头:喷嘴
4.4-3 D45SCC-W1-D00-A0
4.4.2喷嘴平行度调整
喷嘴平行度调整喷嘴平行度调整
喷嘴平行度调整
Unit No.
喷嘴平行度调整
=准备
准备准备
准备=
1. 喷嘴平行调整治具
2. 百分表
3. 磁性表架
►喷嘴平行度调整
喷嘴平行度调整喷嘴平行度调整
喷嘴平行度调整
1. 打开电源,返回原点。
2. 将喷嘴平行调整治具安装到S喷嘴前端上。
3. 将 Y工作台导轨的宽度设置为最小值。
4. 将磁性表架安装到导轨上面,使百分表与治具侧面
接触。
5. 将百分表设置为0。
6. 确认平行度。
=规格值
规格值规格值
规格值=
平行度: 在0.1 mm以内
7. 拆卸喷嘴平行调整治具,安装喷嘴,确认平行度。
=规格值
规格值规格值
规格值=
平行度: 在0.1 mm以内
8. 按同样的方法把喷嘴平行调整治具安装到VS喷嘴
上,确认平行度。
=规格值
规格值规格值
规格值=
平行度: 在0.1 mm以内
9. 拆卸喷嘴平行调整治具,安装VS喷嘴,确认平
行度。
10. 规格值以外时,拧松各个喷嘴的皮带轮螺栓
(3个),调整。
11. 拧紧螺栓。
头正面图
喷
嘴平行
调整治具
皮带轮螺栓
皮
带轮
螺栓
皮带轮
喷嘴平行调整治具

HDF
服务手册
4.4 Robot 头:喷嘴
D45SCC-W1-D00-A0 4.4-4
12. 再次确认平行度。
13. 如再次在规格值以外, 则拧
松螺栓、锁紧螺母,缓解张力。
14. 卸下A处的皮带,错开皮带轮和皮带
的位置。
15. 将皮带安装到A位置处。
16. 再次确认平行度。
17. 在NC轴移动中,旋转喷嘴90°。
18. 使百分表与治具侧面相接触。
19. 确认喷嘴Y方向的平行度。
=规格值
规格值规格值
规格值=
Y方向平行度: 在0.8 mm以内
=确认
确认确认
确认=
只进行Y 方向平行度的确认。
20. 同样确认其他所有的头组件。
头
正面
图
皮带轮螺栓
螺栓
A
部
锁紧螺母
皮带
喷
嘴平行
调整治具
喷嘴平行调整治具

HDF
服务手册
4.5 本体部
4.5-1 D45SCC-W0-100-A0
4.5 本体部
本体部本体部
本体部
Sentence No. D45SCC-W0-100-A0
4.5.1 更换
更换更换
更换 XY 轴电机
轴电机轴电机
轴电机
Unit No.
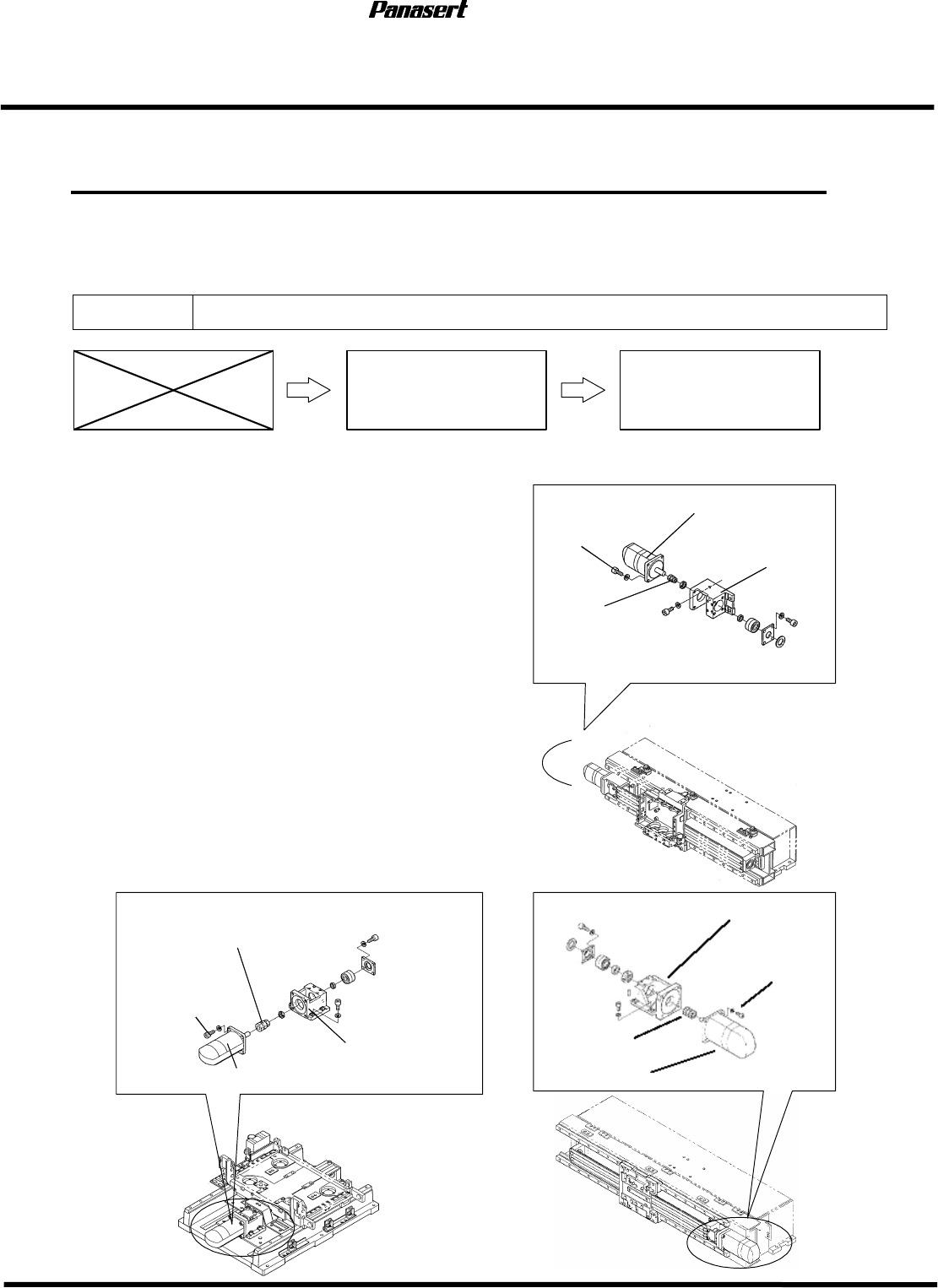
M 尺寸: 1048309200, 1048304100 XL 尺寸: 1081807000, 1081804100
4.5.2 XY
轴原点调整
更换
XY
轴电机
=准备
准备准备
准备=
电
机托架
联轴节
X
轴电
机
电机螺栓
M size
X
L size
电机托架
联轴节
Y
轴电
机
电机螺栓
M
尺寸
电机托架
电机螺栓
联轴节
X
轴电机
1. 聚氯乙烯绝缘带
►更换
更换更换
更换 XY 轴电机
轴电机轴电机
轴电机
1. 打开电源,返回原点。
2. 将主操作盘上的“SERVO MOTOR”(伺服电机)置于
[OFF]。
3. 切断电源。
4. 卸下电机电缆的连接器。
5. 拧松联轴节的电机一侧的锁紧螺母。
6. 卸下电机螺栓(4个),从电机托架上卸下电机。
7. 将新的电机安装到电机托架上。
8. 连接电机的连接器。
9. 拧紧联轴节的电机一侧的锁紧螺母。