hdf.pdf - 第82页
HDF 服务手册 4.8 下部定位 4.8-3 D45SCC-W 4-000-A0 4.8.3 支撑台上下限传感器调整 支撑台上下限传感器调整 支撑台上下限传感器调整 支撑台上下限传感器调整 Unit No. 1048304000 支 撑 台上下限 传 感器 调 整 = 准备 准备 准备 准备 = 1. 4.0 mm 厚基板 2. 0.5 mm 厚基板 ► 支撑台上下限传感器调整 支撑台上下限传感器调整 支撑台上下限传感器调整 支撑台上…

HDF
服务手册
4.8 下部定位
D45SCC-W4-000-A0 4.8-2
4.8.2 支撑台高度调整
支撑台高度调整支撑台高度调整
支撑台高度调整
Unit No. 1048304000
支撑台高度调整
4.8.1
支撑台平面度调整
4.7.1 Y
工作台导轨
高度
调整
=准备
准备准备
准备=
1. 百分表
2. 磁性表架
3. 32 mm 块规
►支撑台高度调整
支撑台高度调整支撑台高度调整
支撑台高度调整
1. 打开电源,返回原点。
2. 卸下所有的支撑销。
3. 使Y工作台自动宽度调整返回原点。
4. 将副操作盘上的“SUPPORT UP”(支撑台上升)置于
[ON]。
=确认
确认确认
确认=
确认支撑台处于上升状态。
5. 将32 mm块规安装到支撑台上的J位置处。
6. 将磁性表架安装到头组件上,使百分表与搬送皮带上面的
J接触。
7. 将百分表设定为0(基准)。
8. 确认块规上面和Y工作台导轨之间的级差。
=规格值
规格值规格值
规格值=
级差:±0.15 mm
9. 如在规格值以外, 拧松螺栓,旋转调整螺丝,调整支撑台
的高度。
10. 再次确认间隙。
11. 按同样的方法确认k ~m、 K~M 的高度。
32 mm
j~m
侧
J~M
侧
支撑台
j
m
l
k
调整螺丝
螺栓
32mm
块规
支撑台
调整螺丝

HDF
服务手册
4.8 下部定位
4.8-3 D45SCC-W4-000-A0
4.8.3 支撑台上下限传感器调整
支撑台上下限传感器调整支撑台上下限传感器调整
支撑台上下限传感器调整
Unit No. 1048304000
支撑台上下限传感器调整
=准备
准备准备
准备=
1. 4.0 mm 厚基板
2. 0.5 mm厚基板
►支撑台上下限传感器调整
支撑台上下限传感器调整支撑台上下限传感器调整
支撑台上下限传感器调整
1. 打开电源,返回原点。
2. 将4.0 mm 厚的基板安装到导轨上面。
=提示
提示提示
提示=
基板尺寸自由。
3. 将副操作盘上的“SUPPORT UP”(支撑台上升)置
于[ON]。
=确认
确认确认
确认=
确认支撑台处于上升状态。
4. 确认上限传感器的LED处于点灯状态。
5. 如不处于点灯状态,调整上限传感器位置。
6. 将副操作盘上的“SUPPORT UP”(支架上升)置于
[OFF]。
=确认
确认确认
确认=
确认支撑台处于下降状态。
7. 卸下4.0 mm厚基板,将0.5 mm厚基板安装到导轨上。
=提示
提示提示
提示=
基板尺寸自由。
8. 将副操作盘上的“SUPPORT UP”(支架上升)置于
[ON]。
9. 确认上限传感器的LED处于点灯状态。
10. 如不处于点灯状态,调整上限传感器位置。
11. 安装4.0 mm厚基板,再次确认。
12. 将副操作盘上的“SUPPORT UP”(支架上升)置于
[OFF]。
13. 确认下限传感器的LED处于点灯状态。
14. 如不处于点灯状态,调整下限传感器位置。
=参考
参考参考
参考=
有关传感器位置请参照“参考手册 / 监控”。
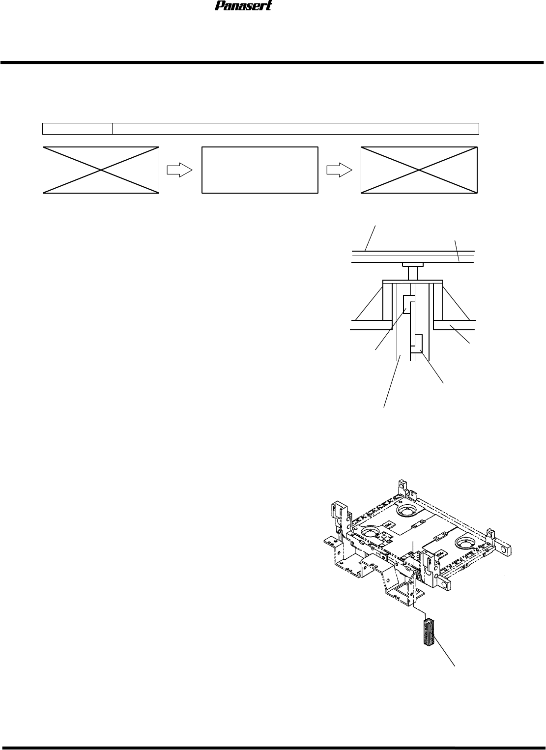
上限传感器
支撑台
Y
工作台机架
支撑台升降汽缸
Y
工作台部
支撑台
下限传感器
支撑台升降汽缸

HDF
服务手册
4.8 下部定位
D45SCC-W4-000-A0 4.8-4
= 备忘录=