KE-3010A_KE-3020VA_KE-3020VRA-Rev15 - 第110页
- - 52. CONVEYORE XTENTIONCOM PONENTS

- -
REF.NO NOTE PARTNO DESCRIPTION Qty
1 400-27209 FCSPWBASM(FORFCS) 1
2 400-11454 GLASSPWB(FORMNVC) (1)
3 400-18223 JIGPWBBASE(FORCHIP) (1)
4 400-27196 DRAWINGPAPER (1)
5 400-34082 FCSPOSITIONINGSEAL 1
6 400-20304 FCSJIGCHIPB 2
7 400-27147 SILICONSHEET 96
8 E2101-998-000 JIGNOZZLEA(V001) 1
9 400-27210 FCSCARRYINGCASE 1
10 400-66810 INNERPACKAGEA 1
11 400-66811 INNERPACKAGEB 1
12 400-27198 MENDINGTAPE 1
13 400-27316 FCSJIFCHIPCASE 1
14 400-27312 FCSJIGCHIPHOLDER (1)
15 400-27313 INNERA (2)
16 400-27314 INNERB (1)
17 400-27315 INNERC (2)
18 400-27410 INNERD (1)
19 400-11453 CALPIECEG 2
20
#01
400-71544 FCSOPERATIONMANUAL(ST) 1
21
#02
400-71545 FCSOPERATIONMANUAL(JE) 1
22
#03
400-71546 FCSOPERATIONMANUAL(CH) 1
23 400-01344 NOZZLEASSEMBLY506 1
24 400-66812 CUSHIONA 1
25 400-66813 CUSHIONB 1
26 400-27235 TRAYSEE 1
27 400-46647 JIGNOZZLELNC 1

- -
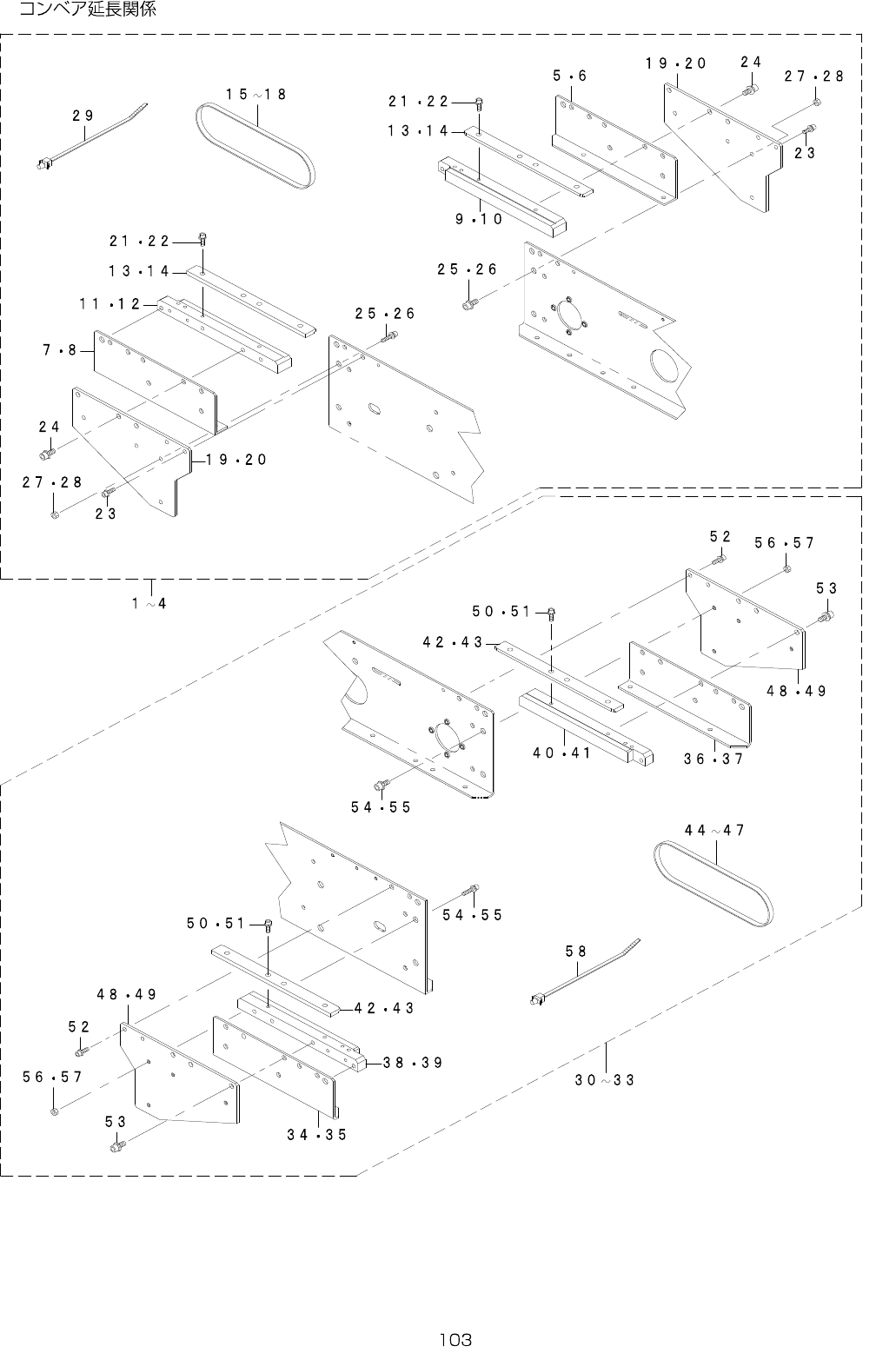
52.CONVEYOREXTENTIONCOMPONENTS

- -
REF.NO NOTE PARTNO DESCRIPTION Qty
1
#01
401-14918 CONVEYOREXTENSION150M_ASM_L 1
2
#02
401-14919 CONVEYOREXTENSION250M_ASM_L 1
3
#03
401-52996 CONVEYOREXTENSION150L_ASM_L 1
4
#04
401-14921 CONVEYOREXTENSION250L_ASM_L 1
5
#05
400-11053 RAILPLATEF(150) (1)
6
#06
400-11060 RAILPLATEF(250) (1)
7
#05
400-11054 RAILPLATER(150) (1)
8
#06
400-11061 RAILPLATER(250) (1)
9
#05
400-11055 RAILF(150) (1)
10
#06
400-11062 RAILF(250) (1)
11
#05
400-11056 RAILR(150) (1)
12
#06
400-11063 RAILR(250) (1)
13
#05
400-11057 PWBGUIDEEX(150) (2)
14
#06
400-11064 PWBGUIDEEX(250) (2)
15
#01
401-14731 CONVEYOR_BELT_M_EX150 (2)
16
#02
401-14732 CONVEYOR_BELT_M_EX250 (2)
17
#03
400-11058 CONVEYORBELTEX(150) (2)
18
#04
400-11065 CONVEYORBELTEX(250) (2)
19
#05
400-11072 JOINTPLATEF(150) (2)
20
#06
401-40931 JOINT_PLATE_250 (2)
21
#05
SL-6031092-TN SCREW (6)
22
#06
SL-6031092-TN SCREW (8)
23 SL-6031092-TN SCREW (4)
24 SL-6041292-TN SCREWM4L=12 (6)
25
#05
SL-6041092-TN SCREWM4L=10 (8)
26
#06
SL-6041092-TN SCREWM4L=10 (12)
27
#05
NM-6040002-SN NUTM4X0.7TYPE2 (8)
28
#06
NM-6040002-SN NUTM4X0.7TYPE2 (12)
29 HX-0044000-00 CABLEBAND (5)
30
#07
401-14935 CONVEYOREXTENSION150M_ASM_R 1
31
#08
401-14936 CONVEYOREXTENSION250M_ASM_R 1
32
#09
401-14937 CONVEYOREXTENSION150L_ASM_R 1
33
#10
401-14938 CONVEYOREXTENSION250L_ASM_R 1
34
#11
400-11053 RAILPLATEF(150) (1)
35
#12
400-11060 RAILPLATEF(250) (1)
36
#11
400-11054 RAILPLATER(150) (1)
37
#12
400-11061 RAILPLATER(250) (1)
38
#11
400-11055 RAILF(150) (1)
39
#12
400-11062 RAILF(250) (1)
40
#11
400-11056 RAILR(150) (1)
41
#12
400-11063 RAILR(250) (1)
42
#11
400-11057 PWBGUIDEEX(150) (2)
43
#12
400-11064 PWBGUIDEEX(250) (2)
44
#07
401-14731 CONVEYOR_BELT_M_EX150 (2)
45
#08
401-14732 CONVEYOR_BELT_M_EX250 (2)
46
#09
400-11058 CONVEYORBELTEX(150) (2)
47
#10
400-11065 CONVEYORBELTEX(250) (2)
48
#11
400-11072 JOINTPLATEF(150) (2)
49
#12
401-40931 JOINT_PLATE_250 (2)
50
#11
SL-6031092-TN SCREW (6)
51
#12
SL-6031092-TN SCREW (8)
52 SL-6031092-TN SCREW (4)
53 SL-6041292-TN SCREWM4L=12 (6)
54
#11
SL-6041092-TN SCREWM4L=10 (8)
55
#12
SL-6041092-TN SCREWM4L=10 (12)
56
#11
NM-6040002-SN NUTM4X0.7TYPE2 (8)
57
#12
NM-6040002-SN NUTM4X0.7TYPE2 (12)
58 HX-0044000-00 CABLEBAND (5)