KE-3010A_KE-3020VA_KE-3020VRA-Rev15 - 第80页
- - 37. PWBCONVEY ORCOMPONEN TS(10)

- -
REF.NO NOTE PARTNO DESCRIPTION Qty
1 401-46961 LEFT_SENS_UNIT 1
2 401-46990 SENSOR_BR_A (1)
3 HX-0044000-00 CABLEBAND (1)
4 401-46991 SENSOR_BR_B (1)
5 400-01079 SENSORBRAKETC (1)
6 400-01076 SENSORSLIDEPLATE (1)
7 400-00912 SENSORADJUSTSPRING (3)
8 G6518-880-000 SETPICK-UP (1)
9 400-58815 SPACER (1)
10 SM-6041602-TN SCREWM4X16 (3)
11 WP-0430801-SC WASHERM4 (6)
12 NM-6040002-SE NUTM4X0.7TYPE2 (3)
13 401-29046 SIDESENSORCABLEASM (1)
14 SL-4031091-SC SCREWM3L=10 (2)
15 HX-0036700-0A BUSH (0.16)
16 EA-9500B00-00 CABLEBAND (5)
17 401-46962 RIGHT_SENS_UNIT 1
18 400-01079 SENSORBRAKETC (1)
19 401-46991 SENSOR_BR_B (1)
20 401-46990 SENSOR_BR_A (1)
21 400-01076 SENSORSLIDEPLATE (1)
22 400-00912 SENSORADJUSTSPRING (3)
23 G6518-880-000 SETPICK-UP (1)
24 400-58815 SPACER (1)
25 SM-6041602-TN SCREWM4X16 (3)
26 WP-0430801-SC WASHERM4 (6)
27 NM-6040002-SE NUTM4X0.7TYPE2 (3)
28 401-29046 SIDESENSORCABLEASM (1)
29 SL-4031091-SC SCREWM3L=10 (1)
30 HX-0036700-0A BUSH (0.16)
31 EA-9500B00-00 CABLEBAND (5)
32 HX-0044000-00 CABLEBAND (1)
33 SL-6031092-TN SCREW 4

- -
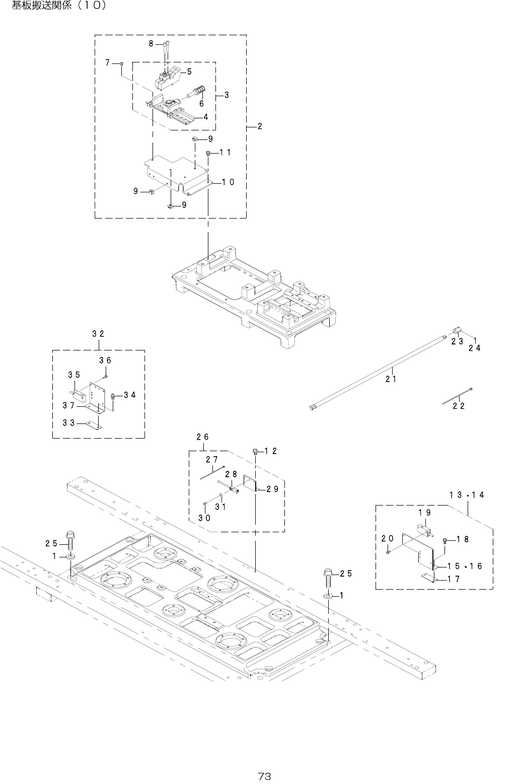
37.PWBCONVEYORCOMPONENTS(10)

- -
REF.NO NOTE PARTNO DESCRIPTION Qty
1 WP-1052001-SC WASHER10 4
2 401-46967 CONVEYOR_VALVE_UNIT 1
3 401-46964 MANIFOLD_VALVE_ASM (1)
4 PV-9150050-00 SOLENOIDVALVEINSTALLINGBASE (1)
5
#01
PV-1502093-00 5PORTELECTROMAGNETICVALVE (2)
6 PX-0500030-00 SILENCER (1)
7 SM-3040652-TN SCREWM4L=6 (2)
8 PX-5000140-00 PLUG (2)
9 HX-0070600-0A MOUNTBASE (3)
10 401-47000 CONVEYOR_VALVE_STAGE (1)
11 SL-6041092-TN SCREWM4L=10 (2)
12 SL-6051092-TN SCREWM5L=10 2
13
#02
401-46981 WAIT_SENSOR_UNIT_ML 1
14
#02
401-46982 WAIT_SENSOR_UNIT_MR 1
15
#02
401-47011 WAIT_SENSOR_BR_ML (1)
16
#02
401-47012 WAIT_SENSOR_BR_MR (1)
17 E2169-721-000 HOLDPLATE (1)
18 SL-6041292-TN SCREWM4L=12 (2)
19 401-35828 LRWAITCOUTSENSASM (1)
20 SL-4031091-SC SCREWM3L=10
(2)
21 400-93920 HANDLESHAFT 1
22 EA-9500B01-00 CABLEBAND 40
23 400-13197 CONVEYORCOUPLING 1
24 SM-8050502-TP SCREWM5L=5 4
25 SL-6104042-TN SCREWM10L=40 4
26 401-46963 BU_HOME_SENSOR_BR_ASM 1
27 EA-9500B01-00 CABLEBAND (1)
28 401-29042 AWC/BUORGSENSORCABLEASM (1)
29 401-46994 BU_SENSOR_BR (1)
30 SM-4030801-SC SCREWM3X0.5L=8 (1)
31 WP-0320501-SC WASHERM3 (1)
32
#03
401-46989 WAIT_SENSOR_UNIT_L 1
33 E2169-721-000 HOLDPLATE (1)
34 SL-6041292-TN SCREWM4L=12 (1)
35 401-35828 LRWAITCOUTSENSASM (1)
36 SL-4031091-SC SCREWM3L=10 (1)
37
#03
401-47013 WAIT_SENSOR_BR (1)