KE-3010A_KE-3020VA_KE-3020VRA-Rev15 - 第95页
- - REF.NO NOTE PARTNO DESCRIPTION Qty 1 400-71599 BMANGLEBR 1 2 SL-6030592-TN SCREWM3L=5 4 3 400-47981 BADMARKFIBERAMPASM 1 4 SM-6030602-TN SCREW M3X6 2 5 HD-0013100-40 SENSOR 1 6 E9638-729-0…

- -
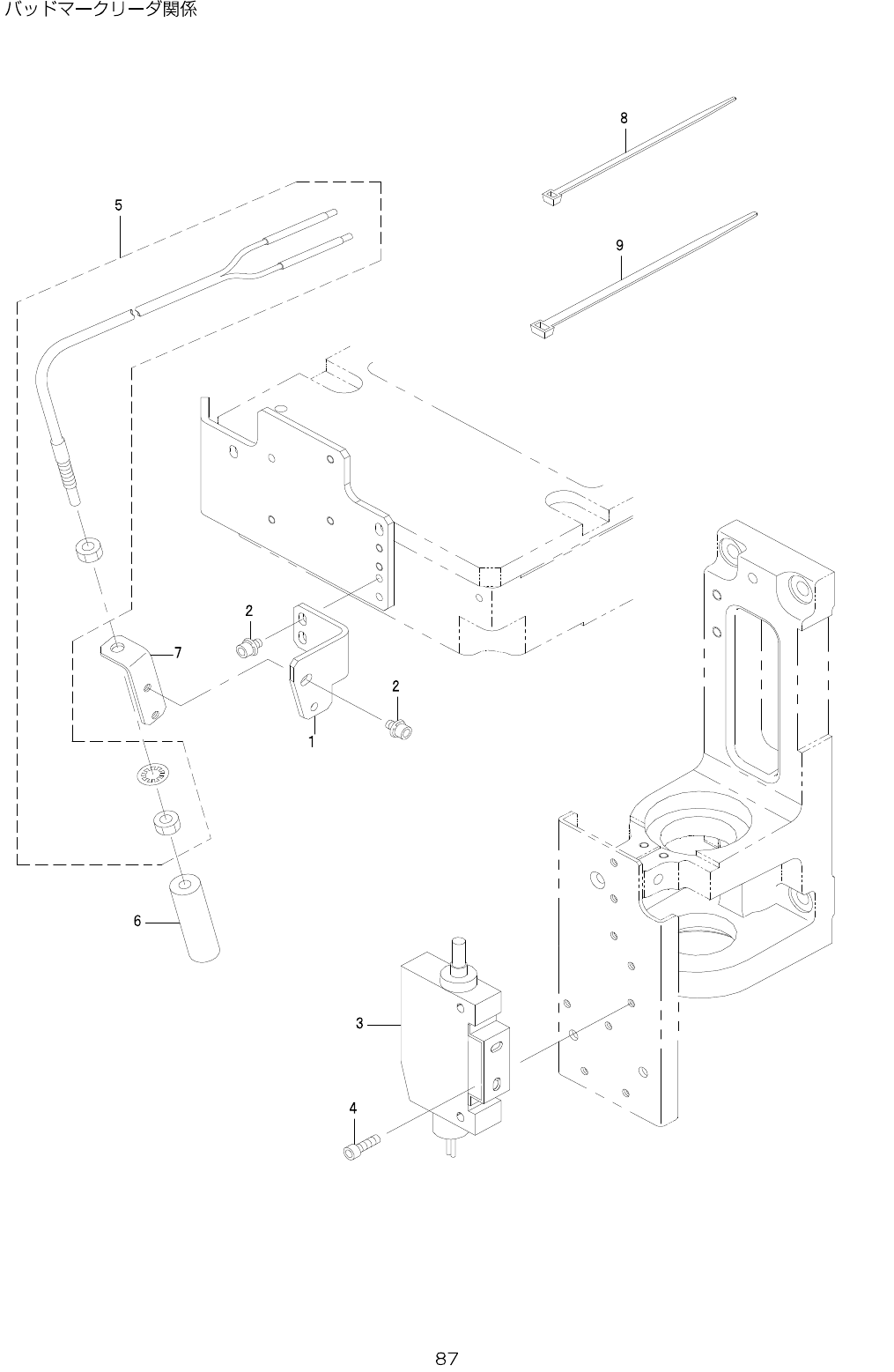
44.BADMARKREADERCOMPONENTS

- -
REF.NO NOTE PARTNO DESCRIPTION Qty
1 400-71599 BMANGLEBR 1
2 SL-6030592-TN SCREWM3L=5 4
3 400-47981 BADMARKFIBERAMPASM 1
4 SM-6030602-TN SCREWM3X6 2
5 HD-0013100-40 SENSOR 1
6 E9638-729-000 FIBERLENS 1
7 400-71565 BMHOLDER3020 1
8 EA-9500B01-00 CABLEBAND 4
9 EA-9500B02-00 CABLEBAND150 8

- -
45.COPLANARITYUNIT
8
1 1
1 4
1 4
3 2
4 5
2
5
4
3
2 7
2 6
1 6
2 0
1 9
2 9
2 1
3 8
4 2
3 9
3 7
3 7
3 6
3 5
3 4
3 4
3 4
3 3
3 2
3 1
2 8
2 5
2 4
2 3
2 2
1 5
9
1 7
1 0
1 2
1 3
1
4 1
4 3
4 4
6
7
4 7
1 8
4 6
1 8
4 0
3 0