OM-1077-002 - 第54页
Tg0531-PM-SO トレイ固定マグネットの取扱いについて トレイ固定マグネットの取扱いについて トレイ固定マグネットの取扱いについて トレイ固定マグネットの取扱いについて トレイ固定マグネットの取扱いについて • トレイ固定マグネットで固定できるトレイの質量と寸法 質 量 : 約 500 g 寸 法 : Max. 360 × 230 mm Fig. A21-2 Fig. A21-2 Fig. A21-2 Fig. A21-2 Fi…

Tg0531-PM-SO
• パレットには図のように、力を加えないでください。
パレットが変形する場合があります。
• パレットを図のように積み重ねて保管しないでください。
パレットが変形する場合があります。
パレットが変形しているかのどうかの確認方法パレットが変形しているかのどうかの確認方法
パレットが変形しているかのどうかの確認方法パレットが変形しているかのどうかの確認方法
パレットが変形しているかのどうかの確認方法
(1) パレットを平らなところに置きます。
(2) 定規をあて、パレットの全上面に、浮きなどがないか確認して
ください。
3.3 生産運転前の準備
0309-003 1-17
Fig. A19Fig. A19
Fig. A19Fig. A19
Fig. A19
Fig. A20Fig. A20
Fig. A20Fig. A20
Fig. A20
Fig. A21 Fig. A21
Fig. A21 Fig. A21
Fig. A21
変形してないパレット変形してないパレット
変形してないパレット変形してないパレット
変形してないパレット
ࠬࠤ࡞
ࡄ࠶࠻
Fig. A21-1 Fig. A21-1
Fig. A21-1 Fig. A21-1
Fig. A21-1
変形したパレット変形したパレット
変形したパレット変形したパレット
変形したパレット
ࠬࠤ࡞
ᶋ߈
ࡄ࠶࠻
ജ

Tg0531-PM-SO
トレイ固定マグネットの取扱いについてトレイ固定マグネットの取扱いについて
トレイ固定マグネットの取扱いについてトレイ固定マグネットの取扱いについて
トレイ固定マグネットの取扱いについて
• トレイ固定マグネットで固定できるトレイの質量と寸法
質 量 : 約 500 g
寸 法 : Max. 360 × 230 mm
Fig. A21-2Fig. A21-2
Fig. A21-2Fig. A21-2
Fig. A21-2
上記寸法サイズより大きいトレイを使用される場合は、当
社営業部または販売代理店までご相談ください。
0309-002 1-17-1
3.3 生産運転前の準備
ࡁ࠻
トレイ固定マグネットを、ペースメーカの植込み部の上に
決してあてないでください。
磁気がペースメーカの作動に影響を与え、失神などを起こ
す危険があります。
警告警告
警告警告
警告
トレイ固定マグネットに、磁気カードや時計などを近づけ
ないでください。
強磁気により、磁気カードのデータが消えたり、時計など
が壊れる恐れがあります。
注意注意
注意注意
注意
࠻ࠗ
࠻ࠗ࿕ቯࡑࠣࡀ࠶࠻
ࡄ࠶࠻

Tg0531-PM-SO
3.3.4 3.3.4
3.3.4 3.3.4
3.3.4
パレットへのトレイの取付け手順パレットへのトレイの取付け手順
パレットへのトレイの取付け手順パレットへのトレイの取付け手順
パレットへのトレイの取付け手順
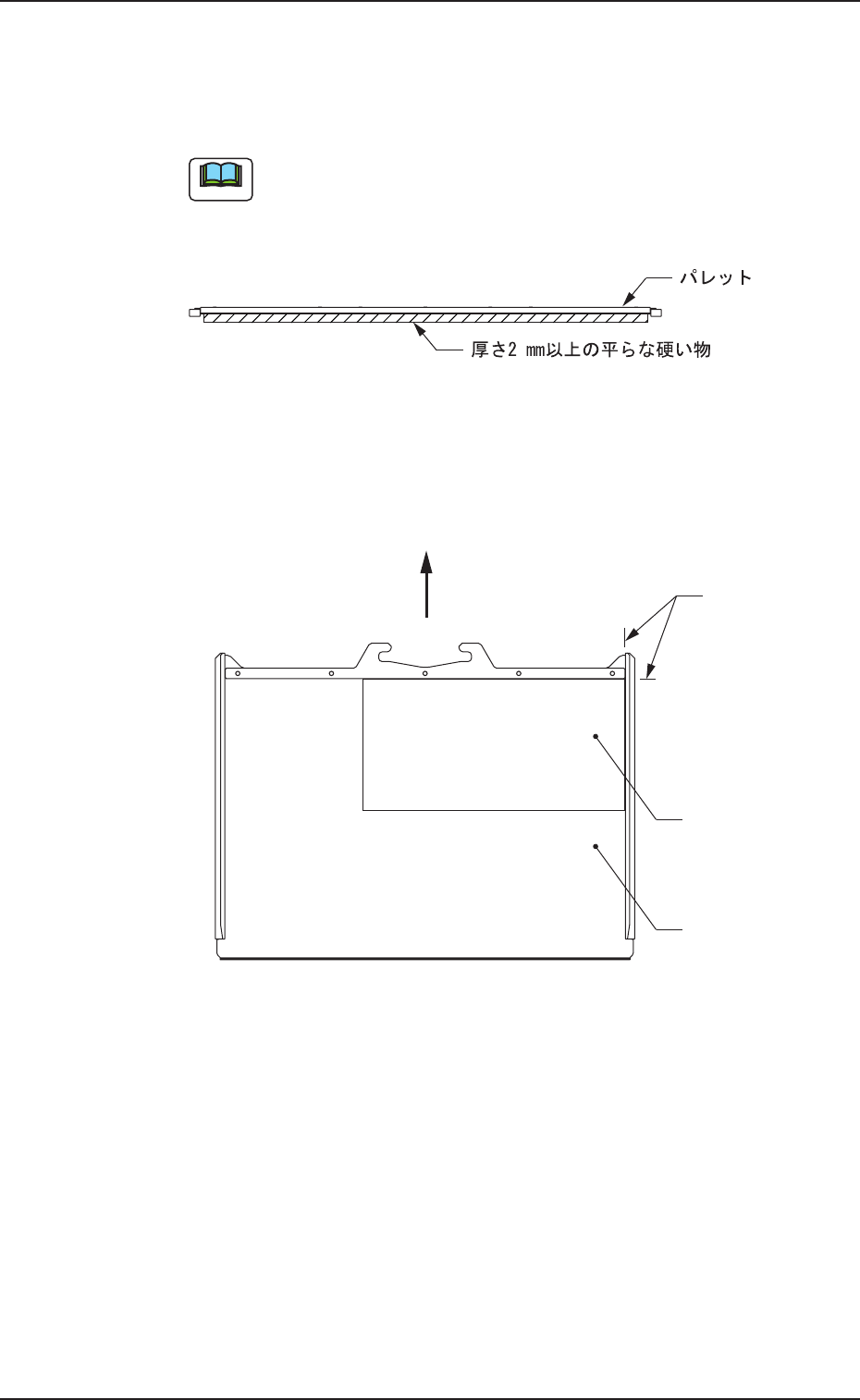
(1) パレットの下に、下図のように厚さ 2 mm 以上の平らな硬い物を
置きます。
パレットの表裏を間違えないでください。
Fig. A22Fig. A22
Fig. A22Fig. A22
Fig. A22
3.3 生産運転前の準備
0309-003 1-18
Fig. A21-3Fig. A21-3
Fig. A21-3Fig. A21-3
Fig. A21-3
(2) トレイをパレットの奥側右へ載せます。
ࡁ࠻
࠶ࠢౝ߳ߩߒㄟߺᣇะ
ၮḰ㕙
࠻ࠗ
ࡄ࠶࠻