RX-7-Rev07PDFA - 第19页
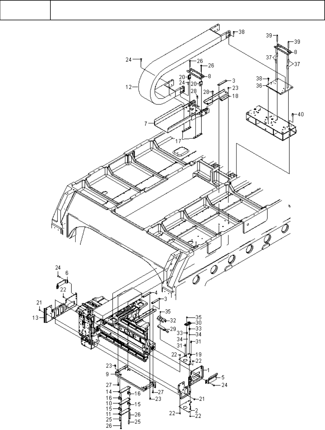
A- 14 A6 架台 ASSY -3 Base frame assy - 3 イラスト番号 Ref.No. 品番 Part Number Description 品名 個数 Q'ty 備考 Remarks 1 EZ4- 455 - 243 - 02 BRACKET (XA), CABLE (L) ケ - ブル ブラケツト (XA) (L) 1 2 EZ4- 455 - 244 - 01 SUPPORT PLA TE (X…

A-13
A6
架台 ASSY-3
Base frame assy - 3

A-14
A6
架台 ASSY-3
Base frame assy - 3
イラスト番号
Ref.No.
品番
Part Number
Description
品名
個数
Q'ty
備考
Remarks
1
EZ4-455-243-02
BRACKET (XA), CABLE (L)
ケ-ブル ブラケツト (XA) (L)
1
2
EZ4-455-244-01
SUPPORT PLATE (X)
サポ-トプレ-ト (X)
1
3
EZ4-455-245-01
NUT PLATE (M5)
イタ ナツト (M5)
2
4
EZ4-455-245-11
NUT PLATE (M4)
イタ ナツト (M4)
1
5
EZ4-455-246-01
CLAMP (LH), CABLE
ケ-ブル クランプ LH
1
6
EZ4-455-247-01
CLAMP (RH), CABLE
ケ-ブル クランプ RH
1
7
EZ4-455-462-01
BRACKET, CABLE BARE
ケ-ブル ベア ブラケツト
1
8
EZ4-455-463-01
CABLE RETAINER
ケ-ブル オサエ
2
9
EZ4-455-464-03
CABLE GUIDE
ケ-ブル ガイド
1
10
EZ4-455-465-01
CLAMP PLATE (S)
クランプ プレ-ト (S)
1
11
EZ4-455-465-11
CLAMP PLATE (H)
クランプ プレ-ト (H)
1
12
EZ4-455-691-01
BARE (TKR20H28W80R95), CABLE
ケ-ブル ベア (TKR20H28W80R95)
1
13
EZ4-455-721-02
BRACKET (XB), CABLE (L)
ケ-ブル ブラケツト (XB) (L)
1
14
EZ4-458-968-01
PLATE, CLAMP BASE
クランプ ベ-ス プレ-ト
1
15
EZ4-459-118-01
SPACER (S), CLAMP
クランプ スペ-サ (S)
2
16
EZ4-459-118-11
SPACER (L), CLAMP
クランプ スペ-サ (L)
2
17
EZ4-464-111-02
PLATE, CABLE RETAINER NUT
ケ-ブル オサエ ナツト プレ-ト
2
18
EZ4-466-199-11
ARM , CABLE GUIDE (R)
ケ-ブル ガイド ア-ム (R)
1
19
EZ4-471-563-01
SUPPORT PLATE (X, L)
サポ-ト プレ-ト (X, L)
1
20
EZ4-472-239-01
SPACER BLK, CABLE RETAINER
ケ-ブル オサエ スペ-サ BLK
2
21
EZ7-682-260-04
SCREW +K 4X6
+K 4X6
8
22
EZ7-683-401-04
BOLT,HEXAGON SOCKET 3X4
6 カクアナツキボルト 3X4
20
23
EZ7-683-419-04
BOLT HEXAGON SOCKET 4X8
6 カクアナツキボルト 4X8
6
24
EZ7-683-421-04
BOLT HEXAGON SOCKET 4X12
6 カクアナツキボルト(C4X12)
20
25
EZ7-683-425-04
BOLT,HEXAGON SOCKET 4X20
6 カクアナツキボルト 4X20
2
26
EZ7-683-428-04
BOLT, HEXAGON SOCKET 4X40
6 カクアナツキボルト 4X40
12
27
EZ7-683-435-04
BOLT,HEXAGON SOCKET 5X10
6 カクアナツキボルト 5X10
4
28
EZ7-683-437-04
BOLT,HEXAGON SOCKET 5X14
6 カクアナツキボルト 5X14
5
29
EZ1-492-202-12
BATTERY ASSY
バツテリ- ASSY
1
30
EZ1-895-367-21
BOARD, BACKUP MONITORING
バツクアツプ モニタ- ボ-ド (Z)
1
31
EZ4-056-942-11
SPACER, MINIATURE CARD
ミニ カ-ド スペ-サ-
2
32
EZ4-468-642-01
BATTERY BOX (Z, L)
バツテリ- BOX (Z, L)
1
33
EZ4-705-584-01
SPACER (SQ-7)
スペ-サ (SQ-7)
2
34
EZ7-623-208-22
SW 3,TYPE 2
SW 3,TYPE 2
2
35
EZ4-455-628-01
BRACKET, CABLE CARRIER
ケ-ブル キヤリア ブラケツト
1
36
EZ4-459-119-01
BASE, CABLE CLAMP
ケ-ブル クランプ ベ-ス
1
37
EZ4-472-252-01
COLLAR, CABLE RETAINER SPACER
ケ-ブル オサエ スペ-サ カラ-
4
38
EZ7-683-452-04
BOLT,HEXAGON SOCKET 6X10
6 カクアナツキボルト 6X10
3

A-15
A7
架台 ASSY-4
Base frame assy - 4