RX-7-Rev07PDFA - 第8页
A-4 A 2 X フレーム ASSY 右 X frame assy - Right

A-4
A2
X フレーム ASSY 右
X frame assy - Right

A-5
A2
X フレーム ASSY 右
X frame assy - Right
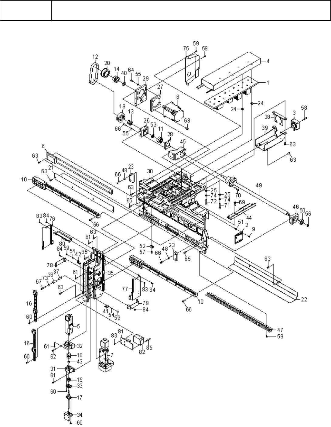
イラスト番号
Ref.No.
品番
Part Number
Description
品名
個数
Q'ty
備考
Remarks
1
EZX-2586-586-2
HEATSINK ASSY
ヒ-トシンク ASSY
1
2
EZ1-492-149-11
DRIVER, PULSE MOTOR
パルス モ-タ ドライバ (AU9284N1)
1
3
EZ1-492-200-11
FAN ASSY (Y)
FAN ASSY (Y ジク) R
1
4
EZ1-492-231-13
MOTOR ASSY (Y)
モ-タ ASSY (Y) R
1
5
EZ1-492-235-15
MOTOR ASSY (Z)
モ-タ ASSY (Z) R
1
6
EZ1-492-237-13
SCALE ASSY (X)
スケ-ル ASSY (X) R
1
7
EZ1-492-245-11
UNIT,CAMERA PC BOARD(TS-479-*)
キバン カメラ ユニツト (TS-479-100)
1
8
EZ1-855-265-11
MOTOR, SERVO (HG-KR23)
サ-ボ モ-タ (HG-KR23)
1
9
EZ2-580-592-01
SCREW, +PSW M3X8
SCREW, +PSW M3X8
4
10
EZ4-454-731-01
LINEAR ROLLERWAY (MXSG15C1R440)
リニア ロ-ラ- ウエイ (MXSG15C1R440)
1
11
EZ4-454-733-01
BEARING (7000), ANGULAR
アンギユラ ベアリング (7000)
1
12
EZ4-454-734-01
BELT (275-EV5GT-12), TIMING
タイミング ベルト (275-EV5GT-12)
1
13
EZ4-454-735-01
LOCK (MC-8-19), MECHANICAL
メカ ロツク (MC-8-19)
1
14
EZ4-454-736-01
LOCK (MC-14-26), MECHANICAL
メカ ロツク (MC-14-26)
1
15
EZ4-454-738-01
BEARING (MTA06-15), ANGULAR
アンギユラ ベアリング (MTA06-15)
1
16
EZ4-454-739-02
LINEAR WAY (MLC9C2R180)
リニアウエイ (MLC9C2R180)
2
17
EZ4-454-740-01
SCREW (BLK0606S-3G1), BALL
ボ-ル ネジ (BLK0606S-3G1)
1
18
EZ4-454-741-01
COUPLING (SFC-010SA2-5B-5B)
カツプリング (SFC-010SA2-5B-5B)
1
19
EZ4-454-946-01
X PULLEY
X プ-リ
1
20
EZ4-454-947-01
PULLEY, X DRIVING
X クドウ プ-リ-
1
21
EZ4-455-207-02
GREASE COVER (X, A)
グリス カバ- (X, A)
1
22
EZ4-455-208-12
GREASE COVER (X, B)
グリス カバ- (X, B)
1
23
EZ4-455-209-02
STOPPER (X, S)
ストツパ- (X, S)
2
24
EZ4-455-210-01
COLLAR, HEAT INSULATING
ダンネツ カラ-
10
25
EZ4-455-211-01
WASHER, HEAT INSULATING
ダンネツ ワツシヤ
10
26
EZ4-455-238-02
BEARING HOLDER (X, F)
ベアリング ホルダ- (X, F)
1
27
EZ4-455-239-01
MOTOR BRACKET (X)
モ-タ- ブラケツト (X)
1
28
EZ4-455-241-01
BEARING RETAINER (X)
ベアリング オサエ (X)
1
29
EZ4-455-242-12
TENSION PLATE (X)
テンシヨン プレ-ト (X)
1
30
EZ4-455-248-14
X FRAME (R)
X フレ-ム (R)
1
31
EZ4-455-277-02
HOLDER (Z), BEARING
ベアリング ホルダ- Z
1
32
EZ4-455-279-02
BRACKET, MOTOR
モ-タ- ブラケツト
1
33
EZ4-455-283-02
RETAINER, BEARING
ベアリング オサエ
1
34
EZ4-455-284-01
HOLDER, NUT (Z)
ナツト ホルダ- (Z)
1
35
EZ4-455-285-13
Z FRAME (R)
Z フレ-ム (R)
1
36
EZ4-455-293-01
URETHANE STOPPER, Z
Z ウレタン ストツパ-
4
37
EZ4-455-294-01
COLLAR, Z STOPPER
Z ストツパ- カラ-
4
38
EZ4-455-668-01
FAN, BRACKET
FAN ブラケツト
1
39
EZ4-455-670-02
FAN, DUCT
FAN ダクト
1
40
EZ4-461-729-01
COLLAR (FWSSB-D17-V14-T5)
カラ- (FWSSB-D17-V14-T5)
1
41
EZ4-461-775-11
COVER (RZ, R), GREASE
グリス カバ- (RZ, R)
1
42
EZ4-461-776-11
COVER (RZ, L), GREASE
グリス カバ- (RZ, L)
1
43
EZ4-463-629-01
NUT (Z), BEARING
ベアリング ナツト (Z)
1
44
EZ4-466-199-11
ARM , CABLE GUIDE (R)
ケ-ブル ガイド ア-ム (R)
1
45
EZ4-467-281-11
BALL SCREW NUT HOLDER (X, R)
ボ-ルネジ ナツト ホルダ- (X, R)
1
46
EZ4-467-284-01
BEARING HOLDER (X, S)
ベアリング ホルダ- (X, S)
1
47
EZ4-467-686-01
GREASE COVER (X, BT)
グリ-ス カバ- (X, BT)
1
48
EZ4-467-695-01
COLLAR (X), STOPPER
ストツパ- カラ- (X)
4
49
EZ4-468-933-01
SCREW (SDA1520), BALL
ボ-ル ネジ (SDA1520)
1
50
EZ4-700-061-01
BEARING (6000ZZ)
ベアリング (6000ZZ)
1