Nozzle changer CP6 S25_20211123_100700 - 第10页
Nozzle changer CP6 S25 Page 10 / 11 23.11.2021 Pos. Item no. Description Part marking 1 00353742-02 NOZZLE CHANGER CP6 S25 2 00353739-02 SUPPORT PLATE PW CP6 3 00329170S01 PW6 SPRING HOOK SPARE PART 4 00329169-01 PW6 RET…

Nozzle changer CP6 S25
Page 9 / 11 23.11.2021

Nozzle changer CP6 S25
Page 10 / 11 23.11.2021
Pos. Item no. Description Part marking
1 00353742-02 NOZZLE CHANGER CP6 S25
2 00353739-02 SUPPORT PLATE PW CP6
3 00329170S01 PW6 SPRING HOOK SPARE PART
4 00329169-01 PW6 RETAINING CLAMP
5 00354142-01 MOUNT FOR SPRING HOOK
6 00353736-01 SLIDE RAIL SHORT PW CP6
7 00353737-01 SLIDE RAIL PW CP6
8 00305725-01 DIN 7985-M3 X 5-4.8-H
9 00353735-01 SLIDE RAIL DRIVE PW CP6
10 00310516-01 COUNTERSUNK SCREW M3*10
11 00353738-01 SLIDING BLOCK (MILLED VERSION)
12 00353740-01 DRIVE COMPLETE PW CP6
13 00353719-01 MOUNT FOR SWIVELING DRIVE
14 00353720-01 ECCENTRIC PW CP6
15 00353007-01 SWIVEL DRIVE CRB1BW SPARE PART
16 00327089-01 THROTTLE VALVE GRLA-M5-PK3 B
17 24000053-01 BALL-BEARING WEAR PART
18 00317989-01 SET SCREW M3*6
19 00201105-01 HEXAGON SOCKET HEAD CAP
SCREW M4*35
20 00334206S01 VALVE COMPLETE SPARE PART
21 00310021-01 SILENCER U-M5 NR4645 STANDARD PARTS
22 00353732-01 BOARD HOLDER PW CP6
23 00329696S02 REJECT BOX SPARE PART
24 00354217-01 DISTANCE BOLT M8*80 I/A 6KT10
YELLOW CHROM.
25 00351483-01 DISTANCE BOLT M3*8
26 00343667-01 DISTANCE BOLT TYPE B I/A-
M3X28-ST CHRO
27 00321948-01 HEXAGON NUT M3
28 00328842S03 PW6 NOZZLE MAGAZINE F.
NOZZLES TYPE 8XX
SPARE PART
29 00328843S03 NOZZLE MAGAZINE FOR NOZZLE
TYPE 7XX
SPARE PART
30 00317353S02 CONTROL UNIT NOZZLE CHANGER SPARE PART
31 00334212-01 KABEL: STEUERPL.
PIPETTENWECHS. - VENTIL

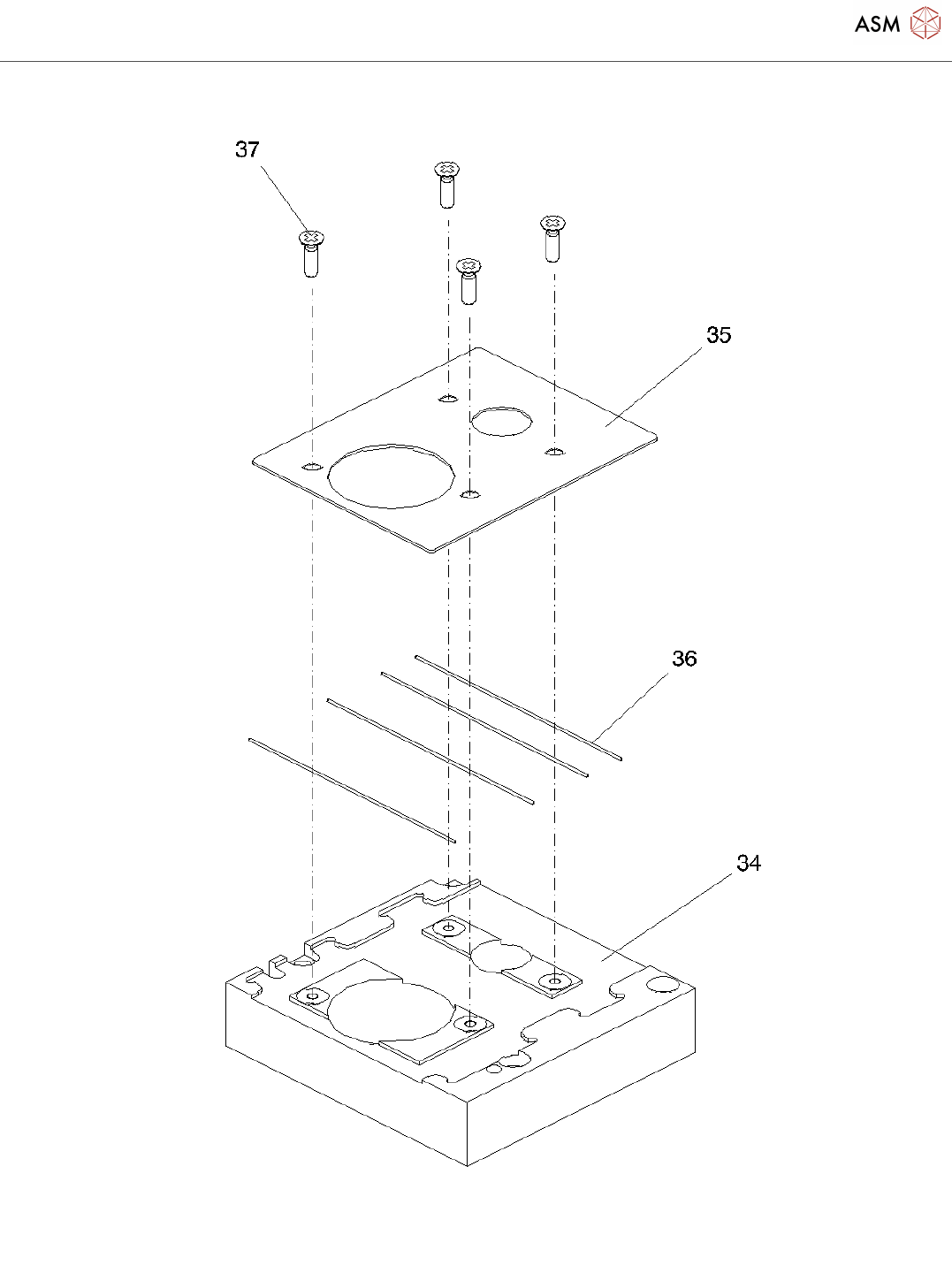
Nozzle changer CP6 S25
Page 11 / 11 23.11.2021
Pos. Item no. Description Part marking
32 00329509-01 PW6 CHECK PLATE
33 00329332-02 PW6 REJECT DEVICE
34 00329335-02 PW6 BASE UNIT FOR REJECT DEVICE
35 00329336-02 PW6 REMOVAL PLATE
36 00329334-01 PW6 SPRING WIRE
37 00310384-01 DIN 965-M2,5 X 6-4.8 STANDARD PARTS
38 00323391-01 DIN 7991-M4 X 8-8.8
39 00354460-01 PARALLEL PIN 6M5*22
40 00325349-01 DIN912-M3 X 16-A2-70
41 00313069-01 DIN912-M4 X 10-A2-70
43 00095614-01 DIN 6325 - 3M5 X 18-ST Spare Part
44 00331810-03 SLIDING GUIDE
45 00095316-01 SLOTTED COUNTERSUNK HEAD
SCREW
46 00328906-01 DIN912-M3 X 5-A2-70
47 00201460-01 HEXAGON SOCKET HEAD CAP
SCREW
48 00334552S01 HOSE 4*2,5 PUR TU 0425 BU-20 CONSUMABLE
49 00334552S01 HOSE 4*2,5 PUR TU 0425 BU-20 CONSUMABLE
50 00357127-03 SUPPORT COMPLETE FOR PW S25
Powered by TCPDF (www.tcpdf.org)