文档中心
/
Input_output side_20211124_080948
Input_output side_20211124_080948 - 第3页
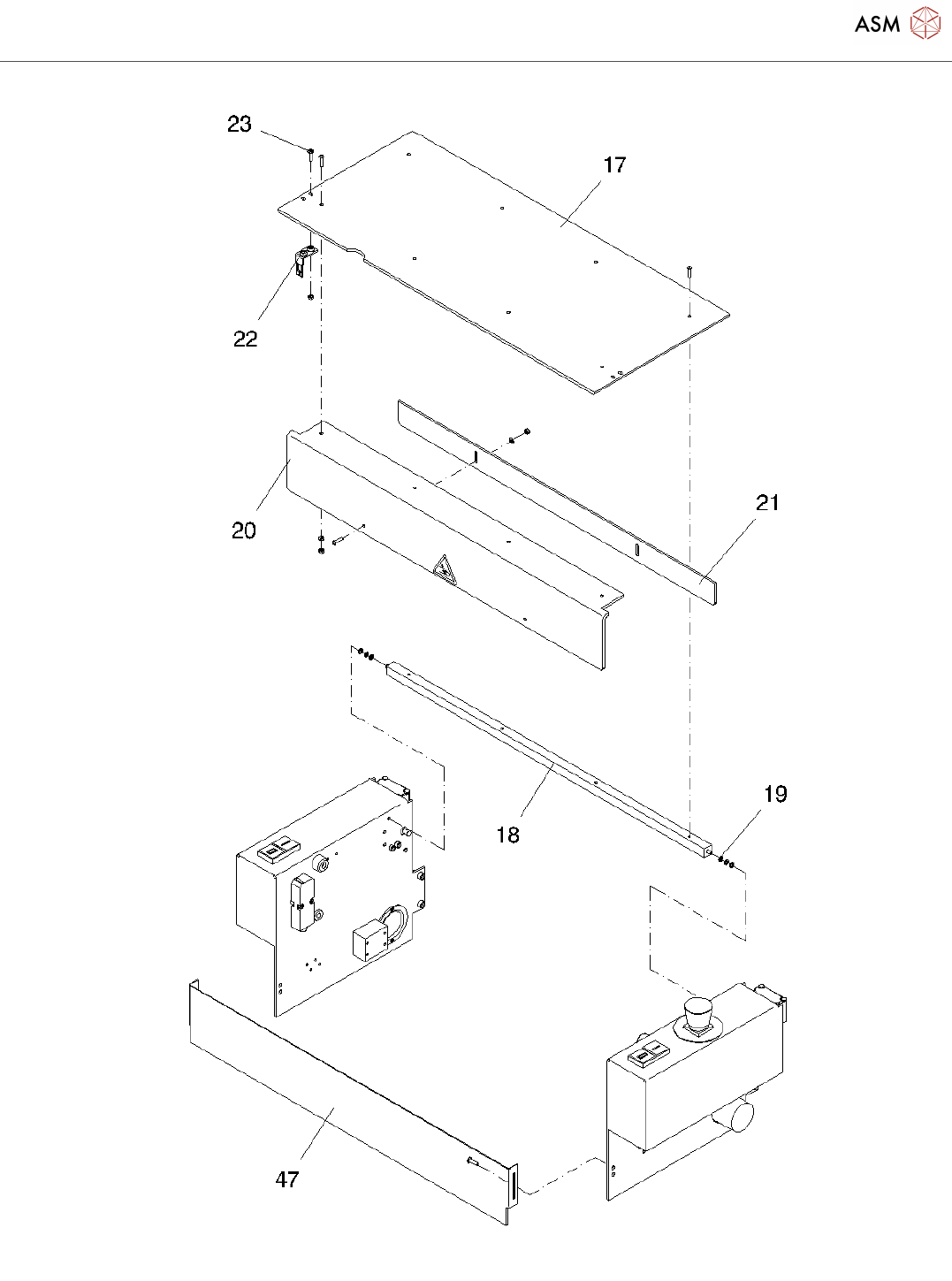
Input/output side Page 3 / 8 24.11.2021
目录
100%
显示:宽度
宽度
1 / 8
回到旧版
旧版
?
Input/output side
Page 2 / 8
24.11.2021
Input/output side
Page 3 / 8
24.11.2021
Input/output side
Page 4 / 8
24.11.2021
该页面需要启用 JavaScript 才能进行交互式预览。