Input_output side_20211124_080948 - 第6页
Input/output side Page 6 / 8 24.11.2021

Input/output side
Page 5 / 8 24.11.2021

Input/output side
Page 6 / 8 24.11.2021

Input/output side
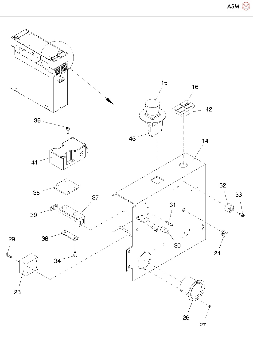
Page 7 / 8 24.11.2021
Pos. Item no. Description Part marking
1 03004822-01 INPUT/OUTPUT SIDE COMPLETE
03003362-02 INPUT/OUTPUT SIDE MECHANICS
3 03006337-02 BOTTOM PART INPUT/OUTPUT SIDE
MECHANICS
4 03003420-02 BASIC HOUSING LEFT
5 03003649-02 BASIC HOUSING RIGHT
6 03006454-01 GROUND WIRE
9 03003425-02 FILTER UNIT SPARE PART
10 03006574-01 FELT FILTER RFF-92-10
11 03003664-01 DOOR COMPL. FOR INPUT/OUTPUT
SIDE
12 03006293-02 UPPER PART INPUT/OUTPUT SIDE
MECHANICS
13 03003418-01 CONSOLE PLATE LEFT
14 03003645-01 CONSOLE PLATE RIGHT
15 00334073-01 MUSHROOM PUSHBUTTON 3SB3
RED 40MM
SPARE PART
16 00349458-01 ON-OFF PUSHBUTTON 3SB3
WT(I)/BL(0)
SPARE PART
17 03003389-01 FLAP FOR INPUT/OUTPUT SIDE
18 03003393-01 SUPPORTING RAIL
19 00201148S01 SEALING RING M5 PVC HARD WEAR PART
20 03003412-02 BRACKET SAFETY COVER
21 03003413-02 PROTECTION RAIL
22 03002018-01 ACTUATOR ST-14-B5
23 03005017-01 NB602-M4 X 16-12.9, ZINC-C.
24 03004614-01 GROMMET D=11 D=15.9
26 03003498-01 COVER INPUT/OUTPUT SIDE
27 00328131-01 COUNTER-SUNK HEAD SCREW M3 X
5-A2
28 03003501-02 ADAPTER FOR HEXAGON SHAFT
PCB TRANSPORT
29 00845026-01 HEXAGON SOCKET HEAD CAP
SCREW M4 X 12-8.8
30 00332543-01 ELASTIC THRUST PIECE LATERAL
D=12
SPARE PART
31 00365696-01 PARALLEL PIN 5 M6 X 20-ST
32 00304188-01 MOUNTING FOOT 22*4,3*14 STANDARD PARTS