P-117-001e - 第152页
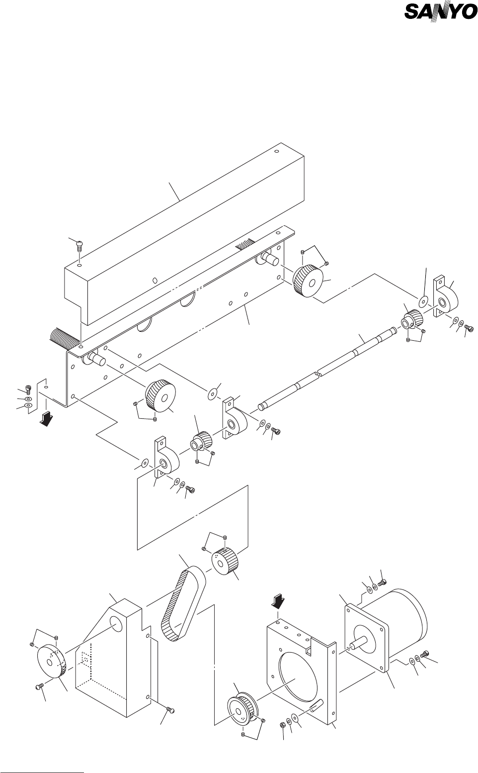
MODEL TCM-3000Z 981 1-001 Lコンベア部 L CONVEYOR SECTION Fig. 7-3 ドライブシャフト Driving Shaft 23 14 13 2 1 7 5 4 3 6 6-1 8 9 22 21 A 7 6 6-1 2 5 4 1 8 9 7 8 9 17 16 A 35 6 6-1 36 39 37 37 34 33 30 28 20 29 38 24 25 26 27-1 24 25 2…

MODEL TCM-3000Z
9811-001
7- 2
Key No. PART No. PART NAME Q'ty REMARKS
1 630 053 0681 BRACKET(MOTOR) 1 628G--03B-010
1 -1 630 055 2911 BRACKET(MOTOR) 1 628G--03B-031
2 630 003 2574 GEAR,REDUCTION 2 628G--03H-016
3 630 049 0831 MOTOR,REVERSIBLE 2 628G--03H-015
4 411 141 4107 WASHER V 5X10X1 4 FW5
5 411 141 6705 WASHER SPR 5 4 SW5
6 630 000 7824 BOLT,HEX-SCT 4 M5X45
6 -1 411 087 1109 WASHER IN TW 5 2
7 630 009 2684 PULLEY,TIMING 4 628G--03H-017
8 630 000 8944 SET SCREW 8 M5X6 SET
9 630 053 2395 BELT,TIMING 1 628G--03H-018
9 -1 630 013 6296 BELT,TIMING 1 628G--03H-036
10 411 141 4107 WASHER V 5X10X1 2 FW5
11 411 141 6705 WASHER SPR 5 2 SW5
12 630 000 7749 BOLT,HEX-SCT 2 M5X10
13 630 001 0220 WASHER 2 628G--03H-027
14 411 141 6705 WASHER SPR 5 2 SW5
15 630 000 7756 BOLT,HEX-SCT 2 M5X12
16 630 055 2935 COVER(MOTOR) 1 628G--03B-032
17 411 051 1708 SCR TRS 4X6 1 M4X6 TRS
NOTE

MODEL TCM-3000Z
9811-001
Lコンベア部 L CONVEYOR SECTION
Fig. 7-3 ドライブシャフト Driving Shaft
23
14
13
2
1
7
5
4
3
6
6-1
8
9
22
21
A
7
6
6-1
2
5
4
1
8
9
7
8
9
17
16
A
35
6
6-1
36
39
37
37
34
33
30
28
20
29
38
24
25
26
27-1
24
25
26
27
See Fig.7-1
Key No.2

MODEL TCM-3000Z
9811-001
7- 3
Key No. PART No. PART NAME Q'ty REMARKS
1 630 028 9493 GEAR 2 628G--03H-006
2 630 000 8951 SET SCREW 4 M5X8 SET
3 630 053 0667 SHAFT 1 628G--03B-009
4 630 028 9480 GEAR 2 628G--03H-007
5 630 008 2296 SET SCREW 4 M4X4 SET
6 630 001 1890 BEARING,UNIT 3 628G--03H-005
6 -1 630 042 2115 WASHER 6 628G--03H-014
7 411 141 4107 WASHER V 5X10X1 6 FW5
8 411 141 6705 WASHER SPR 5 6 SW5
9 630 000 7770 BOLT,HEX-SCT 6 M5X20
13 630 053 0704 COVER 1 628G--03B-018
14 411 051 1708 SCR TRS 4X6 3 M4X6 TRS
16 630 056 3924 PULLEY,TIMING 1 628G--03H-043
17 630 000 8951 SET SCREW 2 M5X8 SET
20 630 056 2767 BRACKET(MOTOR L) 1 628G--03B-051
21 411 141 4107 WASHER V 5X10X1 2 FW5
22 411 141 6705 WASHER SPR 5 2 SW5
23 630 000 7749 BOLT,HEX-SCT 2 M5X10
24 630 009 5869 MOTOR,STEPPING 1 628G--03H-041
25 411 141 4107 WASHER V 5X10X1 2 FW5
26 411 141 6705 WASHER SPR 5 2 SW5
27 630 000 7763 BOLT,HEX-SCT 1 M5X16
27 -1 630 000 7787 BOLT,HEX-SCT 1 M5X25
28 630 001 0220 WASHER 1 628G--03H-027
29 411 141 6705 WASHER SPR 5 1 SW5
30 411 141 0505 NUT HEX 5 1 M5
33 630 056 3917 PULLEY,TIMING 1 628G--03H-042
34 630 000 8951 SET SCREW 2 M5X8 SET
35 630 048 9668 BELT,TIMING 1 628G--03H-044
36 630 056 2781 COVER(L) 1 628G--03B-052
37 411 051 1708 SCR TRS 4X6 3 M4X6 TRS
38 630 035 8384 BOSS(HANDLE) 1 628G--03B-055
39 411 051 1708 SCR TRS 4X6 2 M4X6 TRS
NOTE