P-0092-002 - 第101页
在线预览 P-0092-002 PDF 文档。

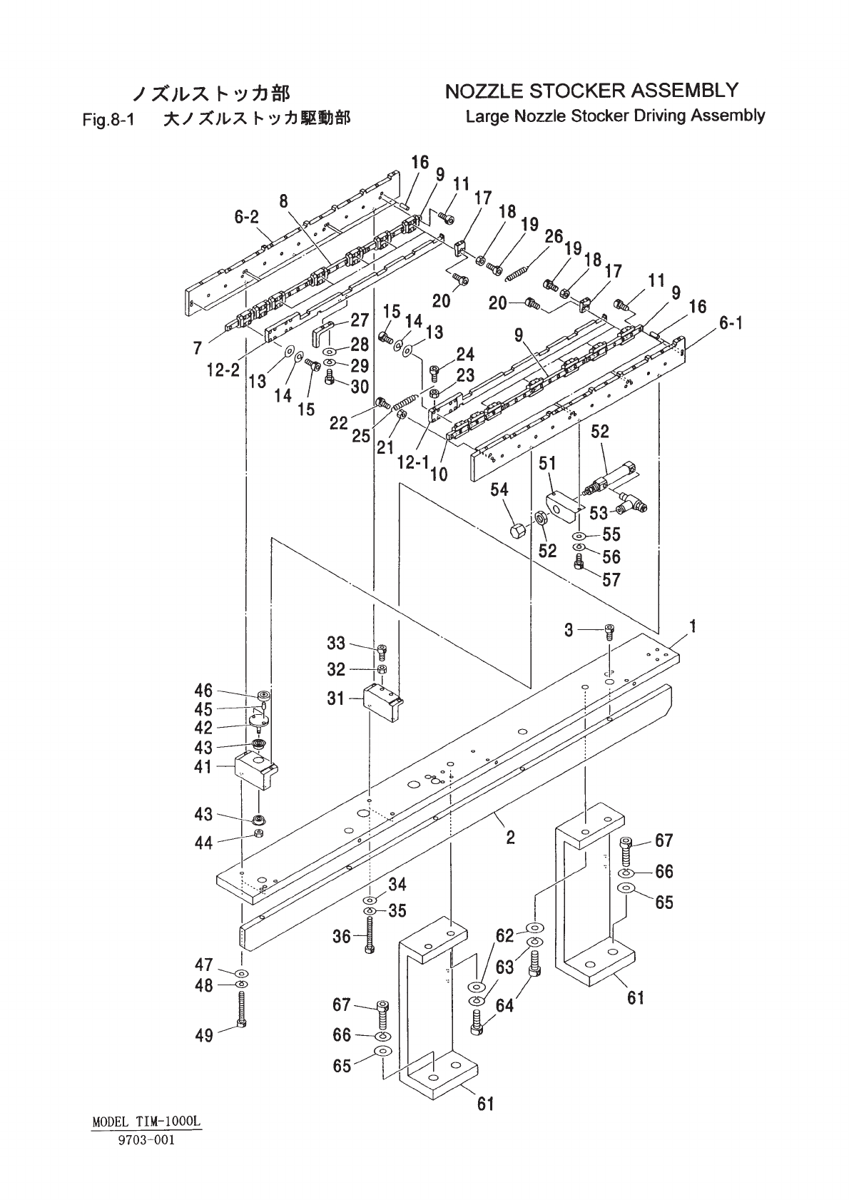
Key No. PART No. PART NAME Q'ty REMARKS REGISTERED No.
49 411 141 6705 WASHER SPR 5 2 SW5
50 630 000 7756 BOLT,HEX-SCT 2 M5X12
51 616 901 8726 CYLINDER 1 648JB-11H-505 1CC2BA0506051
52 616 122 0936 UNION 1 648JB-11H-519 1CC2BD5000750
53 616 122 0929 SPEED CONTROLLER 1 648JB-11H-518 1CC2BC0800170
54 616 122 0707 HOOK 1 648JB-11B-022 1CC2CC3500590
55 616 122 0882 SPRING 1 648JB-11H-514 1CC2GM0503920
56 616 122 0738 WASHER 1 648JB-11B-025 1CC2SB0501700
57 616 122 0714 ROD 1 648JB-11B-023 1CC2GK1000650
58 411 141 4107 WASHER V 5X10X1 2 FW5
59 411 141 6705 WASHER SPR 5 2 SW5
60 630 000 7749 BOLT,HEX-SCT 2 M5X10
61 411 141 4305 WASHER V 6X12.5X1.6 2 FW6
62 411 141 3001 WASHER SPR 6 2 SW6
63 630 000 7978 BOLT,HEX-SCT 2 M6X60
64 411 140 9905 NUT HEX 3 1 M3
65 411 141 3902 WASHER V 3X7X0.5 1 FW3
66 411 141 2806 WASHER SPR 3 1 SW3
67 630 000 7596 BOLT,HEX-SCT 1 M3X35
68 616 902 3935 GUIDE 1 648JB-11B-008 1CC2GG2001173
69 411 141 4008 WASHER V 4X9X0.8 2 FW4
70 411 141 2905 WASHER SPR 4 2 SW4
71 630 000 7619 BOLT,HEX-SCT 2 M4X8
72 616 122 0813 CUTTER 1 648JB-11H-502 1CC2LB0800100
73 616 122 0523 GUIDE 1 648JB-11B-007 1CC2GG2001161
74 630 000 7527 BOLT,HEX-SCT 2 M3X10
75 411 141 4008 WASHER V 4X9X0.8 2 FW4
76 411 141 2905 WASHER SPR 4 2 SW4
77 630 000 7657 BOLT,HEX-SCT 2 M4X16
86 616 122 0790 BRACKET 1 648JB-11B-036 1CC2FC1006050
87 616 122 0905 SOLENOID VALVE 1 648JB-11H-516 1CC4L83001151
88 616 122 0912 ELBOW 1 648JB-11H-517 1CC2BD1000041
89 616 123 8894 ELBOW 1 648JB-11H-520 1CC2BD1001150
90 616 122 0929 SPEED CONTROLLER 1 648JB-11H-518 1CC2BC0800170
91 411 141 3803 WASHER V 2.5X6.5X0.5 2 FW2.5
92 411 141 6606 WASHER SPR 2.5 2 SW2.5
93 630 061 2868 BOLT,HEX-SCT 2 M2.6X6
94 411 141 4107 WASHER V 5X10X1 2 FW5
95 411 141 6705 WASHER SPR 5 2 SW5
96 630 000 7749 BOLT,HEX-SCT 2 M5X10
97 616 125 7697 CHUTE 1 648JB-11B-005 1CC2HC2000242
98 411 141 4503 WASHER V 8X17X1.6 2 FW8
99 411 141 3100 WASHER SPR 8 2 SW8
100 630 000 7619 BOLT,HEX-SCT 2 M4X8
101 616 122 0462 WASHER 2 648JB-11B-001 1CC2SB0501690
102 411 113 4708 SCR FLT 4X10 2 M4X10 FLT
103 616 122 0516 PLATE 2 648JB-11B-006 1CC2FB0507200
104 630 001 0213 WASHER 2 BW4
105 411 141 2905 WASHER SPR 4 2 SW4
106 630 000 7626 BOLT,HEX-SCT 2 M4X10
107 630 000 7770 BOLT,HEX-SCT 2 M5X20
NOTE
7-6
9703-001
MODEL TIM-1000L

