P-0092-002 - 第113页
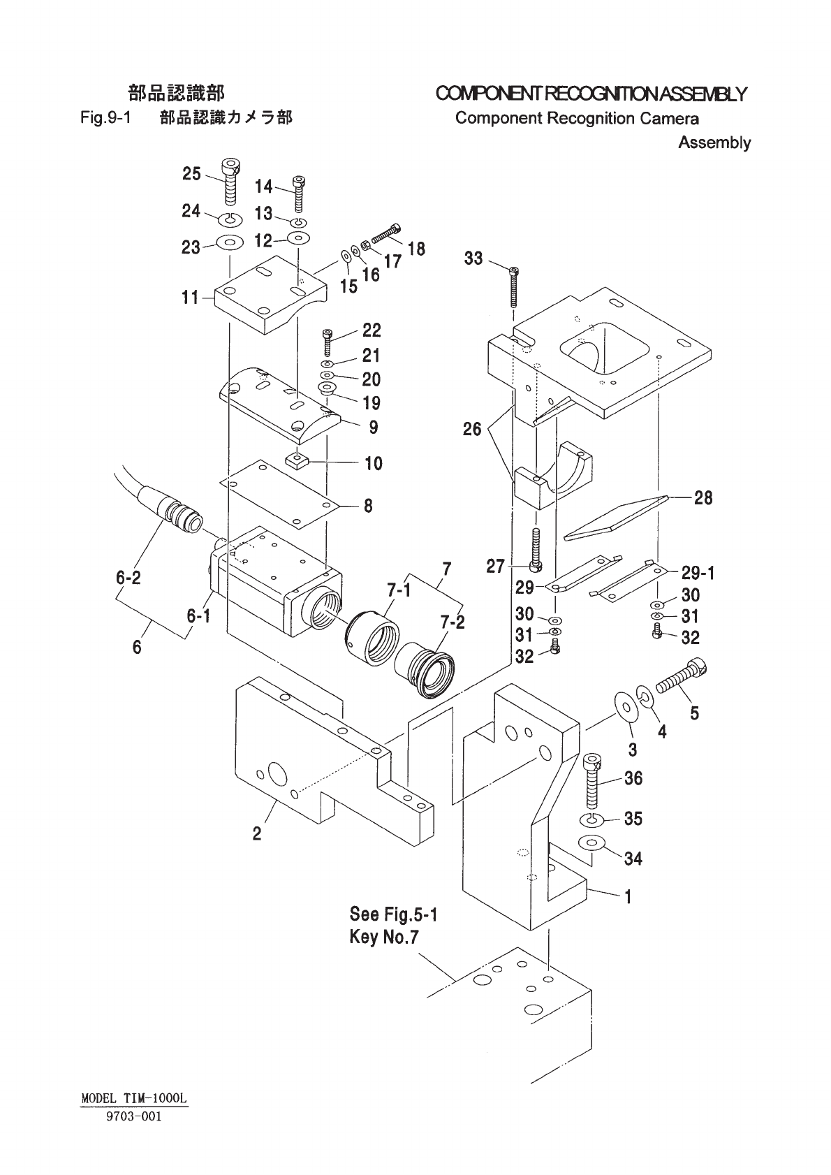
Key No. PART No. PART NAME Q'ty REMARKS REGISTERED No. 1 616 125 8816 SADDLE 1 648CF-11B-004 1CC2FC2000292 2 616 125 8809 HOLDER 1 648CF-11B-003 1CC2FC0506993 3 630 001 0237 WASHER 2 BW6 4 411 141 3001 WASHER SPR 6 …


Key No. PART No. PART NAME Q'ty REMARKS REGISTERED No.
1 616 125 8816 SADDLE 1 648CF-11B-004 1CC2FC2000292
2 616 125 8809 HOLDER 1 648CF-11B-003 1CC2FC0506993
3 630 001 0237 WASHER 2 BW6
4 411 141 3001 WASHER SPR 6 2 SW6
5 630 000 7916 BOLT,HEX-SCT 2 M6X30
6 630 059 1354 UNIT,CAMERA 1 648CF-11H-501
7 630 063 2781 SCOPE UNIT 1 648CF-11H-503
8 616 121 7400 INSULATOR 1 648CF-11B-009 1CC2CH1000040
9 616 125 8823 HOLDER 1 648CF-11B-008 1CC2FC0507631
10 616 111 9568 PLATE NUT 2 648CF-11B-007 1CC2SA1500820
11 616 121 7370 HOLDER 1 648CF-11B-006 1CC2FC0507620
12 630 001 0213 WASHER 2 BW4
13 411 141 2905 WASHER SPR 4 2 SW4
14 630 000 7664 BOLT,HEX-SCT 2 M4X20
15 411 141 3902 WASHER V 3X7X0.5 1 FW3
16 411 141 2806 WASHER SPR 3 1 SW3
17 411 140 9905 NUT HEX 3 1 M3
18 630 000 7572 BOLT,HEX-SCT 1 M3X25
19 616 121 7455 BUSH 4 648CF-11H-504 1CC4S60500220
20 411 141 3902 WASHER V 3X7X0.5 4 FW3
21 411 141 2806 WASHER SPR 3 4 SW3
22 630 000 7558 BOLT,HEX-SCT 4 M3X16
23 411 141 4305 WASHER V 6X12.5X1.6 2 FW6
24 411 141 3001 WASHER SPR 6 2 SW6
25 630 000 7909 BOLT,HEX-SCT 2 M6X25
26 616 125 8793 BLOCK 1 648CF-11B-001 1CC2FB1002774
27 630 000 7671 BOLT,HEX-SCT 2 M4X25
28 616 112 1974 MIRROR 1 648CG-11H-502 1CC2FK3000010
29 616 125 7529 SADDLE 1 648CG-11B-105 1CC2FC2000200
29 -1 616 125 7536 SADDLE 1 648CG-11B-110 1CC2FC2000210
30 411 141 3902 WASHER V 3X7X0.5 4 FW3
31 411 141 2806 WASHER SPR 3 4 SW3
32 630 000 7503 BOLT,HEX-SCT 4 M3X6
33 630 000 7787 BOLT,HEX-SCT 2 M5X25
34 411 141 4305 WASHER V 6X12.5X1.6 2 FW6
35 411 141 3001 WASHER SPR 6 2 SW6
36 630 000 7916 BOLT,HEX-SCT 2 M6X30
NOTE
9-1
9703-001
MODEL TIM-1000L
