P-0092-002 - 第125页
Key No. PART No. PART NAME Q'ty REMARKS REGISTERED No. 1 616 121 6267 COVER 1 648BC-11B-038 1CC2CA0504560 2 616 125 8069 PANEL 1 648BC-11B-020 1CC2CA1000191 3 411 141 4008 WASHER V 4X9X0.8 6 FW4 4 411 141 2905 WASHE…


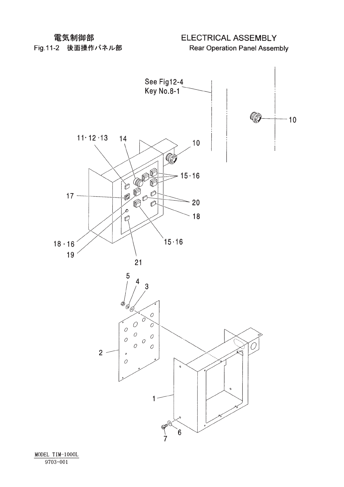
Key No. PART No. PART NAME Q'ty REMARKS REGISTERED No.
1 616 121 6267 COVER 1 648BC-11B-038 1CC2CA0504560
2 616 125 8069 PANEL 1 648BC-11B-020 1CC2CA1000191
3 411 141 4008 WASHER V 4X9X0.8 6 FW4
4 411 141 2905 WASHER SPR 4 6 SW4
5 411 141 0307 NUT HEX 4 6 M4
6 411 141 4107 WASHER V 5X10X1 5 FW5
7 630 000 7749 BOLT,HEX-SCT 5 M5X10
10 616 112 2391 PUSH SWITCH 2 648GH-11D-512 1CC4S11000380
11 616 121 4188 SWITCH 1 648GH-11D-514 1CC4S11001100
12 616 121 4195 LAMP(PILOT) 1 648GH-11D-515 1CC4T32200180
13 616 121 4201 SWITCH COVER 1 648GH-11D-516 1CC4S11200070
14 616 121 4102 PUSH SWITCH 1 648GH-11D-502 1CC4S11000990
15 616 121 4140 PUSH SWITCH 4 648GH-11D-506 1CC4S11000110
16 616 112 2162 SWITCH COVER 5 648GH-11D-509 1CC4S11200010
17 616 125 6492 SELECTOR SWITCH 1 648GH-11D-503 1CC4S13500370
18 616 121 4126 PUSH SWITCH 2 648GH-11D-504 1CC4S11000220
19 616 121 4171 L.E.D INDICATOR LIGHT 1 648GH-11D-511 1CC4T42700030
20 616 121 4133 PUSH SWITCH 2 648GH-11D-505 1CC4S11000170
21 616 121 4157 PUSH SWITCH 1 648GH-11D-507 1CC4S11000240
22 616 125 6508 BUZZER 1 648GH-11D-508 1CC4A62000061
NOTE
11-1
9703-001
MODEL TIM-1000L
