P-0092-002 - 第151页
Key No. PART No. PART NAME Q'ty REMARKS REGISTERED No. 1 616 122 3425 BOX 1 648GF-11B-001 1CC2CA2500592 2 616 122 3449 HOLDER 1 648GF-11B-003 1CC2FC0507170 3 411 141 4008 WASHER V 4X9X0.8 2 FW4 4 411 141 2905 WASHER…


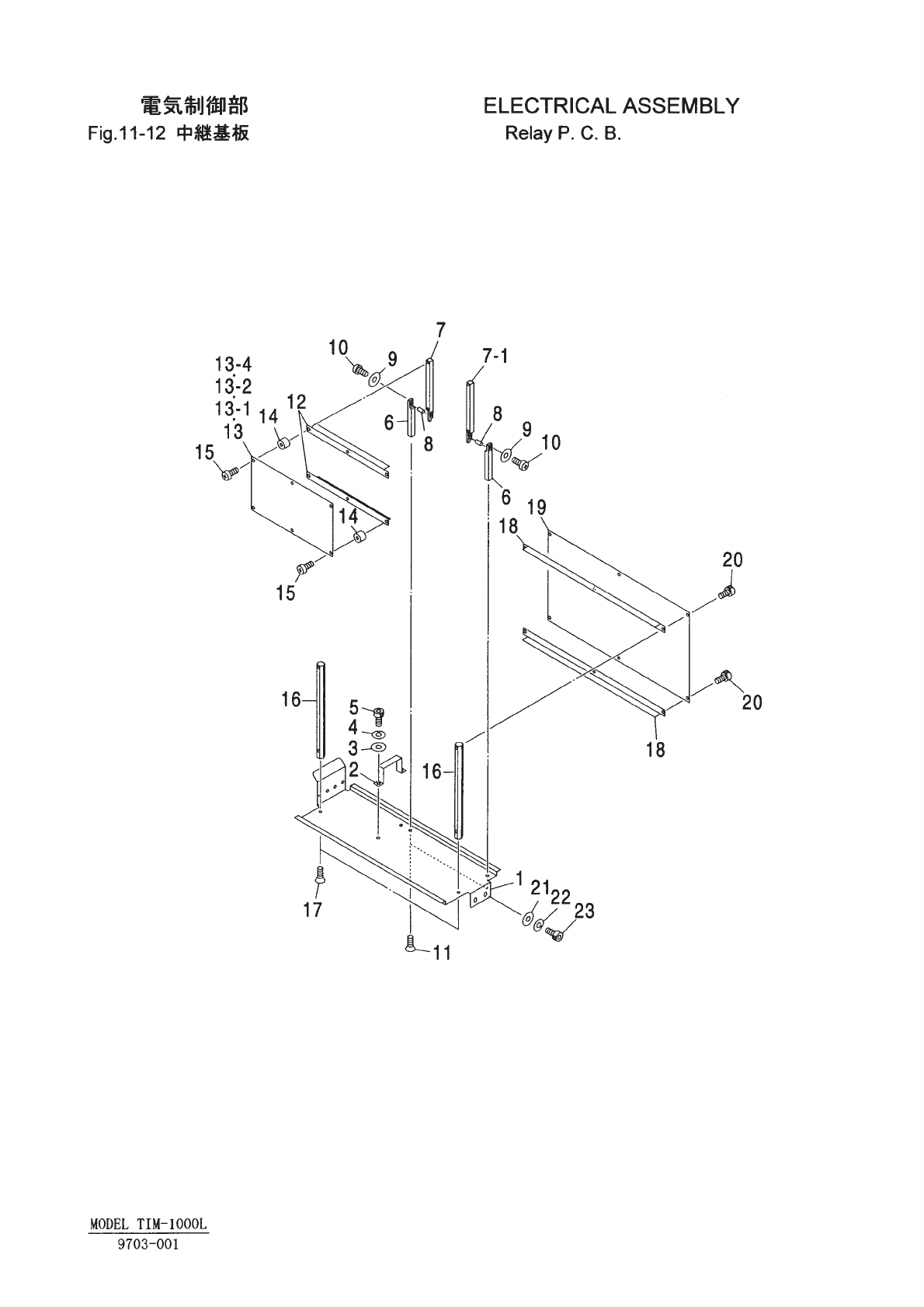
Key No. PART No. PART NAME Q'ty REMARKS REGISTERED No.
1 616 122 3425 BOX 1 648GF-11B-001 1CC2CA2500592
2 616 122 3449 HOLDER 1 648GF-11B-003 1CC2FC0507170
3 411 141 4008 WASHER V 4X9X0.8 2 FW4
4 411 141 2905 WASHER SPR 4 2 SW4
5 630 000 7619 BOLT,HEX-SCT 2 M4X8
6 616 125 6638 POST 2 648GF-11B-009 1CC2FF1502201
7 616 122 3494 POST 1 648GF-11B-008 1CC2FF1502190
7 -1 616 122 3487 POST 1 648GF-11B-007 1CC2FF1502180
8 616 121 5598 SPACER 2 648JD-11D-515 1CC4S60500140
9 411 119 2104 WASHER V 4X9X0.8 2 FW4 F
10 411 042 3001 SCR PAN 4X10 2 M4X10 PAN
11 411 140 7208 SCR FLT 4X6 2 M4X6 FLT
12 616 122 3470 REINFORCEMENT 2 648GF-11B-006 1CC2FE0500540
13 616 121 4607 PRINTED BOARD 1 648HE-11D-509 1CC4B18000090
14 616 122 3517 SPRING PIN 2 648GF-11H-501 1CC2SD1000310
15 411 113 2209 SCR PAN 4X16 6 M4X16 PAN
16 616 122 3456 POST 2 648GF-11B-004 1CC2FF1502170
17 411 113 4708 SCR FLT 4X10 2 M4X10 FLT
18 616 122 3463 REINFORCEMENT 2 648GF-11B-005 1CC2FE0500530
19 616 121 5833 PRINTED BOARD 1 648HF-11D-522 1CC4B18000110
20 411 042 0703 SCR PAN 3X8 6 M3X8 PAN
21 411 141 4107 WASHER V 5X10X1 2 FW5
22 411 141 6705 WASHER SPR 5 2 SW5
23 630 000 7756 BOLT,HEX-SCT 2 M5X12
NOTE
11-12
9703-001
MODEL TIM-1000L
