P-0092-002 - 第69页
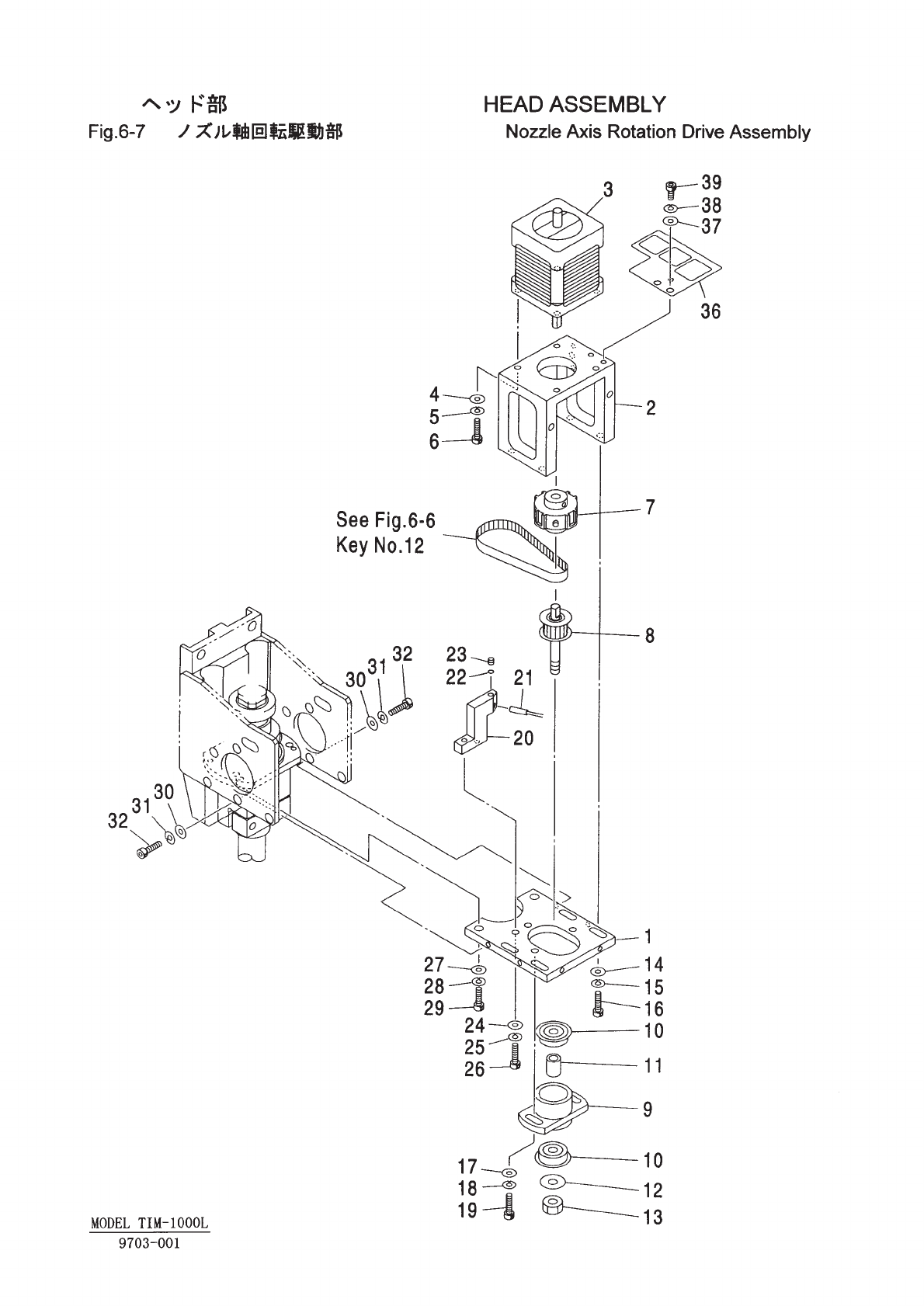
Key No. PART No. PART NAME Q'ty REMARKS REGISTERED No. 1 616 122 2558 HOLDER 1 648HB-11B-071 1CC2FC0507271 2 616 125 9066 BASE 1 648HB-11B-073 1CC2FA1001914 3 616 122 2800 STEPPING MOTOR 1 648HB-11H-522 1CC4M1800018…


Key No. PART No. PART NAME Q'ty REMARKS REGISTERED No.
1 616 122 2558 HOLDER 1 648HB-11B-071 1CC2FC0507271
2 616 125 9066 BASE 1 648HB-11B-073 1CC2FA1001914
3 616 122 2800 STEPPING MOTOR 1 648HB-11H-522 1CC4M18000180
4 411 141 3902 WASHER V 3X7X0.5 4 FW3
5 411 141 2806 WASHER SPR 3 4 SW3
6 630 000 7534 BOLT,HEX-SCT 4 M3X12
7 616 122 2824 COUPLING 1 648HB-11H-526 1CC2GJ1000440
8 616 125 9189 PULLEY 1 648HB-11H-512 1CC2GD2004040
9 616 125 9080 HOLDER 1 648HB-11B-083 1CC2FC0507291
10 616 122 2831 BALL BEARING 2 648HB-11H-527 1CC2GF4001420
11 616 122 2596 SPACER 1 648HB-11B-087 1CC2FF0502300
12 630 001 0220 WASHER 1 BW5
13 616 122 2848 U-NUT 1 648HB-11H-528 1CC2SA1501350
14 411 141 4008 WASHER V 4X9X0.8 4 FW4
15 411 141 2905 WASHER SPR 4 4 SW4
16 630 000 7633 BOLT,HEX-SCT 4 M4X12
17 411 141 4008 WASHER V 4X9X0.8 2 FW4
18 411 141 2905 WASHER SPR 4 2 SW4
19 630 000 7633 BOLT,HEX-SCT 2 M4X12
20 616 125 9110 HOLDER 1 648HB-11B-095 1CC2FC0507680
21 616 125 9202 PROXIMITY SENSOR 1 648HB-11H-533 1CC4V25000410
23 630 008 1053 SET SCREW 1 M3X3 SET
24 411 141 3902 WASHER V 3X7X0.5 2 FW3
25 411 141 2806 WASHER SPR 3 2 SW3
26 630 000 7534 BOLT,HEX-SCT 2 M3X12
27 411 141 4008 WASHER V 4X9X0.8 2 FW4
28 411 141 2905 WASHER SPR 4 2 SW4
29 630 000 7626 BOLT,HEX-SCT 2 M4X10
30 411 141 3902 WASHER V 3X7X0.5 4 FW3
31 411 141 2806 WASHER SPR 3 4 SW3
32 630 000 7534 BOLT,HEX-SCT 4 M3X12
36 616 125 7239 BRACKET 1 648HH-11B-023 1CC2FC1006450
37 411 141 3902 WASHER V 3X7X0.5 2 FW3
38 411 141 2806 WASHER SPR 3 2 SW3
39 630 000 7527 BOLT,HEX-SCT 2 M3X10
NOTE
6-7
9703-001
MODEL TIM-1000L
