P-0092-002 - 第71页
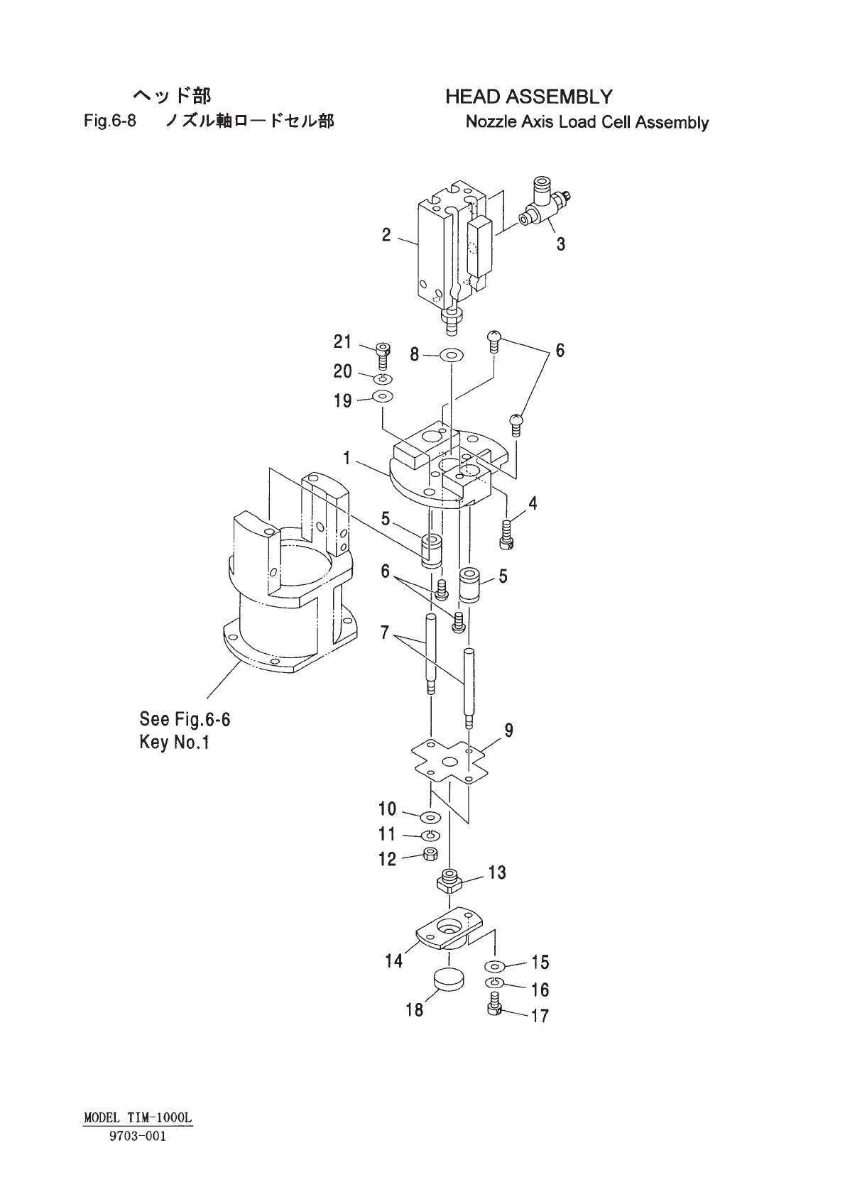
Key No. PART No. PART NAME Q'ty REMARKS REGISTERED No. 1 616 125 9028 HOLDER 1 648HB-11B-061 1CC2FC0507252 2 616 122 2794 CYLINDER 1 648HB-11H-521 1CC2BA0506030 3 616 111 8226 SPEED CONTROLLER 2 648HH-11H-519 1CC2BC…


Key No. PART No. PART NAME Q'ty REMARKS REGISTERED No.
1 616 125 9028 HOLDER 1 648HB-11B-061 1CC2FC0507252
2 616 122 2794 CYLINDER 1 648HB-11H-521 1CC2BA0506030
3 616 111 8226 SPEED CONTROLLER 2 648HH-11H-519 1CC2BC0800141
4 630 000 7527 BOLT,HEX-SCT 2 M3X10
5 616 122 2756 BALL BUSH 2 648HB-11H-517 1CC2GG5006050
6 411 050 5004 SCR TRS 3X6 4 M3X6 TRS
7 616 122 2763 SHAFT 2 648HB-11H-518 1CC2GK0502721
8 411 141 4008 WASHER V 4X9X0.8 1 FW4
9 616 125 9035 PLATE 1 648HB-11B-063 1CC2FB0507161
10 411 141 3803 WASHER V 2.5X6.5X0.5 2 FW2.5
11 411 141 6606 WASHER SPR 2.5 2 SW2.5
12 411 054 5901 NUT HEX 2.6 2 M2.6
13 616 125 9042 JOINT 1 648HB-11B-065 1CC2GJ0501171
14 616 125 9059 HOLDER 1 648HB-11B-069 1CC2FC0507262
15 411 141 3803 WASHER V 2.5X6.5X0.5 2 FW2.5
16 411 141 6606 WASHER SPR 2.5 2 SW2.5
17 630 061 2868 BOLT,HEX-SCT 2 M2.6X6
18 616 122 2770 LOAD CELL 1 648HB-11H-519 1CC4V27000011
19 411 141 4008 WASHER V 4X9X0.8 2 FW4
20 411 141 2905 WASHER SPR 4 2 SW4
21 630 000 7619 BOLT,HEX-SCT 2 M4X8
NOTE
6-8
9703-001
MODEL TIM-1000L
