P-0092-002 - 第81页
Key No. PART No. PART NAME Q'ty REMARKS REGISTERED No. 98 616 121 9626 RING C 12 1 648JC-11H-517 1CC2SC1000040 99 630 001 0244 WASHER 1 BW8 100 411 141 3100 WASHER SPR 8 1 SW8 101 411 141 0901 NUT HEX 8 1 M8 102 630…

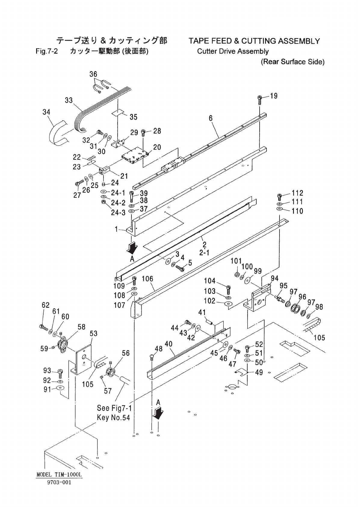
Key No. PART No. PART NAME Q'ty REMARKS REGISTERED No.
48 411 113 7501 SCR TRS 4X10 3 M4X10 TRS
49 616 121 6823 COVER 1 648BE-11B-012 1CC2CA0504731
50 411 141 4008 WASHER V 4X9X0.8 2 FW4
51 411 141 2905 WASHER SPR 4 2 SW4
52 630 000 7626 BOLT,HEX-SCT 2 M4X10
53 616 125 7802 BRACKET 1 648JC-11B-009 1CC2FC1005673
54 616 125 7864 SHAFT 1 648JC-11B-018 1CC2GK0503451
55 616 122 1247 KEY 3 648JC-11H-511 1CC2GJ2000860
56 616 125 7970 PULLEY 1 648JC-11H-509 1CC2GD2004000
57 630 000 8944 SET SCREW 2 M5X6 SET
58 616 122 1278 BEARING UNIT 1 648JC-11H-514 1CC2GF5000260
59 630 000 8906 SET SCREW 2 M3X8 SET
60 411 141 4503 WASHER V 8X17X1.6 2 FW8
61 411 141 3100 WASHER SPR 8 2 SW8
62 630 000 8012 BOLT,HEX-SCT 2 M8X20
63 616 125 7963 PULLEY 1 648JC-11H-508 1CC2GD2003990
64 630 000 8951 SET SCREW 2 M5X8 SET
65 616 125 7857 SHAFT 1 648JC-11B-016 1CC2GK0503441
66 616 122 1254 KEY 2 648JC-11H-512 1CC2GJ2000240
67 616 122 1025 HOUSING 1 648JC-11B-011 1CC2GF2000770
68 616 122 1285 BALL BEARING 2 648JC-11H-515 1CC2GF4000421
69 616 122 1087 WASHER 2 648JC-11B-019 1CC2SB0501710
70 616 125 7949 PULLEY 1 648JC-11H-506 1CC2GD2003870
71 630 030 4701 SET SCREW 2 M4X10 SET
72 411 141 4305 WASHER V 6X12.5X1.6 4 FW6
73 411 141 3001 WASHER SPR 6 4 SW6
74 630 000 7909 BOLT,HEX-SCT 4 M6X25
75 411 141 0703 NUT HEX 6 4 M6
76 616 125 7956 PULLEY 1 648JC-11H-507 1CC2GD2003880
77 630 000 8920 SET SCREW 2 M4X6 SET
78 616 125 7819 BRACKET 1 648JC-11B-010 1CC2FC1005681
79 616 121 6694 DRIVER UNIT 1 648JC-11H-519 1CC4U21000660
80 616 121 6687 AC SERVO MOTOR 1 648JC-11H-518 1CC4M16000180
81 411 141 4107 WASHER V 5X10X1 4 FW5
82 411 141 6705 WASHER SPR 5 4 SW5
83 630 000 7770 BOLT,HEX-SCT 4 M5X20
84 616 125 7932 PULLEY 1 648JC-11H-505 1CC2GD2004010
85 616 122 1261 JOINT 1 648JC-11H-513 1CC2GJ0501200
86 630 000 7664 BOLT,HEX-SCT 4 M4X20
87 630 001 0244 WASHER 2 BW8
88 411 141 3100 WASHER SPR 8 2 SW8
89 630 000 8029 BOLT,HEX-SCT 2 M8X25
90 616 125 7925 BELT 2 648JC-11H-504 1CC2GD1504740
91 630 001 0244 WASHER 2 BW8
92 411 141 3100 WASHER SPR 8 2 SW8
93 630 000 8036 BOLT,HEX-SCT 2 M8X30
94 616 125 7840 BRACKET 1 648JC-11B-015 1CC2FC1005711
95 616 125 7871 SHAFT 1 648JC-11B-021 1CC2GK0503461
96 616 125 7987 PULLEY 1 648JC-11H-510 1CC2GD2003890
97 616 112 1394 BALL BEARING 2 648JC-11H-516 1CC2GF4000140
NOTE
7-1
9703-001
MODEL TIM-1000L

Key No. PART No. PART NAME Q'ty REMARKS REGISTERED No.
98 616 121 9626 RING C 12 1 648JC-11H-517 1CC2SC1000040
99 630 001 0244 WASHER 1 BW8
100 411 141 3100 WASHER SPR 8 1 SW8
101 411 141 0901 NUT HEX 8 1 M8
102 630 001 0244 WASHER 2 BW8
103 411 141 3100 WASHER SPR 8 2 SW8
104 630 000 8029 BOLT,HEX-SCT 2 M8X25
105 616 125 7918 BELT 1 648JC-11H-503 1CC2GD1504730
106 630 063 9865 COVER 1 648JC-11B-007
107 411 141 4305 WASHER V 6X12.5X1.6 2 FW6
108 411 141 3001 WASHER SPR 6 2 SW6
109 630 000 7886 BOLT,HEX-SCT 2 M6X16
110 411 141 4107 WASHER V 5X10X1 2 FW5
111 411 141 6705 WASHER SPR 5 2 SW5
112 630 000 7749 BOLT,HEX-SCT 2 M5X10
115 616 125 8274 COVER 1 648BC-11B-063 1CC2CA0504691
116 411 141 4008 WASHER V 4X9X0.8 2 FW4
117 411 141 2905 WASHER SPR 4 2 SW4
118 630 000 7619 BOLT,HEX-SCT 2 M4X8
121 616 121 6489 COVER 1 648BC-11B-062 1CC2CA0504681
122 411 141 4107 WASHER V 5X10X1 2 FW5
123 411 141 6705 WASHER SPR 5 2 SW5
124 630 000 7749 BOLT,HEX-SCT 2 M5X10
NOTE
7-1
9703-001
MODEL TIM-1000L
