JUKYX-193-4110_G5S2.pdf - 第100页

193-41 10 JUKYX    1-51    X軸リニアガイド レール部 (4か所) 毎日 点検 所要時間:1分 異物などが落ちていないか、目視で点検 してください。 X軸リニアガイド ブロック部 (4か所) 3か月ごと 清掃、給油 所要時間:5分 (ダフニーグリースMP No.1) ウエスで古いグリースを拭取って、ハンド グリースガンでグリースニップルから新し いグリースを給 油 してく…

100%1 / 369
193-4110
JUKYX
 
1-50

 



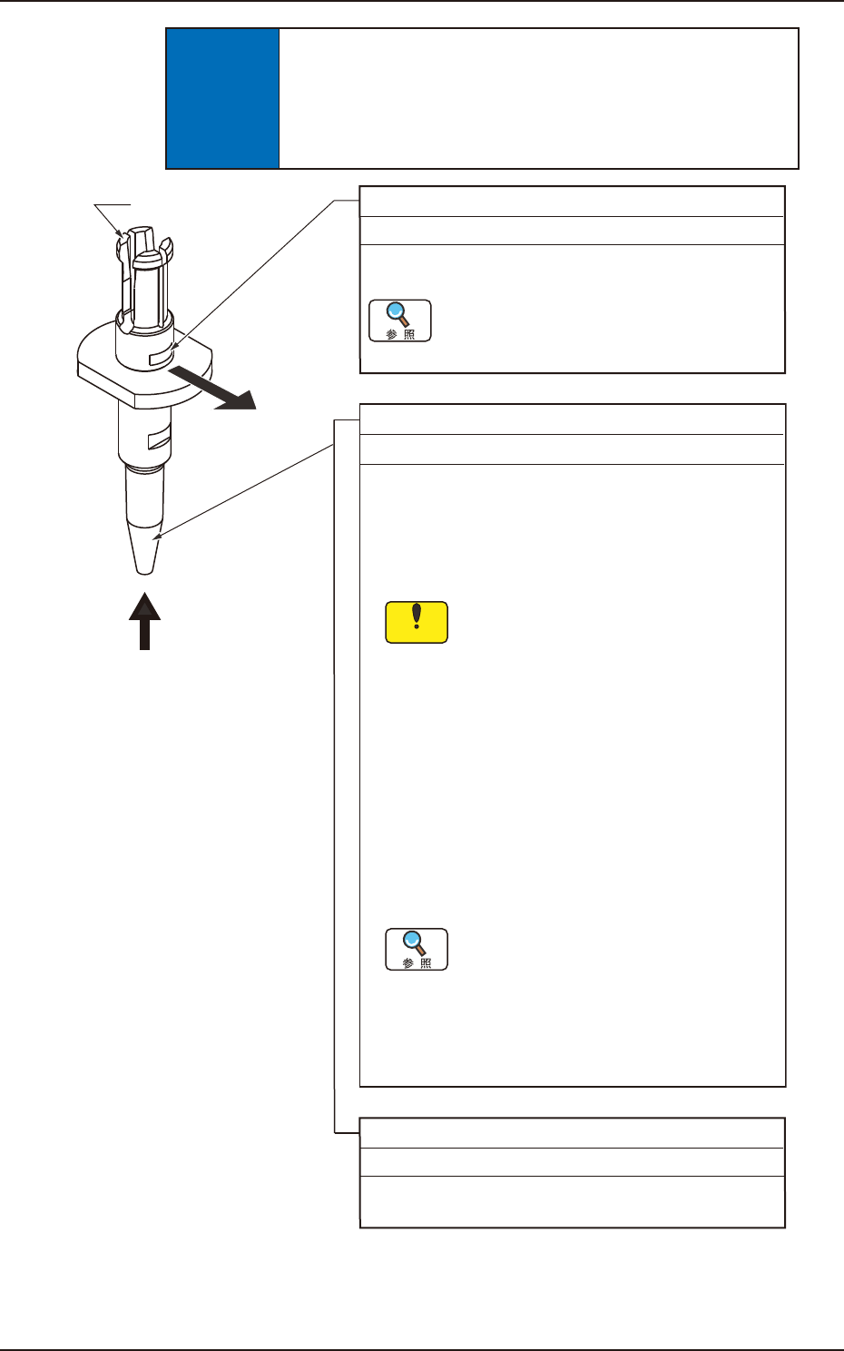
吸着ノズル
3か月ごと 点検
吸着ノズルの状態を点検し、ノズルの先端が磨耗
している場合は交換してください。
着ノズル
毎週 清掃
ノズルテーパ部は、レンズクリーナクロスで清掃
してください。
ノズルを画面操作にてノズルストッカに収納し、
 ノズルストッカごと取り出した後、エアブロー
 を行いゴミなどを除去してください。
注 意
(a) 清掃の詳細については、
“5.1 吸着ノズルの清掃手順”を
参照してください。
(b) ノズル収納の手順については、
  “第2巻 6章 5.ノズル交換”を
  参照してください。
(a) ヘッドからノズルを手で取出さな
  いでください。
  手で取出しますと、ノズルと
  ノズルデータが合わなくなります。
(b)
ノズルの汚れがひどいとき、また
は真空吸引力が弱くなり、吸着や
装着に不具合が発生する場合は、
水中での超音波洗浄を行ってくだ
さい。
水中での超音波洗浄を行う際は、
ノズルフィルタを外してください。
水以外の使用は厳禁です。
先端からエアブロー
クランプ爪
ノズルフィルタ
毎週 交換
フィルタ抜取り治具を使用してノズルフィルタを
交換してください。
交換の詳細については、
“5.3 ノズルフィルタの取外し方法”を
参照してください。
F4A35
193-4110
JUKYX
  
1-51
  
X軸リニアガイド レール部 (4か所)
毎日 点検 所要時間:1分
異物などが落ちていないか、目視で点検
してください。
X軸リニアガイド ブロック部 (4か所)
3か月ごと 清掃、給油 所要時間:5分
(ダフニーグリースMP No.1)
ウエスで古いグリースを拭取って、ハンド
グリースガンでグリースニップルから新し
いグリースを給してください。
糸くずなどを残さないよう
にしてください。
給油は、初回1か月後、以降3か月ごとに行
ってください。
X軸ボールネジ(2か所)
3か月ごと 清掃、給油
(ダフニーエポネックスグリースNo.3)
ウエスで古いグリースを拭取って、ハンド
グリースガンでグリースニップルから新し
いグリースを給してください。
糸くずなどを残さないよう
にしてください。
給油は、初回1か月後、以降3か月ごとに行
ってください。
※対向ビームも含む
※対向ビームも含む
※対向ビームも含む
F4A36A
193-4110
JUKYX
  
1-52
Y軸リニアガイド レール部(8箇所)
毎日 点検 所要時間:1分
異物などが落ちていないか、目視で点検
してください。
Y軸リニアガイド ブロック部(8箇所)
3か月ごと 清掃、給油 所要時間:5分
(ダフニーグリースMP No.1)
ウエスで古いグリースを拭取って、ハンド
グリースガンでグリースニップルから新し
いグリースを給してください。
糸くずなどを残さないよう
にしてください。
給油は、初回1か月後、以降3か月ごとに行
ってください。
F4A37A