MSR服务手册.pdf - 第68页
MSR 服务手册 4.8 切刀 4.8-1 D14SCC- W 5-200-A0 4.8 切刀 切刀 切刀 切刀 Sentence N o. D14 SCC-W 5-200-A0 4.8.1 切刀驱动弹簧的 切刀驱动弹簧 的 切刀驱动弹簧 的 切刀驱动弹簧 的长度调整 长度调整 长度调整 长度调整 相关 Unit No. 切刀 驱动弹 簧的尺度 的 调 整 ► 切刀驱动弹簧的长度调整 切刀驱动弹簧的长度调整 切刀驱动弹簧的长度调整 切刀…

MSR
服务手册
4.7 元件供给部:元件料架
D14SCC-W5-000-A0 4.7-4
4.7.3 料架台平行度的调整
料架台平行度的调整料架台平行度的调整
料架台平行度的调整
相关 Unit No.
1046850200AB
料架台平行度的调整
4.7.2
料架台、治具前端平
面度的调整
=准备
准备准备
准备=
1. 磁性表架
2. 百分表
►料架台平行度的调整
料架台平行度的调整料架台平行度的调整
料架台平行度的调整
1. 关闭变压器的电源。
2. 将磁性表架设置于上部框架。
3. 将百分表针置于料架台(前侧)的前端位置(Z1),
并置零(基准)。
4. 检查料架台的平行度。
=规格值
规格值规格值
规格值=
平行度:0.02mm以内
5. 在规格值之外时,旋松料架台的螺栓,放入塞片,
调整平行度。
=提示
提示提示
提示=
请不要一次旋松前料架台的所有螺栓。
6. 旋紧料架台的螺栓。
7. 再次检查平行度。
8. 打开变压器的电源。
百分表
料架台(后面)
料架台(前面)
ZL
ZR
Z1

MSR
服务手册
4.8 切刀
4.8-1 D14SCC-W5-200-A0
4.8 切刀
切刀切刀
切刀
Sentence No. D14SCC-W5-200-A0
4.8.1 切刀驱动弹簧的
切刀驱动弹簧的切刀驱动弹簧的
切刀驱动弹簧的长度调整
长度调整长度调整
长度调整
相关 Unit No.
切刀驱动弹簧的尺度
的调整
►切刀驱动弹簧的长度调整
切刀驱动弹簧的长度调整切刀驱动弹簧的长度调整
切刀驱动弹簧的长度调整
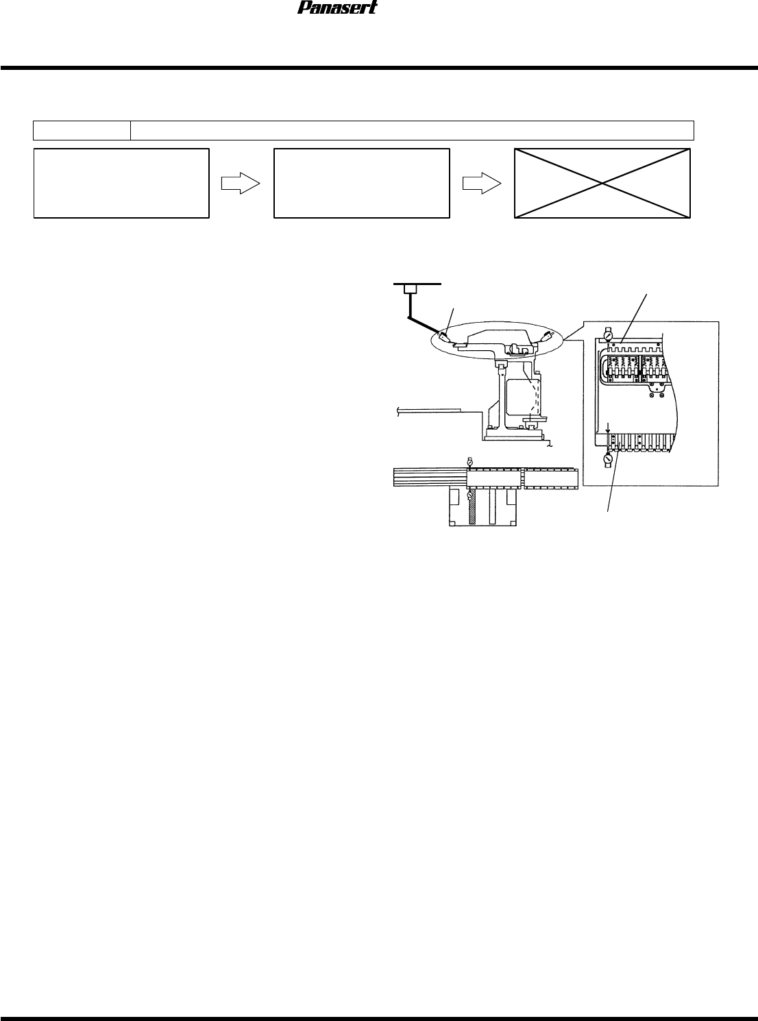
1. 转动手轮使循环计时器位于125°。
2. 确认切刀驱动弹簧的长度。
=规格值
规格值规格值
规格值=
长度:80±1mm
3. 在规格值之外时,旋松螺母调整长度。
4. 再次确认弹簧的长度。
螺母
切刀
驱动弹
簧
80 ±1 mm

MSR
服务手册
4.8 切刀
D14SCC-W5-200-A0 4.8-2
= 备忘录 =