DGS-程序手册_04BFC - 第1487页
程序手册 13.5 SCAP (Special Conv ert A Panasert) EJS9AC-MB-13P-19 Page 13 -77 13.5 SCAP (Special Convert A Panasert) 13.5.1 SCAP 是可将 Panasert 系列的贴装机程序转换成可导入 DGS 的文件格式的工具。 关于可进行转换的贴装机、贴装机程 序,请 参照 ‘13.5.5 转换对象贴装机 / 转换文件一览 ’ 。 …

程序手册
13.4
根据机种辨别标记进行机种切换的功能
Page 13-76 EJS9AC-MB-13P-19
13.4.5
设定成对的基板,并设定机种辨别标记的颜色。
1
选择
PPD
管理。
2
点击
[
自动准备替换
]
选项卡。
3
点击
[
机种辨别标记
]
选项卡。
4
选择成对的第
1
张的批量。
5
在按住
[Ctrl]
键的同时选择第
2
张的批
量。
*
请指定相同生产数据名的批量。
6
选择右击菜单的
[
对的设定
]
。
7
设定各个批量的机种辨别标记的颜色。
*
如果变更单方批量的标记颜色,另一方批量的
标记颜色也将自动改变。
8
点击
[
确定
]
。
·
在
‘
一对基板
’
中显示成对的基板名称与标记颜
色。
Howto130405S-02C00
8
7
Howto130405S-01C00
1
2
3
4
5
6
Howto130405S-03C00

程序手册
13.5 SCAP (Special Convert A Panasert)
EJS9AC-MB-13P-19 Page 13-77
13.5 SCAP (Special Convert A Panasert)
13.5.1
SCAP
是可将
Panasert
系列的贴装机程序转换成可导入
DGS
的文件格式的工具。
关于可进行转换的贴装机、贴装机程序,请参照
‘13.5.5
转换对象贴装机
/
转换文件一览
’
。
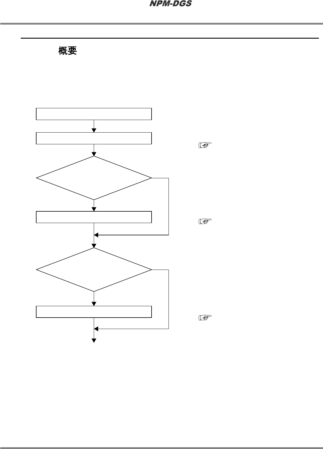
n
数据转换的流程
从通过
SCAP
转换
Panasert
系列的贴装机程序,到通过
DGS
实施最佳化的流程如下所示。
指定转换后的文件输出处以及转换到
SCAP
的
贴装机程序。
( ‘13.5.4
选择贴装机程序
’)
当不存在基板尺寸信息时,在
<Board size
setting>
画面上指定基板尺寸。
( ‘13.5.6
设定基板尺寸
’)
当在同一程序内无法链接
POS / SET
文件时,
在
<File Matching>
画面上进行分配。
( ‘13.5.7
贴装机程序的分配
’)
启动
SCAP
选择贴装机程序
贴装机程序的分配
下一页
设定基板尺寸
YES
NO
存在多个相同程序名的
POS
文件与
SET
文件。
YES
NO
没有基板尺寸信息。

程序手册
13.5 SCAP (Special Convert A Panasert)
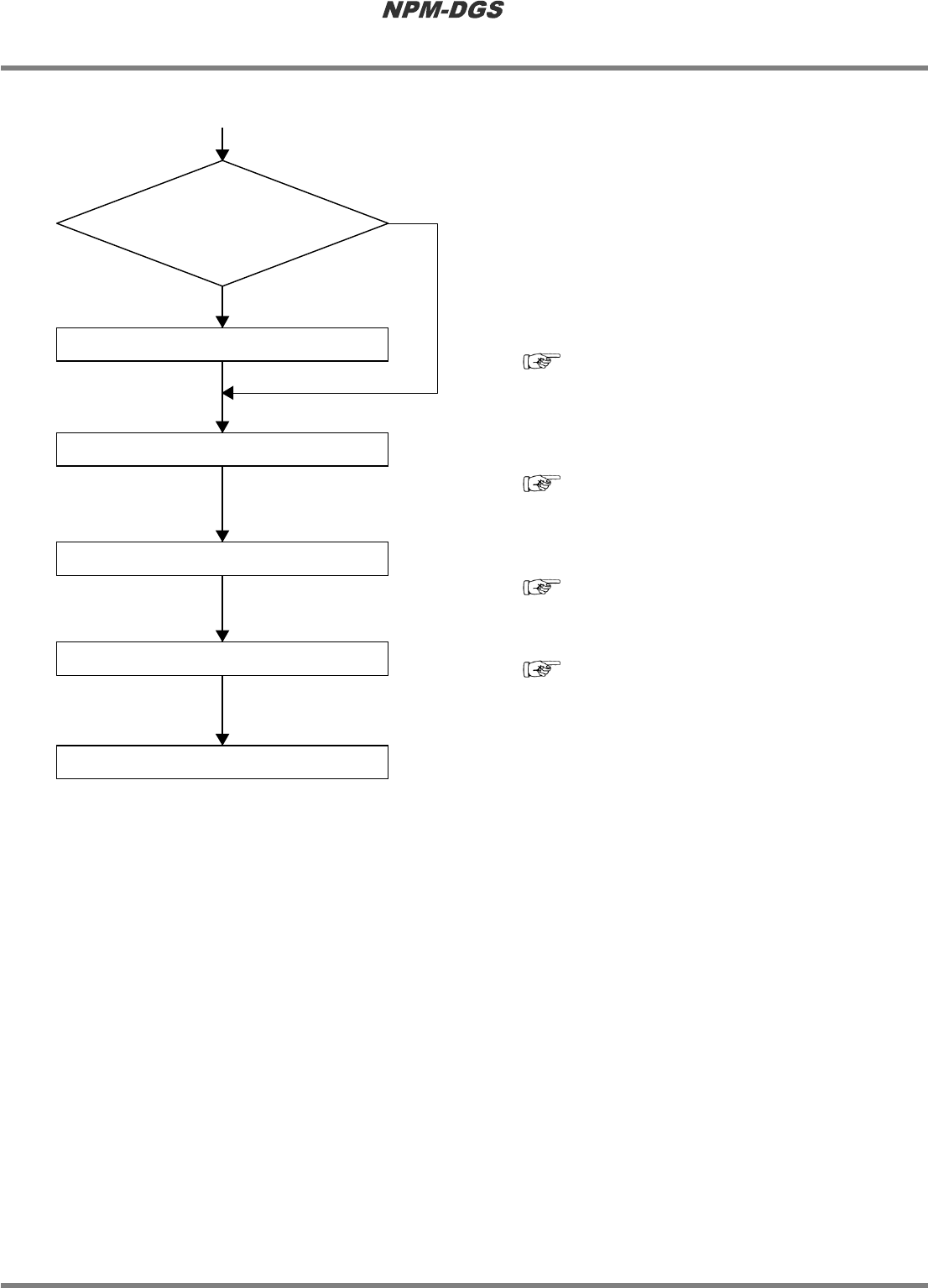
Page 13-78 EJS9AC-MB-13P-19
这是针对在贴装机程序中可预想到的存在凹陷
元件的功能,当确认到在实际元件的上部存在凹
陷时,在
<
上部凹陷元件
>
画面上勾选。
( ‘13.5.8
上部凹陷元件
’)
当贴装机程序与
DGS
的基板基准位置不同时,
设定补偿值后进行调整。
( ‘13.5.9
设定补偿值
’)
将贴装机程序转换到
NPM
生产数据格式
(
*
.Crb)
。
( ‘13.5.10
转换的执行
’)
导入编制生产数据所需的基板、元件数据等。
( ‘13.5.11 DGS
导入
’)
编制生产数据,并执行最优化。
(
与通常的数据编制相同。
)
*
通过
SCAP
转换后的数据,并不属于可直接下载到设备上或可进行贴装的文件。除了向
DGS
导
入以外,不可用于其他用途。
*
不可通过
SCAP
转换没有生产实绩的贴装程序。
接上一页
上部凹陷元件
YES
NO
在元件上存在凸凹。
设定补偿值
执行转换
DGS
导入
编制生产数据
(
最优化
)