文档中心
/
Protection S25-HM_20211123_095146
Protection S25-HM_20211123_095146 - 第2页
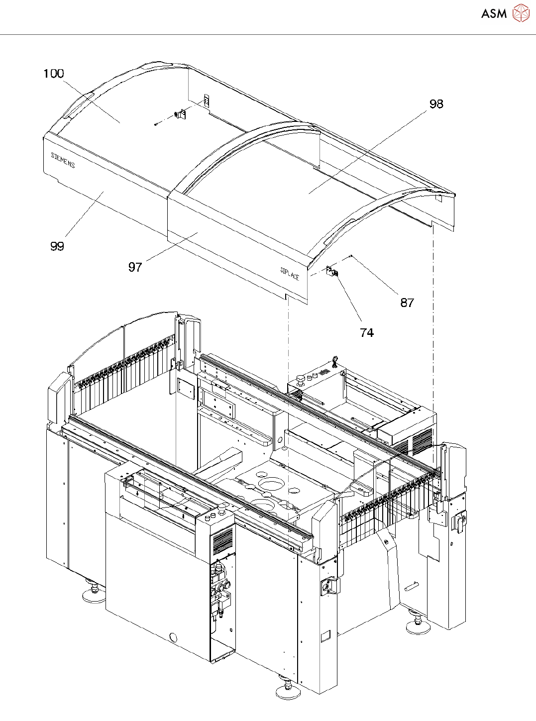
Protection S25-HM Page 2 / 17 23.11.2021
目录
100%
显示:宽度
宽度
1 / 17
回到旧版
旧版
?
Protection S25-HM
Page 1 / 17
23.11.2021
Protection S25-HM
Page 2 / 17
23.11.2021
Protection S25-HM
Page 3 / 17
23.11.2021
该页面需要启用 JavaScript 才能进行交互式预览。