Portal with CP20 head, SX1_2_20211123_071342.pdf - 第9页

Portal with CP20 head, SX1/2 Page 9 / 9 23.11.2021 Pos. Item no. Description Part marking 1 00519811S01 GANTRY WITH CP20 HEAD, SX1/2 RETROFIT KIT 2 03062383S06 GR GANTRY /P001 SPARE PART 3 03062095-03 PLACEMENT HEAD C+P2…

100%1 / 9
Portal with CP20 head, SX1/2
Page 7 / 9 23.11.2021
Portal with CP20 head, SX1/2
Page 8 / 9 23.11.2021
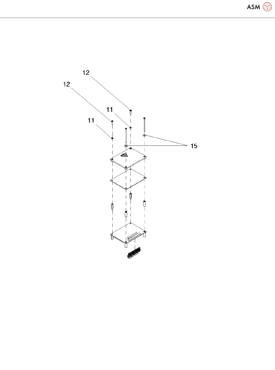
Portal with CP20 head, SX1/2
Page 9 / 9 23.11.2021
Pos. Item no. Description Part marking
1 00519811S01 GANTRY WITH CP20 HEAD, SX1/2 RETROFIT KIT
2 03062383S06 GR GANTRY /P001 SPARE PART
3 03062095-03 PLACEMENT HEAD C+P20A
03065866-01 UPGRADE KIT C+P20 / SX1/2
03065867-01 FLAT CABLE SET C+P20 / B-SERIES SPARE PART
6 03065868-01 HEAD ADAPTER HCU FOR C+P20 /
CPP
7 03055516S07 PCB / B-BASISADAPTER C+P SPARE PART
8 03090990-04 MHCU COMPLETE COMPATIBLE
9 03090998-02 MHCU-BA CONNECTION PCB SPARE PART
10 03109668S02 MHCU CPL. SPARE PART
11 03066808-01 ISO 7092 - 3 - 200 HV - A2 STANDARD PARTS
12 03042544-01 ISO 4762 - M 3 X 12-A2-70 STANDARD PARTS
03042542-01 ISO 4762 - M 3 X 8-A2-70 STANDARD PARTS
03008162-01 ISO 4032 - M3-A2-70 STANDARD PARTS
15 03022705-01 ISO 7093-1 - 3 - 200 HV - A2 STANDARD PARTS
03065869-01 PIPING C+P20 / B-SERIES
17 03048638-02 BOX SPARE PART
18 03062378-01 COMPONENT REJECT BOX UP TO
6X6 F. P001
SPARE PART
Powered by TCPDF (www.tcpdf.org)