JM-10_EPU使用说明书 - 第175页
EPU 使用说明书 第 4 章 制作生产程序 4- 129 4-1-8 数据完成状态 检查数据的完成 状态。若未完成则不 能进行优化。 从菜单栏中单击 「 数据 」 / 「数据完成状态 」,显示如下画面。 图 4-1-8-1 数据完成状态 如果记录数目和 完成数目一致 ,则表示数据 已完成,在 完成的“ ( ) ”中显示“ * ”。 另外 ,「吸取数据 」及记 录数目为 0 的项 目,即使不显示“ * ”,也被 看作完成。 当有未完成的…

EPU 使用说明书 第 4 章 制作生产程序
4-128
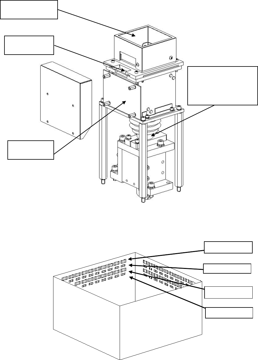
图 4-1-7-7-1
VCS
单元
图 4-1-7-7-2 侧面照明单元
侧面照明蓝色(1层)
侧面照明红色(1层)
侧面照明蓝色(
2 层)
侧面照明红色(
2 层)
侧面照明(4 方向)
同轴照明
・
54mm
视野摄像机
・27mm 视野摄像机
・
DFFP 摄像机
(选择摄像机)
下方照明

EPU 使用说明书 第 4 章 制作生产程序
4-129
4-1-8 数据完成状态
检查数据的完成状态。若未完成则不能进行优化。
从菜单栏中单击「数据」/「数据完成状态」,显示如下画面。
图 4-1-8-1 数据完成状态
如果记录数目和完成数目一致,则表示数据已完成,在完成的“( )”中显示“*”。
另外,「吸取数据」及记录数目为0的项目,即使不显示“*”,也被看作完成。
当有未完成的项目时,请完成该项目。

EPU 使用说明书 第 4 章 制作生产程序
4-130
4-1-9 数据一致性检查
检查已制作的程序和机器设置中的设置内容是否矛盾,并检查程序本身是否矛盾。
一致性检查结束后,即可进行优化。当检查结果显示有错误发生时,则显示错误内容。此时,
请参考显示内容,修改程序或「机器设置」。
●执行一致性检查
从菜单栏中选择「数据(D)」/「数据一致性检查(L)」,执行一致性检查。
●检查的结果报告
进行一致性检查后,显示如下信息。
① 正常结束时
② 检测出错误时
在此,按下「确定」按钮,则显示画面,要求确认是否显示错误内容。
●选择「确定」则显示错误内容。
错误信息内容
数据种类 数据内的制作No 错误内容
在 JM-10 中的错误内容。