KD-2077_使用说明书 - 第222页
第 1 部 基本 篇 第 4 章 制作 生 产程序 4-17 例 ) 以下是将左下角 定为基板 原点时 ( 单位为 mm) 的例子。 ①前面基准、 L → R 时: 125 5 5 165 ②前 面 基准、 R → L 时 125 5 5 165 ③ 后面 基准、 L → R 时 5 125 165 ④ 后面 基准、 R → L 时 基板外形尺寸 X=165 Y=125 定位孔位置 X=5 Y=5 基板设计偏移量 X=0 Y=0 基板原…

第 1 部 基本篇 第 4 章 制作生产程序
4-16
3)
基板设计偏移量
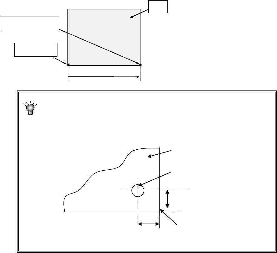
输入以基板原点确定的基板端点的位置。
使用 CAD 数据时,需要将决定的原点(CAD 原点或自己公司特有的原点)作为基板原点时,
输入由 CAD 等决定的从基板原点到基准位置(基板设计端点)的尺寸。
通常,基准孔的中心在离基板角 X、Y 均为±5mm 的位置。因此,当“定位孔位
置”与基板原点相同时,基板原点与“基板设计端点”的尺寸差 X、Y 均为±5mm。
前面基准、L→R 时:
基板
定位孔位置(=基板原点)
5mm
基板设计端点
传送为前面基准,基板流向为左
→右时,如果基板左下角为基板
原点,在基板设计偏移量的
X、
Y
坐标中分别
输入(Xb,0)的值。
Xb
取正值。
基板原点
基板设计端点
基板
Yb=0
Xb
5mm

第 1 部 基本篇 第 4 章 制作生产程序
4-17
例) 以下是将左下角定为基板原点时(单位为 mm)的例子。
①前面基准、L→R 时:
125
5
5
165
②前面基准、R→L 时
125
5
5
165
③后面基准、L→R 时
5
125
165
④后面基准、R→L 时
基板外形尺寸
X=165 Y=125
定位孔位置
X=5 Y=5
基板设计偏移量
X=0 Y=0
基板原点
基板设计端点
基板外形尺寸 X=165 Y=125
定位孔位置 X=160 Y=5
基板设计偏移量 X=165 Y=0
基板位置基准
基板设计端点
基板外形尺寸
X=165 Y=125
定位孔位置
X=160 Y=120
基板设计偏移量
X=165 Y=125
基板原点
5
基板设计端点
基板外形
尺寸 X=165 Y=125
定位孔位置
X=5 Y=120
基板设计偏移量
X=0 Y=125
基板原点
5
5
165
125
基板设计端点

第 1 部 基本篇 第 4 章 制作生产程序
4-18
4) BOC 标记位置
输入由基板原点到各 BOC 标记的中心位置的尺寸,进行标记形状的示教。
BOC 标记需要 2 点或 3 点。
有关示教方法,请参见“第 4 章 4-5-2 示教”。
输入 X、Y 坐标。 选择此处,用 HOD 示教标记形状。
◆使用2点时: 可修正设计尺寸和实际尺寸(测量尺寸)的差及旋转方向的误差。
请将第3点留为空白。另外,当基板上存在多个标记时,在顾及所有贴片范
围的同时,选择对角线上的2点。
◆使用3点时: 在2点时的基础上,还可修正X、Y轴的直角度的倾斜。
当有标记坐标的设计值(CAD 数据)时,绝对不要进行 X、Y 坐标的示教。
否则所有的贴片坐标将偏离设计值。
为避免人身伤害,示教时切勿将手放入装置内部,也不要将脸和头靠近
装置。
5) 坏板标记位置
单电路板无需设置(不能设置)。
注意
注意