NPM-W.pdf - 第327页
Ref No. Remark s R 1 Q'ty 39- F ツイントレイフィーダ本 体部 :NPM-W Tw in Tray Feeder M ain Body :NPM -W イラスト No. Part No. 品 名 品番 数量 R 2 パーツリスト Kit N o . キット品 番 Kit Name キット名称 N610121083AA Part Nam e 備 考 セクションNo. PARTS LIST Secti…

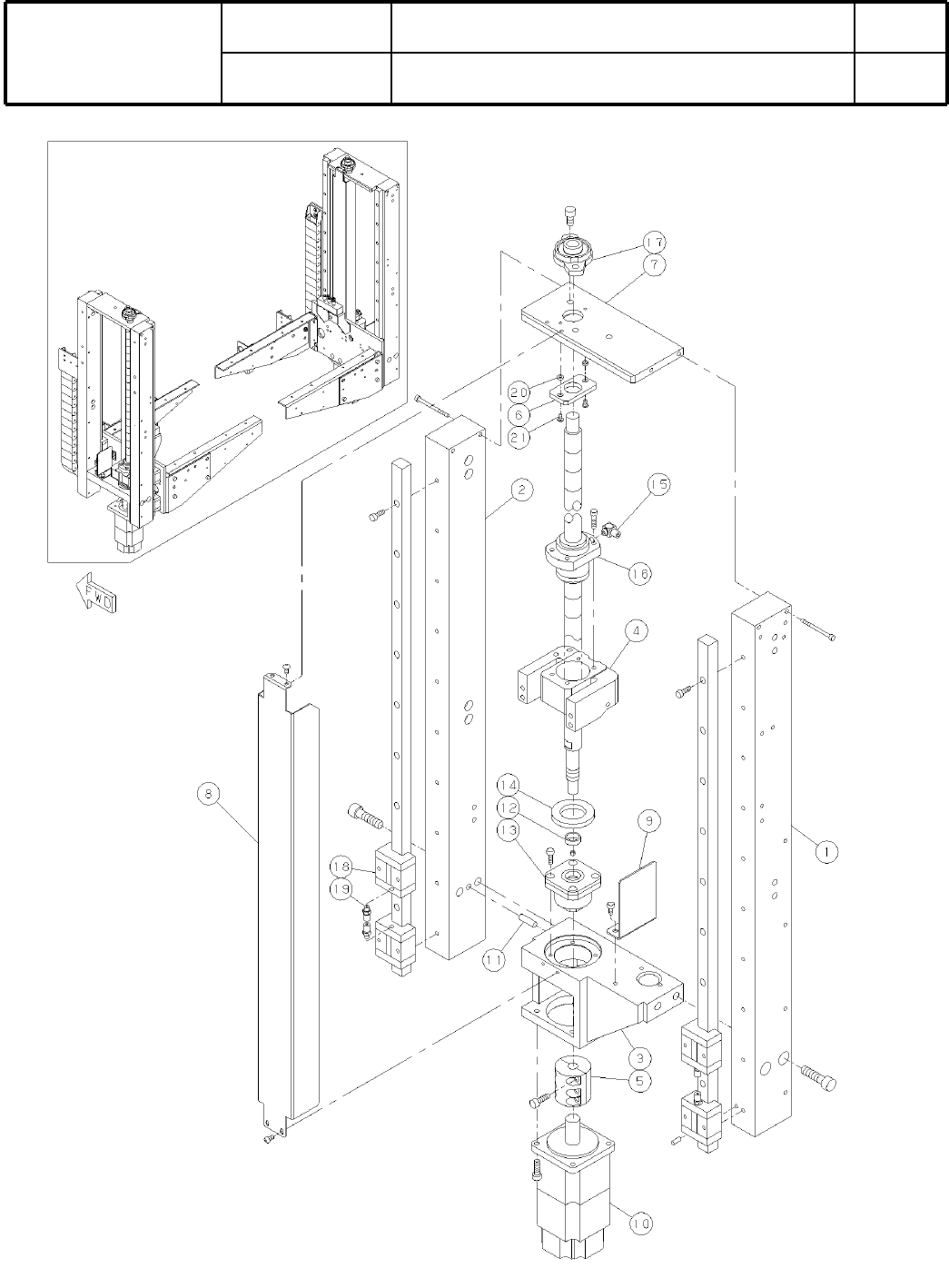
39-F
ツイントレイフィーダ本
体部
:NPM-W
Twin Tray Feeder Main Body :NPM-W
パーツレイアウト
Ki
t
N
o
.
キット
品番
Kit Name
キット名称
N610121083AA
セクションNo.
PARTS LAYOUT
Section No.
--
O137
( KN610121083AA-14-6 )

Ref
No.
Remarks
R
1
Q'ty
39-F
ツイントレイフィーダ本
体部
:NPM-W
Twin Tray Feeder Main Body :NPM-W
イラスト
No.
Part No.
品 名品番 数量
R
2
パーツリスト
Kit N
o
.
キット品
番
Kit Name
キット名称
N610121083AA
Part Name
備 考
セクションNo.
PARTS LIST
Section No.
R
3
COLLAR
20
1 KXFB014DA00
SHAFT
4
2 N210041096AA
PLATE
8
3 KXFB014GA00
STOPPER
8
4 KXFB014RA00
PLATE
2
5 KXFB07F0A00
COLLAR
8
6 KXFB015BA00
BRACKET
4
7 KXFB015LA00
PLATE
2
8 KXFB07F3A00
BRACKET
8
9 KXFB015QA00
BRACKET
8
10 KXFB015RA00
LINK
2
11 KXFB07F5A00
LINK
2
12 KXFB07F6A00
SPACER
8
13 N510017095AA CB-403E
SPRING
8
14 KXF0DWZ8A00 6657
BEARING
16
15 KXF0A1CAA00 F604ZZ
PLATE
4
16 KXF05EMAA00 GP5-1
WASHER
2
17 N510035715AA 87FWSSB-D14.0-V6.0-T4.0
JOINT
2
18 N510051100AA Y-P016A
SPACER
8
19 N510030566AA CB-412E
SPACER
8
20 N510030561AA CB-402E
NUT
18
21 N510017865AA
Hexagon nut Type-3 Best class M5-6H-4T A2J (Trivalent)
COLLAR
8
22 N510035714AA 87FNCLSS-V3.0-D10.0-L10.0
BOLT
4
23 N510017518AA
Hexagon socket button head screw M4X14-10.9 A2J (Trivalent)
SENSOR
1
24 N610080223AA GT7SN
CYLINDER
1
25 N610076227AB CDQSBS12-20-DCL7078L
CYLINDER
1
26 N610076228AB CDQSBS12-20-DCL7078L
CYLINDER
1
27 N610082929AB CDQSBS12-20-DCL7078L
CYLINDER
1
28 N610121090AB CDQSBS12-20-DCL7078L
CYLINDER
1
29 N610121091AB CDQSBS12-20-DCL7078L
SENSOR
1
30 N610121092AA GT7SN
CYLINDER
1
31 N610121093AA CDQSBS12-20-DCL7078L
O138
--
( KN610121083AA-14-6 )

40-A
ツイントレイフィーダリフト
部
:NPM-W
Twin Tray Feeder Lift Section:NPM-W
パーツレイアウト
Ki
t
N
o
.
キット
品番
Kit Name
キット名称
N610121141AA
セクションNo.
PARTS LAYOUT
Section No.
--
O139
( KN610121141AA-07-1 )