NPM-W.pdf - 第434页
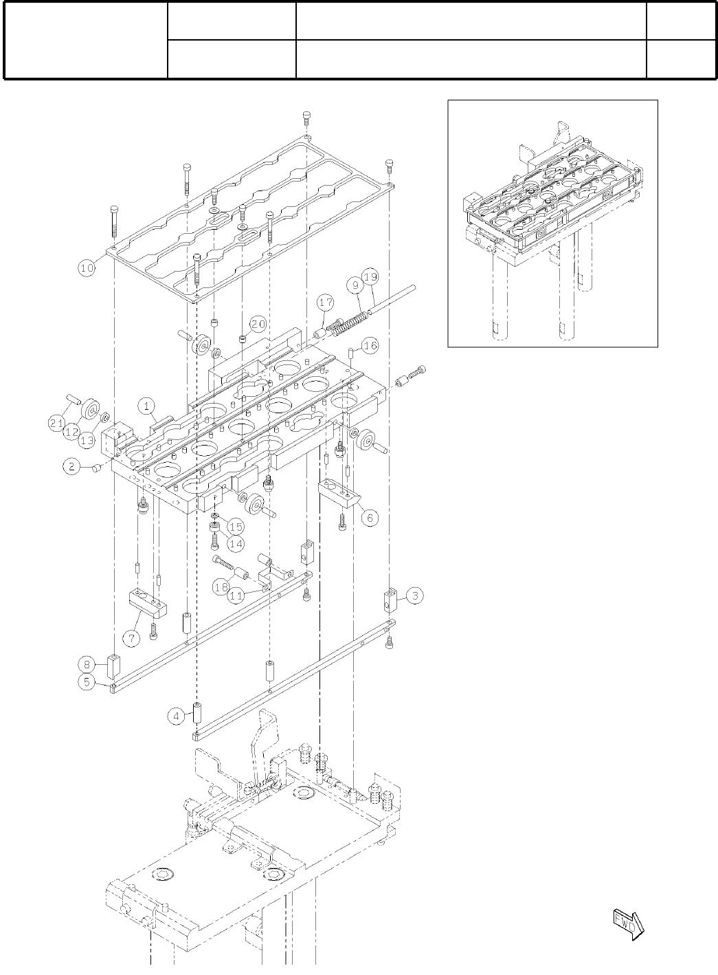
68 ノズルチェンジャー(3ノズルヘッド):NPM-W Nozzle Changer(3 Nozz le Head):NPM-W パーツレイアウト Ki t N o . キット 品番 Kit N am e キット名称 N610119861AA セクションNo. PARTS LAYOUT Section No. - - O245 ( KN610119861AA-04 )

Ref
No.
Remarks
R
1
Q'ty
67
ノズルチェンジャー(8ノズルヘッド):NPM
Nozzle Changer(8 Nozzle Head):NPM
イラスト
No.
Part No.
品 名品番 数量
R
2
パーツリスト
Kit N
o
.
キット品
番
Kit Name
キット名称
N610074585AA
Part Name
備 考
セクションNo.
PARTS LIST
Section No.
R
3
BASE
1
1 N210120272AB
HOLDER
1
2 N210093186AD
SHUTTER
1
3 N210092540AA
COLLAR
3
5 N210092262AA
GUIDE
1
6 N210092265AA
GUIDE
1
7 N210092266AA
BLOCK
2
8 N210092267AA
BLOCK
1
9 N210092268AD
BLOCK
1
10 N210092269AC
BLOCK
1
11 N210119468AB
SPRING
1
12 N210095852AA
GUIDE
1
13 N210093188AA
GUIDE
1
14 N210119469AA
BEARING
4
15 KXF0AB1AA00 634ZZ1MC3
SPACER
4
16 N510030561AA CB-402E
PIN
4
17 N510020598AA MMS4-15
BEARING
4
18 N510039650AA 693T12AZZMC3
SPACER
4
19 N510030918AA CB-301E
PIN
4
20 N510020591AA MMS3-15
SPACER
2
21 N510030217AA CB-305E
SPACER
1
22 N510038175AA C-505
BOLT
1
24 N510032921AA CCBS3-10
BOLT
4
25 N510017613AA
Hexagon socket Flat head bolt M3X8-10.9 A2J (Trivalent)
BOLT
4
27 N510036436AA LH0325 Trivalent chromate
PIN
1
28 N510020604AA MMS4-45
PIN
2
29 N986MMS410 MMS4-10
BLOCK
1
30 N210120266AB
STOPPER
1
31 N210106832AB
BLOCK
1
32 N210103604AB
SPACER
1
33 N510020196AA CB-310E
BLOCK
1
34 N210120129AA
BOLT
1
35 N510017311AA
Hexagon socket head cap screw M3X14-10.9 A2J (Trivalent)
WASHER
1
36 N210117350AA
O244
--
( KN610074585AA-09 )

68
ノズルチェンジャー(3ノズルヘッド):NPM-W
Nozzle Changer(3 Nozzle Head):NPM-W
パーツレイアウト
Ki
t
N
o
.
キット
品番
Kit Name
キット名称
N610119861AA
セクションNo.
PARTS LAYOUT
Section No.
--
O245
( KN610119861AA-04 )

Ref
No.
Remarks
R
1
Q'ty
68
ノズルチェンジャー(3ノズルヘッド):NPM-W
Nozzle Changer(3 Nozzle Head):NPM-W
イラスト
No.
Part No.
品 名品番 数量
R
2
パーツリスト
Kit N
o
.
キット品
番
Kit Name
キット名称
N610119861AA
Part Name
備 考
セクションNo.
PARTS LIST
Section No.
R
3
BASE
1
1 N210142859AB
STOPPER
1
2 N210106832AB
BLOCK
2
3 N210142860AA
COLLAR
3
4 N210092262AA
GUIDE
2
5 N210142861AA
BLOCK
1
6 N210092268AD
BLOCK
1
7 N210092269AC
BLOCK
1
8 N210103604AB
SPRING
1
9 N210143616AA
SHUTTER
1
10 N210142862AD
GUIDE
1
11 N210100268AA
BEARING
4
12 KXF0AB1AA00 634ZZ1MC3
SPACER
4
13 N510030561AA CB-402E
BEARING
4
14 N510039650AA 693T12AZZMC3
SPACER
4
15 N510030918AA CB-301E
PIN
34
16 N510020589AA MMS3-8
SPACER
2
17 N510019914AA CB-308E
SPACER
2
18 N510020196AA CB-310E
PIN
1
19 N510020605AA MMS4-50
WASHER
2
20 N210160242AA
PIN
4
21 XPJ4A12FR Parallel pin 4X12 m6A Steel Quenched
O246
--
( KN610119861AA-04 )