Computer unit_20211124_083226 - 第4页
Computer unit Page 4 / 4 24.11.2021 Pos. Item no. Description Part marking 1 03002110-01 COMPUTER UNIT SIPLACE HF 2 00366803S03 MVS340-6 VME V2321M CALIBR. SPARE PART 3 03003217-01 COMPUTER UNIT WITHOUT MVS SIPLACE HF 4 …

Computer unit
Page 2 / 4 24.11.2021

Computer unit
Page 3 / 4 24.11.2021

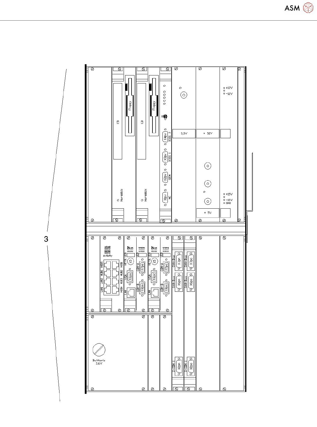
Computer unit
Page 4 / 4 24.11.2021
Pos. Item no. Description Part marking
1 03002110-01 COMPUTER UNIT SIPLACE HF
2 00366803S03 MVS340-6 VME V2321M CALIBR. SPARE PART
3 03003217-01 COMPUTER UNIT WITHOUT MVS
SIPLACE HF
4 03004917S02 COMPUTER UNIT BASE SIPLACE HF SPARE PART
5 03002112-02 COMPUTER UNIT RACK SIPLACE HF
03002116-01 COMBI-BACKPLANE COMPUTER
UNIT
7 03006602-01 FAN UNIT COMPUTER UNIT SPARE PART
8 03006603-01 FAN UNIT MOUNT COMPUTER UNIT
9 03004501-01 AXIAL FAN 4314 24VDC
10 03006604-01 COVER PLATE VENTILATION
11 03006633-01 FRONT PLATE BATTERY
12 00305424-01 BATTERY SECTION 1504 1-MIGNON SPARE
13 00336392-01 BATTERY LITHIUM 3.6V MIGNON
14 03039080S01 CPU ASSY SMP16-CPU076 1.26GHZ
192MB
SPARE PART
15 03002113S01 CPU-PCB. SMP16-CPU076MC
566MHZ/64MB
SPARE PART
16 03002115S04 MASS MEMORY BOARD KSP-
MEM364
SPARE PART
17 00372446-01 COMMUNICATION UNIT KSP-
COM352A
Spare Part
18 03051561-02 VIDEO MULTIPLEXER KSP-VMP-
S50/HF
SPARE PART
19 00367468S02 LAN - CARD KSP-COM294 2X LAN
6X HUB
SPARE PART
20 03002126-03 DC/DC-CONVERTER KSP-NTS50-3
+3,3V 24V
SPARE PART
21 00329220-04 POWER SUPPLY +5V SPARE PART
22 00328492S03 DC/DC-CONVERTER KSP-SV501
+/-12V
SPARE PART
03010615-01 CABLE: SVGA EXTENSION, 0.3M SPARE PART
Powered by TCPDF (www.tcpdf.org)