JM-20使用说明书 - 第1020页
第 2 部 功能详解篇 第 13 章 选项组件 13 - 38 ( 1) 在主机右侧面的接口板上的「 MTS 用电源连接器 」、「 接口连接器」、「 MT S 用 φ 6 管道取出口」 上, 连接 各缆线和压缩空 气管。 ( 2) 接通 装置的电 源,请实施机器设 置 「使用 单元 」及「 MTS 安装 位置偏移量」的 设置 。 ① ② ③ TR5S NX /5SNI TR7DN ① MTS 用 电源连接器 ② MTS 用 接口连接器 …

第 2 部 功能详解篇 第 13 章 选项组件
13-37
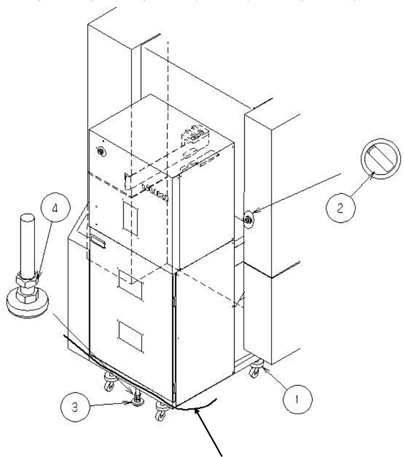
调整水平后,请将脚轮调节器①(2 处)旋回 1 圈,使装置前部下降。
松开主机构造阀的捆束线,将起重装置的罩安装在主机上,使主机的选择 SW②为 ON,进行夹持。
请多次反复安装拆下,以确认是否确实可以夹持。
(不能夹持时,可能是构造阀不能完全关闭,请调整起重装置罩的位置)
请在夹持状态下再次调整水平(微调整 )。
调整后,请将调节器③降至接触地面的位置,最后用锁紧螺母④进行固定。
请将缆线、压缩空气管道盘绕在框架的下部。
管线・气管

第 2 部 功能详解篇 第 13 章 选项组件
13-38
(1) 在主机右侧面的接口板上的「MTS用电源连接器」、「接口连接器」、「MTS用φ 6管道取出口」
上,连接各缆线和压缩空气管。
(2) 接通装置的电源,请实施机器设置「使用单元」及「MTS安装位置偏移量」的设置。
①
②
③
TR5SNX/5SNI
TR7DN
① MTS 用电源连接器
② MTS 用接口连接器
③ MTS 用
φ
6 管道取出口
④
①
②
③
①
MTS
用电源连接器
② MTS用接口连接器
③ MTS用接口连接器(与JM-20连
接时不使用)
④ MTS 用 Φ6 管道取出口

第 2 部 功能详解篇 第 13 章 选项组件
13-39
13-6 夹式吸嘴
夹式吸嘴,是用于吸取和贴装表面没有吸取面的元件、激光·图像两用的吸嘴。(亦译为“抓取吸嘴”)
13-6-1 特点
夹式吸嘴,专用于吸取表面无吸取面的元件,通过「固定臂」和「摇臂」组合,从元件侧面吸取元件。
力度强,可稳定吸取/贴片。
部品
つめ深さ
押し当て位置
②
①
① 固定臂
② 摇臂
钩爪深度
夹持位置
(紧贴位置)
元件