JM-20使用说明书 - 第347页
第 1 部 基本篇 第 3 章 维护 3- 31 清扫部位 3-3- 18 引脚矫正单元 实施频度 : 每月 清扫内容 清扫引脚 矫正治具 的沾污 <L 、 XL 基板 规格 > 1 ) 如图所 示,从 治具基座上取 下 引脚 矫正单元。 2 ) 确认引脚矫 正单元的治具 部分 ,去除 沾污。 (用 气枪 等喷吹治具部分 ,实施清扫。) 在清 扫时,不要 取下治具,应对整个单元 实施清扫。 3 ) 按照 1 )的 相反步骤 …

第 1 部 基本篇 第 3 章 维护
3-30
清扫部位
3-3-17 风扇马达过滤器
实施频度 :每 6 个月
清扫内容 清扫风扇马达过滤器脏污
<L、XL 基板规格>
1)请检查装置右侧面外壳上安装的风扇马达护罩(过滤器)的脏污。
2)如果过滤器上附着明显的脏污(沾着垃圾和尘埃),请将护罩拆下,去除过滤器的脏污。
卸下螺钉(2 处)即可拆下。
3)如果过滤器的脏污很难去除,或者过滤器有损坏时,请用以下货号的过滤器进行更换。
风扇马达过滤器
(5
个一套
)
货号
HM001010010

第 1 部 基本篇 第 3 章 维护
3-31
清扫部位
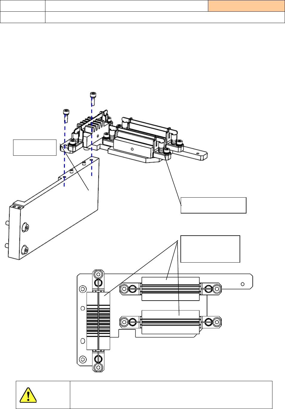
3-3-18 引脚矫正单元
实施频度 :每月
清扫内容 清扫引脚矫正治具的沾污
<L、XL 基板规格>
1) 如图所示,从治具基座上取下引脚矫正单元。
2) 确认引脚矫正单元的治具部分,去除沾污。
(用气枪等喷吹治具部分,实施清扫。)
在清扫时,不要取下治具,应对整个单元实施清扫。
3) 按照 1)的相反步骤将引脚矫正单元安装到治具基座上。
工具基座
引脚矫正单元
矫正工具
(正反两面)

第 1 部 基本篇 第 3 章 维护
3-32
清扫部位
3-3-19 多针引脚矫正单元
实施频度 :每月
清扫内容 清扫多针引脚矫正治具的脏污
<L、XL 基板规格>
1) 请按照图示,从治具基座块上取下多针引脚矫正单元。
2) 请确认多针引脚矫正单元的治具部分,除去脏污。
(请使用气枪等将治具部分吹干净,实施清扫。)
清扫时请勿取下治具,在整个单元的状态下进行清扫。
3) 请按照与 1)相反的顺序将引脚矫正单元安装在治具基座上。(更换方法也相同)
注意
请勿取下矫正治具。
多针引脚矫正单元
多针引脚矫正治具
※请勿取下
治具基座块