NPM-TT2 PARTS LIST1811 - 第211页

Ref No. Remarks R 1 Q'ty 2-C 基板ホルダデュアル対応:NPM-TT2 Board Holder For Dual:NPM -TT 2 イラスト No. Part No. 品 名 品 番 数量 R 2 パーツリスト Kit No. キット品番 Kit Name キット名称 MTKA008435AA Part Nam e 備 考 セク ション No . PARTS LIST Section No. R …

100%1 / 614
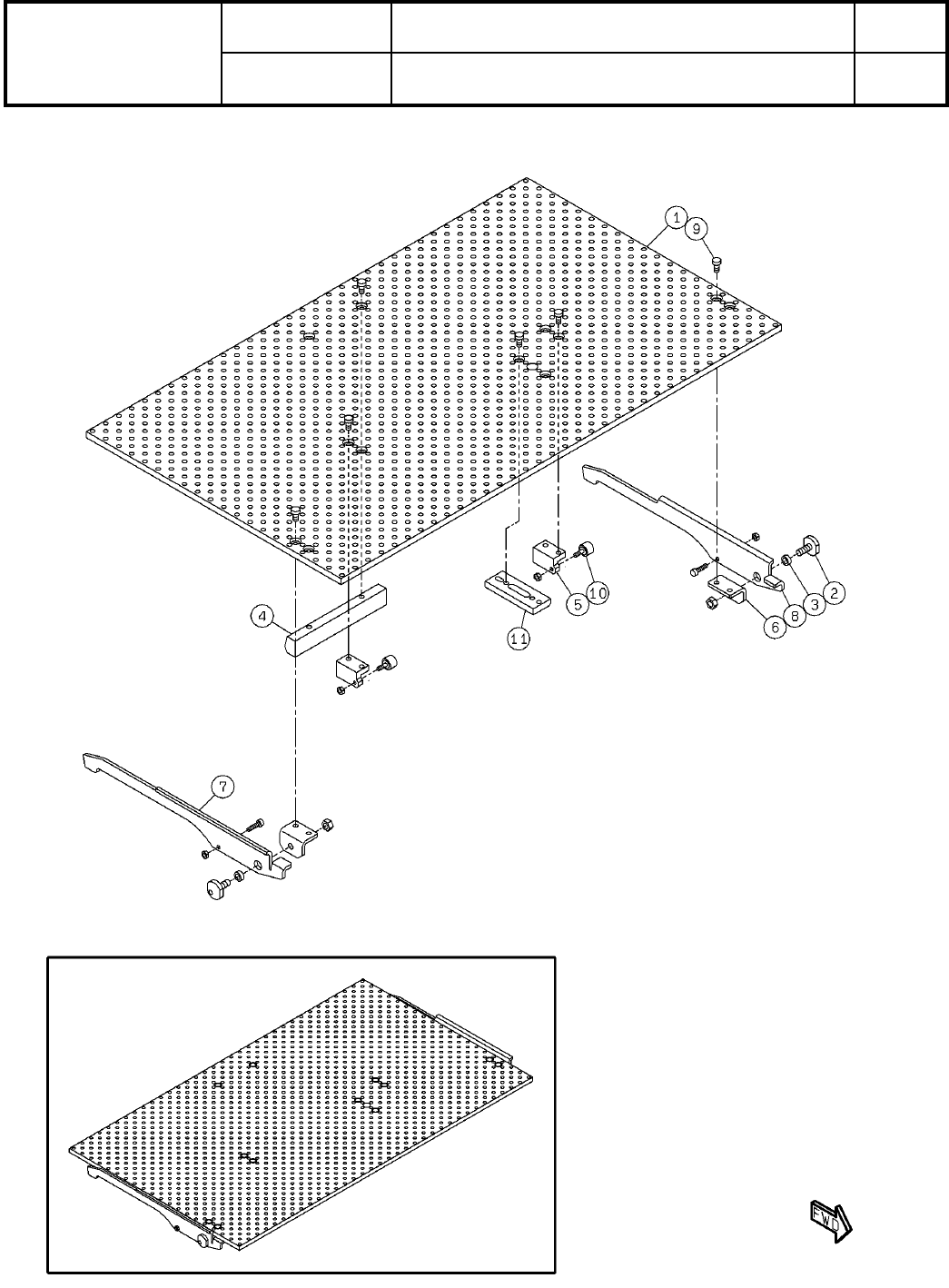
2-C
基板ホルダデュアル対応:NPM-TT2
Board Holder For Dual:NPM-TT2
パーツレイアウト
Kit No.
キット品番
Kit Name
キット名称
MTKA008435AA
セクションNo.
PARTS LAYOUT
Section No.
--
O23
( KMTKA008435AA-05-3 )
Ref
No.
Remarks R
1
Q'ty
2-C
基板ホルダデュアル対応:NPM-TT2
Board Holder For Dual:NPM-TT2
イラスト
No.
Part No.
品  名品  番 数量
R
2
パーツリスト
Kit No.
キット品番
Kit Name
キット名称
MTKA008435AA
Part Name
備   考
セクションNo.
PARTS LIST
Section No.
R
3
BRACKET
2
1 MTPB009294AA
BRACKET
2
3 N210134081AA
BRACKET
2
4 N210159012AA
JOINT
2
5 N510066749AA KQ2E06-00NJ
VALVE
2
6 KXF0BV4AA00 SYJ514R-5LOZ-01
JOINT
2
7 N510066461AA KQ2L06-M5A
SPEED-CONTROLLER
2
8 KXF09WUAA00 ASD330F-01-06S
VALVE
2
9 MTNP002297AA 4GA130R-M5-A2NSF-FL641830-3-ST
SPEED-CONTROLLER
4
10 KXF00YVAA00 AS1211F-M5-06
SILENCER
4
11 KXF0BB2AA00 SLM-M5
JOINT
2
12 N431GWL6M5 GWL6-M5
JOINT
2
13 N510066456AA KQ2U06-00A
JOINT
2
14 N510066452AA KQ2U06-99A
O24
--
( KMTKA008435AA-05-3 )
3
基板下受けブロックデュアル対応:NPM-TT
Board Support Block For Dual:NPM-TT
パーツレイアウト
Kit No.
キット品番
Kit Name
キット名称
N610136590AA
セクションNo.
PARTS LAYOUT
Section No.
--
O25
( KN610136590AA-08 )