NPM-TT2 PARTS LIST1811 - 第230页
11 基板下受けブロックデュアル260mm対応:NPM-TT2 Board Support Block For Dual 260mm:NPM -TT 2 パーツレイアウト Kit No. キット 品番 Kit Name キット名称 MTKA005137AA セクションNo. PARTS LAYOUT Section No. - - O43 ( KMTKA005137AA-01 )

Ref
No.
Remarks R
1
Q'ty
10-B
デュアルコンベア(260mm対応):NPM-TT2
Dual Conveyor (260mm Support):NPM-TT2
イラスト
No.
Part No.
品 名品 番 数量
R
2
パーツリスト
Kit No.
キット品番
Kit Name
キット名称
MTKA008689AA
Part Name
備 考
セクションNo.
PARTS LIST
Section No.
R
3
COVER
2
1 MTKP004260AA
O42
--
( KMTKA008689AA-02-2 )

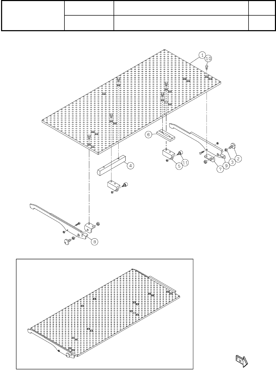
11
基板下受けブロックデュアル260mm対応:NPM-TT2
Board Support Block For Dual 260mm:NPM-TT2
パーツレイアウト
Kit No.
キット品番
Kit Name
キット名称
MTKA005137AA
セクションNo.
PARTS LAYOUT
Section No.
--
O43
( KMTKA005137AA-01 )

Ref
No.
Remarks R
1
Q'ty
11
基板下受けブロックデュアル260mm対応:NPM-TT2
Board Support Block For Dual 260mm:NPM-TT2
イラスト
No.
Part No.
品 名品 番 数量
R
2
パーツリスト
Kit No.
キット品番
Kit Name
キット名称
MTKA005137AA
Part Name
備 考
セクションNo.
PARTS LIST
Section No.
R
3
PLATE
1
1 MTPA008370AA
PIN
2
2 N210161075AA
COLLAR
2
3 N210156596AA
BLOCK
1
4 MTPA008371AA
BLOCK
2
5 MTPA008373AA
BLOCK
1
6 N210165840AC
BRACKET
2
7 N210156599AB
LEVER
1
8 N210161078AC
LEVER
1
9 N210161079AC
BOLT
12
10 N510067773AA Low Head Cap Screw M4X8-8.8 A2J(Trivalent)
CAM-FOLLOWER
2
11 KXF00BFAA00 CF3UU-A
O44
--
( KMTKA005137AA-01 )