NPM-TT2 PARTS LIST1811.pdf - 第460页
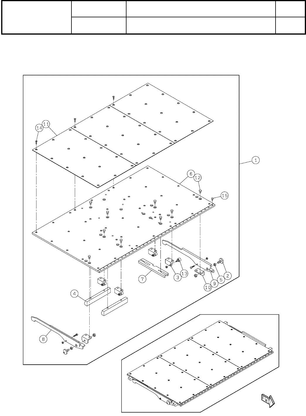
84- F 下受けピン自動交換ユニット:NPM-TT2 Support Pin Automatic Change Unit:NPM -TT 2 パーツレイアウト Kit No. キット 品番 Kit Name キット名称 MTKA008316AA セクションNo. PARTS LAYOUT Section No. - - O267 ( KMTKA008316AA-00-6 )

Ref
No.
Remarks R
1
Q'ty
84-E
下受けピン自動交換ユニット:NPM-TT2
Support Pin Automatic Change Unit:NPM-TT2
イラスト
No.
Part No.
品 名品 番 数量
R
2
パーツリスト
Kit No.
キット品番
Kit Name
キット名称
MTKA008316AA
Part Name
備 考
セクションNo.
PARTS LIST
Section No.
R
3
Board Support Block
1
1 N610144183AD
PIN
2
2 N210161075AA
BRACKET
2
3 N210161077AA
BRACKET
1
4 N210170229AB
COLLAR
2
5 N210156596AA
PLATE
1
6 N210168930AE
BLOCK
1
7 N210170988AA
LEVER
1
8 N210161078AB
LEVER
1
9 N210161079AB
BRACKET
2
10 N210156599AA
PLATE
3
11 N610152320AA
BOLT
12
12 N510067772AA Low Head Cap Screw M4X6-8.8 A2J(Trivalent)
CAM-FOLLOWER
2
13 KXF00BFAA00 CF3UU-A
BOLT
45
14 N510017610AA
Hexagon socket Flat head bolt M3X10-10.9 A2J (Trivalent)
BOLT
32
15 XVE3B4VW Hexagon socket head cap screw M3X4-A2-70
O266
--
( KMTKA008316AA-00-5 )

84-F
下受けピン自動交換ユニット:NPM-TT2
Support Pin Automatic Change Unit:NPM-TT2
パーツレイアウト
Kit No.
キット品番
Kit Name
キット名称
MTKA008316AA
セクションNo.
PARTS LAYOUT
Section No.
--
O267
( KMTKA008316AA-00-6 )

Ref
No.
Remarks R
1
Q'ty
84-F
下受けピン自動交換ユニット:NPM-TT2
Support Pin Automatic Change Unit:NPM-TT2
イラスト
No.
Part No.
品 名品 番 数量
R
2
パーツリスト
Kit No.
キット品番
Kit Name
キット名称
MTKA008316AA
Part Name
備 考
セクションNo.
PARTS LIST
Section No.
R
3
Board Support Block
1
1 N610144184AD
PIN
2
2 N210161075AA
BRACKET
4
3 N210161077AA
BRACKET
2
4 N210170229AB
COLLAR
2
5 N210156596AA
PLATE
1
6 N210168930AE
BLOCK
1
7 N210170511AB
LEVER
1
8 N210161078AB
LEVER
1
9 N210161079AB
BRACKET
2
10 N210156599AA
PLATE
3
11 N610152320AA
BOLT
18
12 N510067772AA Low Head Cap Screw M4X6-8.8 A2J(Trivalent)
CAM-FOLLOWER
4
13 KXF00BFAA00 CF3UU-A
BOLT
45
14 N510017610AA
Hexagon socket Flat head bolt M3X10-10.9 A2J (Trivalent)
BOLT
32
15 XVE3B4VW Hexagon socket head cap screw M3X4-A2-70
O268
--
( KMTKA008316AA-00-6 )