NPM-TT2 PARTS LIST1811 - 第561页
Ref No. Remarks R 1 Q'ty 122 基板下受けブロック(自動交換用):NPM-TT(Front側) Board Support Block(Automati c Change):NPM -TT (Front Side イラスト No. Part No. 品 名 品 番 数量 R 2 パーツリスト Kit No. キット品番 Kit Name キット名称 N610144183AD Part Nam e 備 …

122
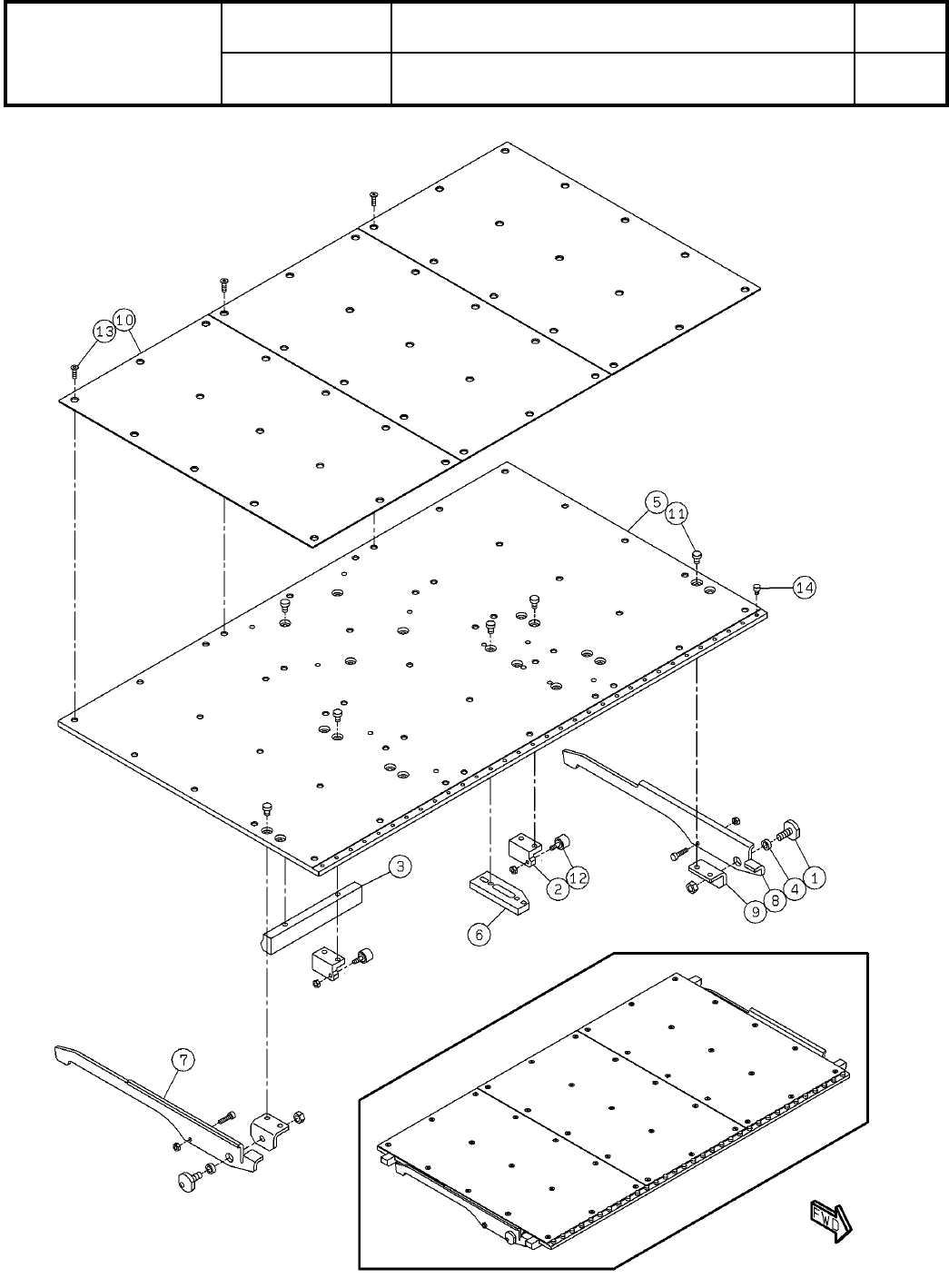
基板下受けブロック(自動交換用):NPM-TT(Front側)
Board Support Block(Automatic Change):NPM-TT(Front Side
パーツレイアウト
Kit No.
キット品番
Kit Name
キット名称
N610144183AD
セクションNo.
PARTS LAYOUT
Section No.
--
O373
( KN610144183AD-02 )

Ref
No.
Remarks R
1
Q'ty
122
基板下受けブロック(自動交換用):NPM-TT(Front側)
Board Support Block(Automatic Change):NPM-TT(Front Side
イラスト
No.
Part No.
品 名品 番 数量
R
2
パーツリスト
Kit No.
キット品番
Kit Name
キット名称
N610144183AD
Part Name
備 考
セクションNo.
PARTS LIST
Section No.
R
3
PIN
2
1 N210161075AA
BRACKET
2
2 N210161077AA
BRACKET
1
3 N210170229AB
COLLAR
2
4 N210156596AA
PLATE
1
5 N210168930AE
BLOCK
1
6 N210170988AA
LEVER
1
7 N210161078AC
LEVER
1
8 N210161079AC
BRACKET
2
9 N210156599AB
PLATE
3
10 N610152320AA
BOLT
12
11 N510067772AA Low Head Cap Screw M4X6-8.8 A2J(Trivalent)
CAM-FOLLOWER
2
12 KXF00BFAA00 CF3UU-A
BOLT
45
13 N510017610AA
Hexagon socket Flat head bolt M3X10-10.9 A2J (Trivalent)
BOLT
32
14 XVE3B4VW Hexagon socket head cap screw M3X4-A2-70
O374
--
( KN610144183AD-02 )

123
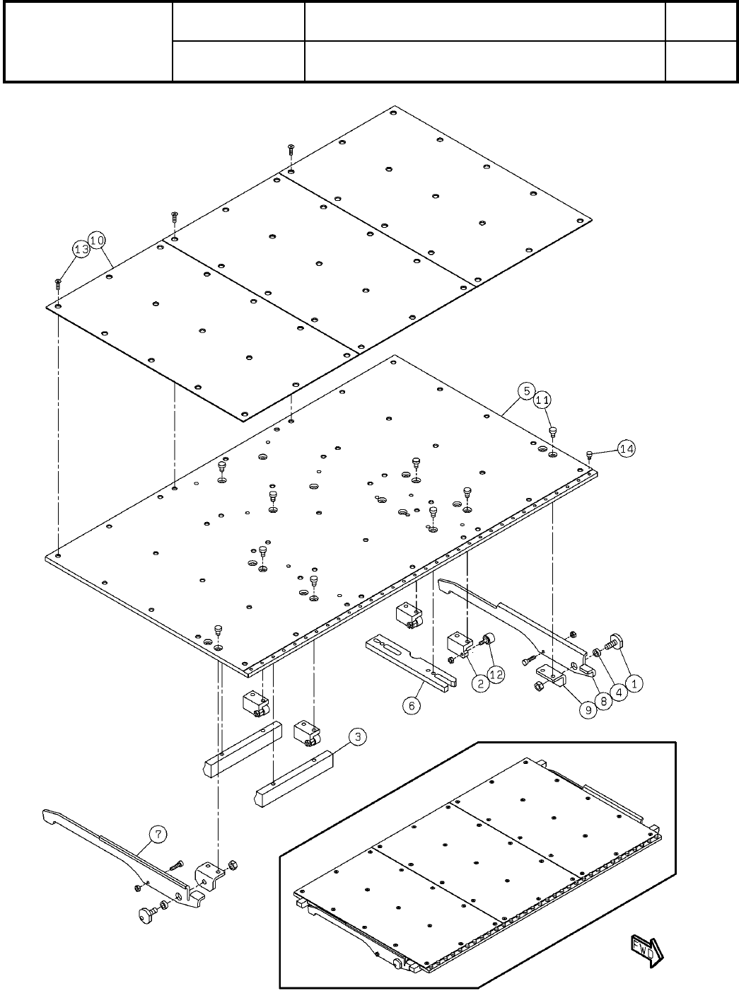
基板下受けブロック(自動交換用):NPM-TT(Rear側)
Board Support Block(Automatic Change):NPM-TT(Rear Side)
パーツレイアウト
Kit No.
キット品番
Kit Name
キット名称
N610144184AD
セクションNo.
PARTS LAYOUT
Section No.
--
O375
( KN610144184AD-02 )