03. NXT Feeder Part list III - 第38页
11 2 4 13 15 16 16 8 14 5 9 17 18 21 10 6 21 18 22 22 1 23 23 ࣮ࣜࣝ࣍ࣝࢲ:F:Iࣥࢳ 5((/+2/'(5:F:ILQFK 38 PTS-FIFEEDER-13JE

REEL HOLDER (SHORT CENTER PIN TYPE) W08c,W08f 7inch
リール ホルダ (ショートセンターピンタイプ) W08c,W08f 7インチ
No. Dr
g
.No. & Code No. QTY Descri
p
tion Ratin
g
Materials Remarks
番号 図番 & コード番号 個数 品名
規
格材質 備考
1 2ADLFA002003 1 HOLDER, REEL ホルダ リール OT
2 PM048F1 1 SLIDER スライダ FE
3 PT01740 2 STOPPER ストッパ AL
4 2MDLFA033000 1 SLIDER スライダ PL
4.1 2MDLFA031200 1 PIN ピン FE
5 PP02253 1 PLATE, RETAINING
プ
レート 押え FE
6 K5169N 4 SCREW, C
/
R COUNTERSUNK 小ネジ 十穴皿 M02X008(ステンレス) FE
7 N1074A 4 NUT, HEX ナット 六角 M02(ステンレス) FE
8 PP02240 1 JAW 爪 FE
9 PZ27731 1 SPRING ス
プ
リン
グ
FE
11 PP03451 1 PLATE, SIDE
プ
レート サイド FE
12 K65003 1 SCREW, HEX SOCKET COUNTERSUNK 小ネジ 六角穴皿 M03X005(3カ シロ) FE
13 PH01481 1 ROLLER ローラ PL
14 PM97974 1 PIN ピン FE
15 K5357L 1 SCREW, HEX SOCKET COUNTERSUNK 小ネジ 六角穴皿 M03X006(3カ シロ) FE
16 2MDLFA025800 1 PLATE, SIDE
プ
レート サイド FE
17 K65003 1 SCREW, HEX SOCKET COUNTERSUNK 小ネジ 六角穴皿 M03X005(3カ シロ) FE
18 K65002 1 SCREW, HEX SOCKET COUNTERSUNK 小ネジ 六角穴皿 M03X012(3カ シロ) FE
18.1 N1079W 1 NUT, HEX ナット 六角 M03 3シュ(3カ シロ) FE
18.2 W1108B 1 WASHER, FLAT ワッシャ 平 3M
/
MX0.5X7(3カシロ) FE
19 PM97983 1 PIN ピン FE
20 K5357L 2 SCREW, HEX SOCKET COUNTERSUNK 小ネジ 六角穴皿 M03X006(3カ シロ) FE
21 PH01413 1 ARM アーム OT
22 PZ34281 1 SPRING, TORSION ス
プ
リン
グ
ネジリ FE
23 PM04LS3 1 PIN, PIVOT ピン 支点 FE
24 K5357L 2 SCREW, HEX SOCKET COUNTERSUNK 小ネジ 六角穴皿 M03X006(3カ シロ) FE
25 PH01423 1 BKT, SLIDE BKT スライド PL
26 N1079B 2 NUT, HEX ナット 六角 M04 P=0.7 1シュ(3カシロ) FE
27 2MDLFA005700 1 SEAL シール OT
28 2MDLFA009600 1 SEAL シール OT
31 2MDLFA159400 2 BOLT ボルト OT
32 PX09121 4 SEAL, BAR CODE シール バーコード OT W08c, unit serial number
33 2MDLFA067400 4 SEAL, BAR CODE シール バーコード OT W08f, unit serial number
37
PTS-FIFEEDER-13JE

11
2
4
13
15
16
16
8
14
5
9
17
18
21
10
6
21
18
22
22
1
23
23
࣮ࣜࣝ࣍ࣝࢲ:F:Iࣥࢳ
5((/+2/'(5:F:ILQFK
38
PTS-FIFEEDER-13JE

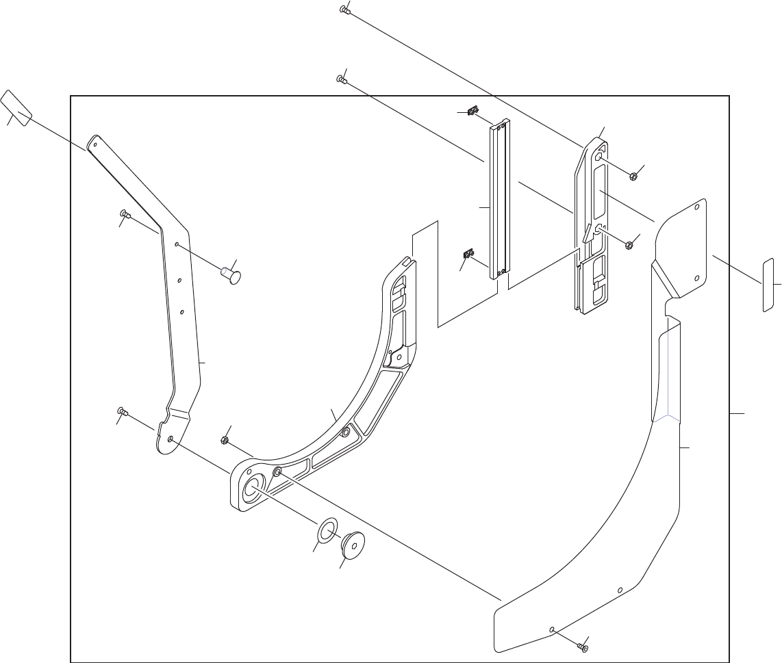
REEL HOLDER W08c,W08f 13inch
リール ホルダ W08c,W08f 13インチ
No. Dr
g
.No. & Code No. QTY Descri
p
tion Ratin
g
Materials Remarks
番号 図番 & コード番号 個数 品名
規
格材質 備考
1 AA1KA14 1 HOLDER, REEL ホルダ リール OT
2 PJ02158 1 HOLDER, REEL ホルダ リール PL
4 PB31233 1 ARM アーム FE
5 PM25965 1 PIN ピン FE
6 K5357X 1 SCREW, HEX SOCKET COUNTERSUNK 小ネジ 六角穴皿 M03X008(3カ シロ) FE
8 PM04075 1 PIN, PIVOT ピン 支点 FE
9 W1007A 1 WASHER ワッシャ WW-16 ウェーブワッシャ OT
10 K64283 1 SCREW, HEX SOCKET COUNTERSUNK 小ネジ 六角穴皿 M04X008(3カシロ) FE
11 PB32393 1 RETAINER, REEL 押え リール FE
13 K53579 2 SCREW, HEX SOCKET COUNTERSUNK 小ネジ 六角穴皿 M03X010(3カ シロ) FE
14 N10793 2 NUT, HEX ナット 六角 M03 P=0.5(3カシロ) FE
15 PM63923 1 SLIDER スライダ FE
16 PJ02703 2 STOPPER ストッパ OT
17 PJ02145 1 BKT, HOLDER BKT ホルダ PL
18 N1079B 2 NUT, HEX ナット 六角 M04 P=0.7 1シュ(3カシロ) FE
21 2MDLFA159400 2 BOLT ボルト OT
22 PX09121 2 SEAL, BAR CODE シール バーコード OT W08c, unit serial number
23 2MDLFA067400 2 SEAL, BAR CODE シール バーコード OT W08f, unit serial number
39
PTS-FIFEEDER-13JE