文档中心
/
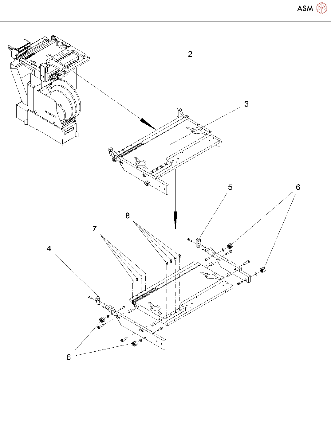
Retrofit Kit WPC4_20211122_075534
Retrofit Kit WPC4_20211122_075534
Retrofit Kit WPC4 Page 1 / 13 22.11.2021
目录
100%
显示:宽度
宽度
1 / 13
回到旧版
旧版
?
Retrofit Kit WPC4
Page 1 / 13
22.11.2021
Retrofit Kit WPC4
Page 2 / 13
22.11.2021
Retrofit Kit WPC4
Page 3 / 13
22.11.2021
该页面需要启用 JavaScript 才能进行交互式预览。