文档中心
/
Retrofit Kit WPC4_20211122_075534
Retrofit Kit WPC4_20211122_075534 - 第9页
Retrofit Kit WPC4 Page 9 / 13 22.11.2021
目录
100%
显示:宽度
宽度
1 / 13
回到旧版
旧版
?
Retrofit Kit WPC4
Page 8 / 13
22.11.2021
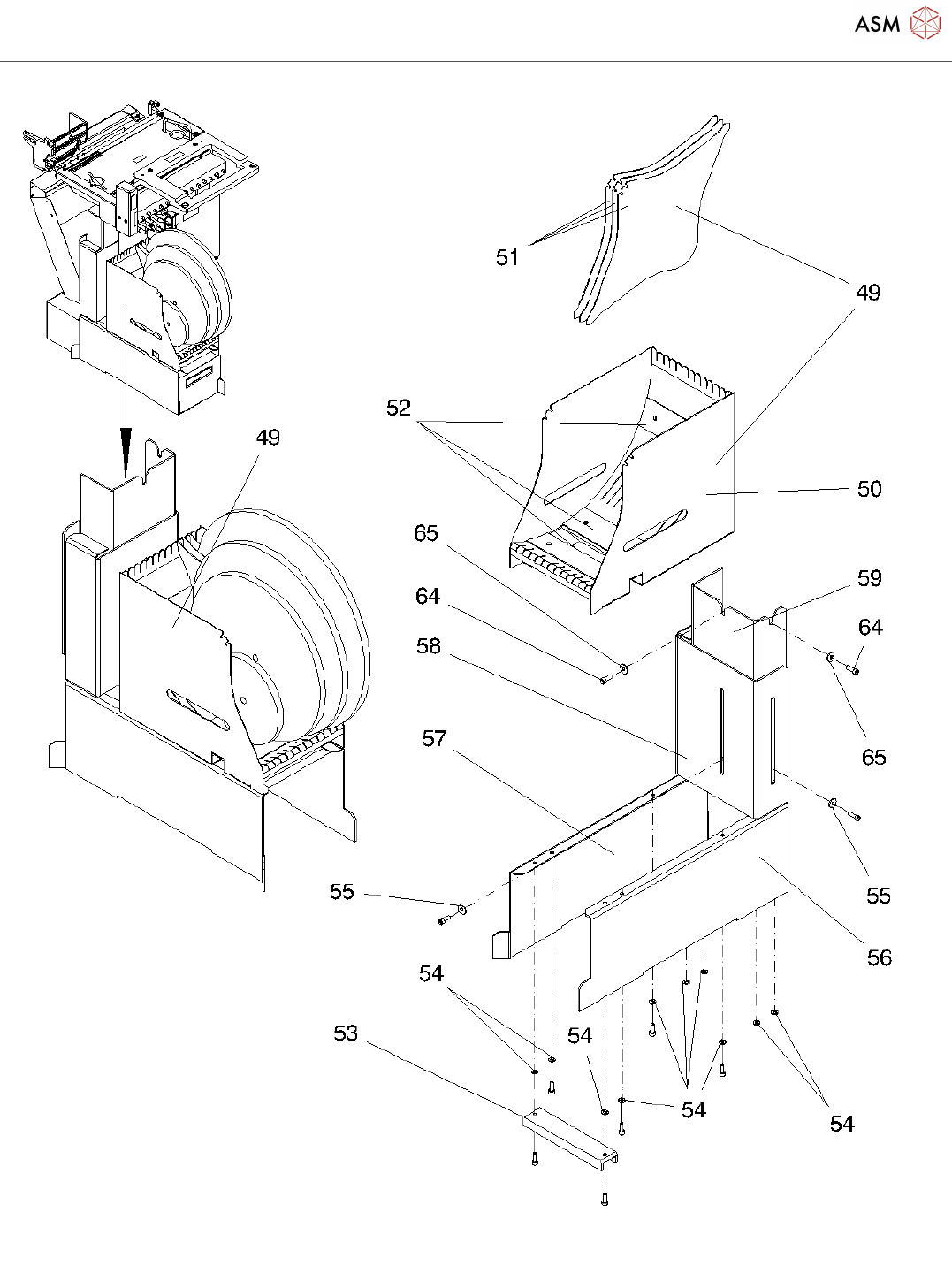
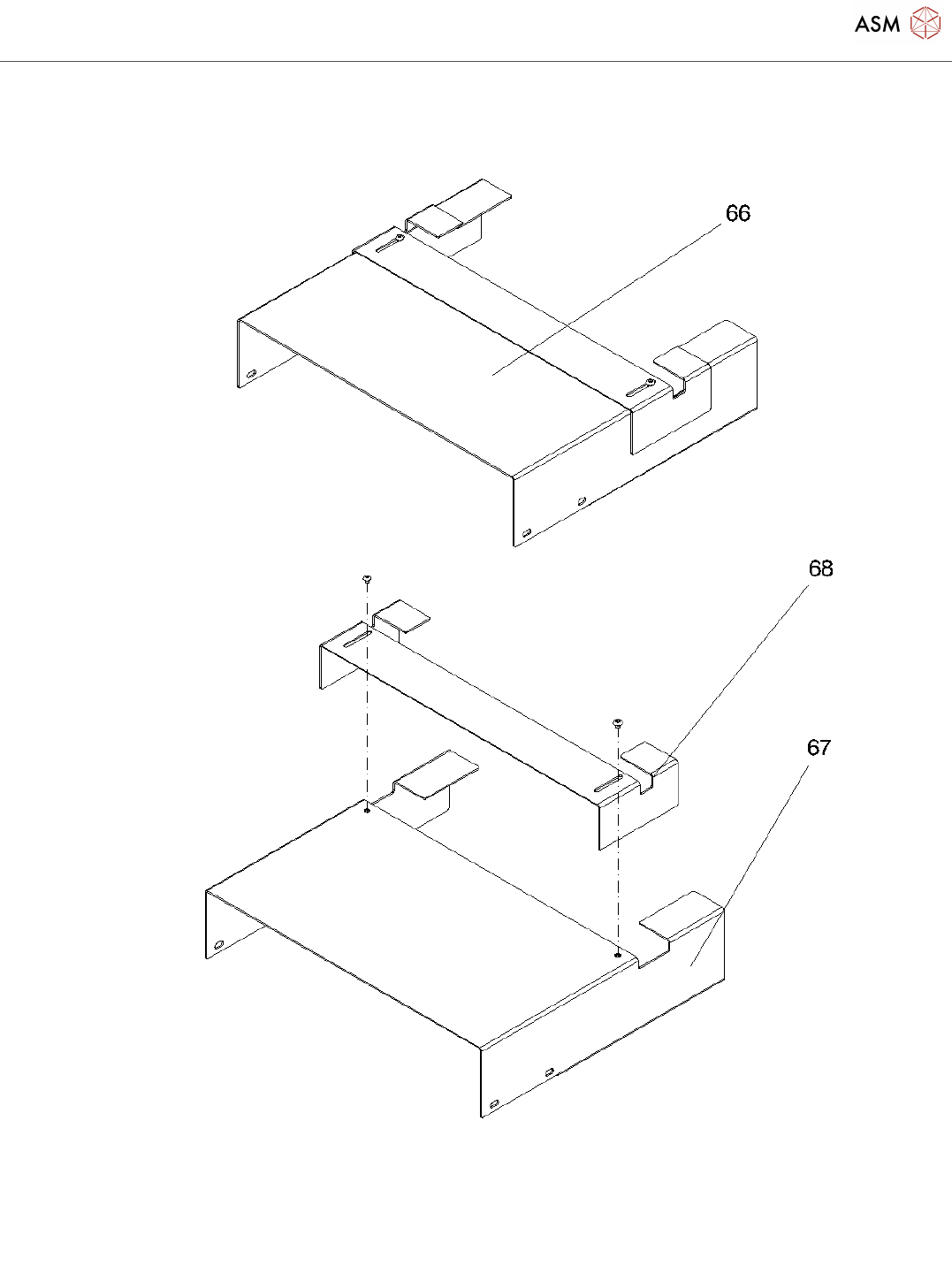
Retrofit Kit WPC4
Page 9 / 13
22.11.2021
Retrofit Kit WPC4
Page 10 / 13
22.11.2021
该页面需要启用 JavaScript 才能进行交互式预览。